规划验收流程图符合规划规定符合规划指标建设单位申请收件、受理责任单位:项目科联系电话不符合规划指标进入行政处分程序责任单位:规划中...
深圳市尊泰自动化设备有限公司仓储作业流程供应商/委外dgt 商送货采购接洽IQC 鉴定退 货特 采允 收拒 收退 货品质 采购 PMC入 库...
试剂试剂 VITROS 5600 全自动生化免疫分析仪流程图1、开机2、试剂装载(1)装载试剂(2)装载通用洗液和清空废液(3)电解质参比液及免...
患者出院流程图办法二办法一医生下出院医嘱主班护士解决医嘱、确认费用已统计完毕告知责任护士护士为您进行出院宣传教育复印病历请您阅读右...
工资核算工作流程图工资核算工作流程图 人事部经理(审核签字)工资核算会计编制记帐凭证人事部经办人员开出动态告知书月末编制凭证并结转...
建设工程施工现场备案流程图 300 平方米(含)下列的室内装修工程施工现场备案流程图上 单位登录模块施工单位的正当身份证明和资质等级...
Ipqc 不合格品解决流程图审核: 编制:注:1、对于重要和核心项,分厂技术员和检查员只有判废的权利;2、对占班产 10%下列且为普通项不合...
1 请输入标题请输入文本内容以丰富你的主题,请输入文本内容以丰富你的主题,请输入文本内容。2 请输入标题请输入文本内容以丰富你的主题...
防止接种流程图候诊室预诊室接种室留观室健康教育、候诊咨询、问诊、预约、登记、家长签字疫苗接种、登记疫苗有关栏目、实施接种者签字接种...
电 梯 维 修 流 程 图Last revision on 21 December 电梯故障维修流程图接报电梯故障或巡逻发现故障困人故障或重大故障理解困人...
技术支持、售后服务岗位职责 1. 服从分派、听从指挥,并严格恪守公司的各项规章制度和有关定。 2. 负责项目各设备的安装、调试及使用培...
内部控制,建设项目流程图一、工作环节示意图
钢构造无损检测流程图
办文流程图草拟文献中心负责人审核签名报分管领导审核签名依状况报重要领导签名向办公室取文号并盖章成文OA 电子印发给有关单位审批件和印...
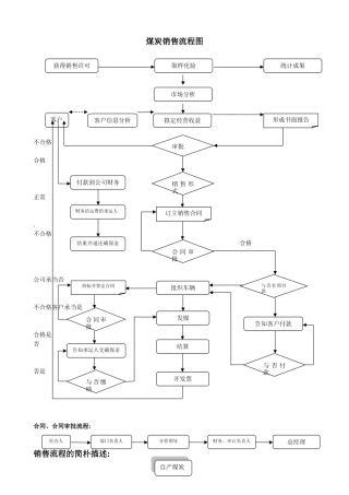
煤炭销售流程图不合格合格正常.不合格合格公司承当否不合格客户承当是合格是否否是合同、合同审批流程:销售流程的简朴描述:客户信息分析拟...
QC 工程图附件 1 文献编号:QLQC-01材料输入材料输出作业设备过程流程图指导文献检查频次及阐明原纸胶水三、五层瓦楞纸板自动五层纸板生...
患者一旦发生过敏性休克,立刻停药,就地急救,并快速报告医生立刻平卧,氧气吸入,注意保暖亲密观察患者意识,生命体征,尿量,及其它临床...
新品开发流程图合格商务部从新、老客户处接受能开发的新品商务部接受客户提供的图纸及样品,并转交给分公司经理分公司经理组织技术初评图纸...
收 集收集应当归档的文献齐全完整归 档 判断拟 定 时限分 类编制页码判断档案与否归档贴档号打印目录装盒排架电脑著录装 订根据归档...
取单:打单间窗口取单仓库工作流程配货:按照配货单清单规定进行配货待货清单放置待货区,并告知开单间,与采购沟通缺货清单放置缺货区,并...

