工程索赔解决工作程序流程图:施工承包单位提出索赔意向申请不成立口头向总监理工程师报告合约部与施工承包方协商谈判甲方与施工承包方不能...
检查工作流程图 ? ? ?样 品 来 源 业务室抽样业务室验收、登记、编号,下达样品解决和检测任务样品室样品解决副样入样品室正样检...
销售计划部生产车间 - 初加工切配热调理成品检查冷却分装下订单生产计划初加工完毕原料计划数据单合格品成 品冷 却 成品采购部采购原...
单位之间、个人之间、单位与个人之间发生的水事纠纷行政裁决流程图 相对人提出裁决申请。申报材料:1、当事人的基本状况;2、水事纠纷的发...
物业报修流程图护理员接受养员报修护理员电话告知物业办公室内勤,内勤具体统计报修内容、做好统计。填写维修单,下发工程部。工程部接到维...
1)货品清单终确认2)跟踪备货及发货进度,打内外装箱单时间:上线前 20 天1)凭 PO,到货预约2)退 货 信 息 交 接(地址、联系人...
单变量计量资料样本与总体比较正态大样本单样本 Z 检验小样本单样本 t 检验非正态Wilcoxon 符号秩和检验两样本比较非配对正态 & 方...
财 务 管 理 流 程 图经办人整顿票据填写报销凭证证明人验收签字分管领导审核签字财务审核局长审批会计核算中心报帐
妇产科产程解决流程图(加强产程观察及时发现并解决异常产程指导)1.0 第一产程观察流程图拟定临产产前待产统计统计开始每小时统计一次潜...
安全管理监理工作程序审查并订立现场安全技术签证文献审查承包单位提交的有关工序交接检查,分部分项工程检查报告审查新工艺、新技术、新材...
A ---- 进汽管(DN65) B----进水管/冷水管(DN80) C-----进水管/热水管(DN80)a1---- 疏水管(DN65) b2----排污管(DN108) C1---...
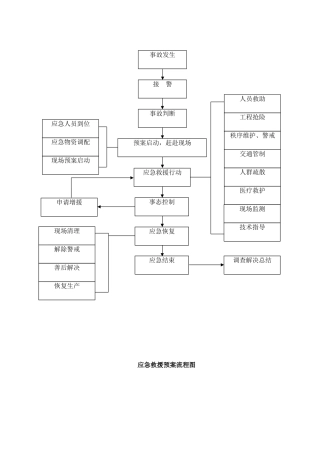
应急救援预案流程图交通管制秩序维护、警戒工程抢险人员救助技术指导现场监测医疗救护人群疏散调查解决总结恢复生产善后解决解除警戒现场清...
GSM 软件流程图Visio 画,visio 直接打开修改
妇幼保健院感染性疾病就诊流程图来院病人及陪伴人员预检分诊处测体温非发热、非感染性疾病病人普通门诊就诊排除传染病的病人留在医院指定地...
发热、腹泻病人预检分诊流程图门诊预检分诊处询问发热、腹泻病史及症状体征预检分诊点询问发热、腹泻史,有无外出或接触禽类史,测T,做好...
2025年绿色通道操作流程图
。 职业暴露解决流程图判断职业暴露的性质1、抗-HIV 阳性→请专家评定伤口暴露级别→决定与否用药→若需用药,尽量在 1 小时内服用→填...
是否打开冷却循环水阀门灭 菌 流 程 图启开工业蒸汽、压缩空气、纯化水、自来水、 RO 水阀门灭菌产品进柜关闭柜门打开电脑灭菌界面参...
外协加工解决流程图流程图部门/人员表单 计划员外协管理员(拟定加工单位,信息沟通)外协管理员外协经手人检查合格质检员在《送货单》上...
物 料 流 程 图采购单上必须注明订单编号、产品名称、数量(重量)、否则仓库拒收。 ---------------仓管人员在填写入库单后,及时备...

