检查完找医生进一步 医生 开诊 开单 处断 检查 方 大厅挂号各科门诊就诊 医生检查 诊疗专家门诊 2 楼外科门诊 2 楼内科门诊 ...
深圳市至冠冠美家含有限公司 KPI 运作流程图部门通用非核心指标接单展柜设计工艺设计打样采购排期生产排期生产制造产品配送终端安装交付...
房地产开发工作流程图 土地招标/拍卖信息投资机会分析订立出让合同,办理土地权证招标/拍卖获得土地使用权办理项目报建申领项目建议书填报...
新生儿复苏流程图大概耗时 出生后快速评定 30 秒否 自主呼吸 心率>100 或肤色红润呼吸暂停或 紫绀 心率<100 肤色红润 30 秒 ...
2流程图供 电 报 装委 托 供 电 咨 询 公 司( 供 电 局 客 服 方 案 科 ) 供 电 方 案 编 制委 托 设 计 ...
二次供水流程图 检查水源三相平衡电压检查水池与否满水检查供水管网进、出水管阀门在启动位置控制柜转换开关转至“自动”启动 1#变频泵正...
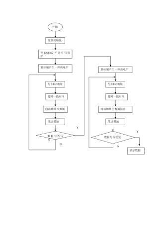
开始变量初始化使 DS1302 不 含 有 写 保护复位端产生一种高电平写 1302 地址延时一段时间向该地址写数据地址增加数据与否写完N复...
采购流程及有关阐明序号流程图有关阐明责任单位有关表单11. 物料需求部门根据本部门实际需求 临时或计划性采购。2. 申请单位要认真填写...
施工流程图 接受施工许可、三通一平等甲方前期资料施工准备(图纸会审、临时设施等)方案编制审批通过审批安全开工备案报审工程定位放样开...
收购广东华政工程流程图一、收购阶段3 、收购意向书6 、商务谈判5 、内部评审4 、律师和会计尽职调查8 、价格谈判9 、订立股权转让合...
流程图负责人流程阐明 生产任务单 NG NG 返工 (PASS)盖章生管 生管发出《生产任务单》至生产部,仓库依《BOM 表》备料或车间...
耳针法操作流程图 ← ↓ → ↓ ← ↓ → ↓ ← ↓ → ↓ ← ↓ → ↓ ← ↓ → 评定重要临床体现、既往史耳针取穴部位...
临 床 检 查解诊疗拟 定 治 疗目的拟 定 放 射源模 拟 治 疗计划拟 定 治 疗计划治疗计划模拟机下拍片或 CT 模拟制作病人...
调度室具体工作流程一、矿井监测1.亲密监视模拟盘多个数据变化状况2.发现气体超限及时告知井下各地点撤出人员3.向值班领导和主任报告4.告知...
5.1 突发事件危机解决流程图序号流程图责任部门负责人作业内容表单时间规定1有关部门现场人员公司出现重大人身及财物安全事故(火灾、台风...
急会诊科间会诊院内会诊院外会诊经治医师提出申请,填写会诊申请单电话告知总值班,由总值班告知有关科室人员经治医师将会诊单送致会诊科室...
档案归档整顿流程图判断文献与否归档根据归档范畴,慎决定文献去留拟定归档文献的保管期限精确客观按部门分类办法科学、合用,保持相对稳定...
下载后可任意编辑 试用转正工作流程图单位名称行政及人力资源部流程名称试用转正工作流程层 次3任务概要员工试用转正工作单位总经理分...
下载后可任意编辑预应力管桩施工工艺流程图预应力管桩施工工艺流程图----------------------------精品 word 文档 值得下载 值得拥有--...
下载后可任意编辑目 录一、光面爆破施工及流程图....................................................................2二、超前大管棚...

