《信息管理系统》辅导数据流图例题解析例题:请根据以下描述画出系统的数据流图。该子系统共有三个加工:(1)首先是“建立订货合同台帐”...
1.收文流程收文流程收文流程办公室文员办公室主任总经理分管领导及处理重要文件一般文件2.发文流程发文流程发文流程办公室文员办公室主任总...
第1页共18页编号:时间:2021年x月x日书山有路勤为径,学海无涯苦作舟页码:第1页共18页流程目录工程部工程管理流程编制说明…………………...
第1页共4页招标代理合同签订后5日内,招标代理机构应持代理合同和有关资料到项目所在地工程招投标监管机构备案。获取招标项目信息投标人按...
第1页共8页编号:时间:2021年x月x日书山有路勤为径,学海无涯苦作舟页码:第1页共8页山东财政学院固定资产管理流程图说明该固定资产管理信...
第1页共1页编号:时间:2021年x月x日书山有路勤为径,学海无涯苦作舟页码:第1页共1页5.1客户渠道管理流程图
第1页共1页编号:时间:2021年x月x日书山有路勤为径,学海无涯苦作舟页码:第1页共1页6.1客户促销管理流程图
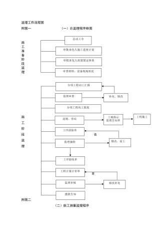
第1页共49页编号:时间:2021年x月x日书山有路勤为径,学海无涯苦作舟页码:第1页共49页蚀膄膀莇袃羇膆莆羅节蒄莆蚄肅莀莅螇芀芆莄衿肃膂莃...
第1页共14页编号:时间:2021年x月x日书山有路勤为径,学海无涯苦作舟页码:第1页共14页居泰隆分公司网站建设相关规定(草拟)为了更有效的...
房地产工程部工作流程图工程部工作业务流程工程测绘工作业务流程行政、方案部门下达测绘方案并下发相关土地资料工程部签发联络单给部部并订...
安全生产监督管理局安全生产许可证初审流程图不符合申报条件,通知申报单位生产单位向管区安监局提交《安全生产许可证条例》第六条规定的相...
实木余料实木烘干实木余料断料指接拼板带锯纵锯平压刨定长定宽家具营销操作实务(流程图)1.纯实木家具生产工艺流程2.拼板打磨裁准线锯钻孔...
大宗商品电子交易模式第一种:卖方挂牌卖方挂牌是指在本市场内卖方将其自有或未来拥有的商品详细情况录入交易系统,确认后发布挂牌要约,买...
“征缴工伤保险费”流程图参保企业带营业执照副本,确定相应费率,并进行工伤保险登记;携带参保职工工资表,确定相应工资总额。填报参保职...
当前文文件修改密码:8362839更多数据请访问精品数据网(.....)销售工作流程图接待客户流程图签认购书流程图签买卖合同流程交楼发信流程...
第1页共32页制定规划党政会讨论校务会议教代会审定全体教职工总结报告党政会议讨论校务会议教代会审定全体教职工决策党政会讨论校务会议教...
第11页共18页编号:时间:2021年x月x日书山有路勤为径,学海无涯苦作舟页码:第11页共18页当前文文件修改密码:8362839更多数据请访问...
企业业务运作流程图及说明书目录封面...................................................................................................
县发改委、规划建设局、城投公司提出年度计划附件:城市建设重点工程管理工作流程图参与监督监理质量、安全监督报“四带”建设指挥部或城市...
微震爆破施工工艺流程图施工设计图施工设计图施工准备:确定总体施工方案、装备劳动力、机械材料确定开挖:开挖断面形式、支护类型、开挖、...

