电脑桌面
添加小米粒文库到电脑桌面
安装后可以在桌面快捷访问

数据流程图例题VIP免费

数据流程图例题_第1页
1/7
数据流程图例题_第2页
2/7
数据流程图例题_第3页
3/7
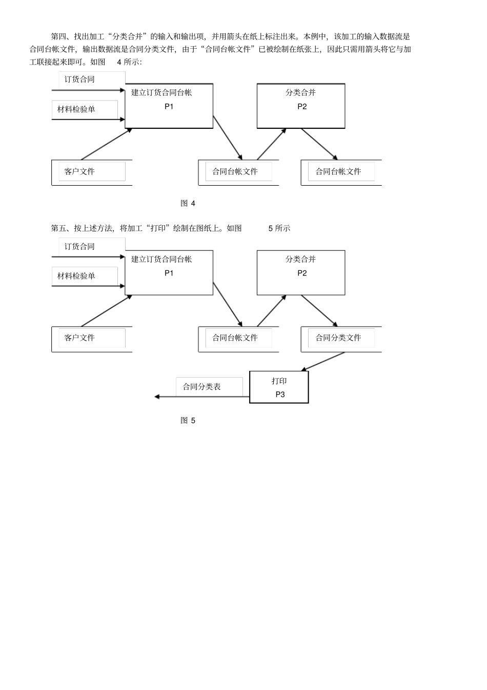
《信息管理系统》辅导数据流图例题解析例题:请根据以下描述画出系统的数据流图。该子系统共有三个加工:(1)首先是“建立订货合同台帐”:从订货合同、材料检验单和客户文件输入数据、输出形成合同台帐文件;(2)然后是“分类合并”:从合同台帐文件输入数据,排序合并后形成合同分类文件,最后“打印”加工单元从合同分类文件打印出合同分类表。解析:本题是一道丰富典型的应用题,要求学习根据文字描述画出数据流图,这种题型在《信息管理系统》课程考试中经常出现,必须熟练掌握。为了解答这个例题,我们先回顾一下这三项内容:1、什么是数据流图;2、它有哪些基本符号;所谓数据流图(DataFlowDiagram,简称DFD)是一种分析系统数据流程的图形工具。它摆脱了系统的物理内容,精确地在逻辑上描述系统的功能、输入、输出和数据存储等,是系统逻辑模型的重要组成部分。一般由数据流、加工、文件和数据源或终点四项组成(可参照教材图7-9)。那么如何绘制数据流图呢?以本题为例进行说明:首先我们可根据例题中的描述在纸上画出第一个加工“建立订货合同台帐”,如图1所示:图1其次,分析这个加工的输出、输入数据流。根据题意可知,该加工的输出是合同台帐文件、而为完成该项输出,必须有三项输入,即订货合同、材料检验单、客户文件。据此可绘制出如图2所示的图形:图2此时应注意两点:第一要对加工进行编号。本例中,我们将加工“建立订货合同台帐”编号为P1;第二要判断输入、输出项是一般的数据流、还是文件存储。如果是文件存储(比如客户文件、合同台帐文件)则需要用右边开口的方框表示,同时表示数据流的箭头上的文字可省略。第三、将加工“分类合并”画在纸上,如图3所示图3建立订货合同台帐建立订货合同台帐P1订货合同材料检验单客户文件合同台帐文件建立订货合同台帐P1订货合同材料检验单客户文件合同台帐文件分类合并P2第四、找出加工“分类合并”的输入和输出项,并用箭头在纸上标注出来。本例中,该加工的输入数据流是合同台帐文件,输出数据流是合同分类文件,由于“合同台帐文件”已被绘制在纸张上,因此只需用箭头将它与加工联接起来即可。如图4所示:图4第五、按上述方法,将加工“打印”绘制在图纸上。如图5所示图5建立订货合同台帐P1订货合同材料检验单客户文件合同台帐文件分类合并P2合同台帐文件建立订货合同台帐P1订货合同材料检验单客户文件合同台帐文件分类合并P2合同分类文件打印P3合同分类表数据流图综合练习题1.请根据以下描述画出某库存管理系统的数据流图。该系统的数据流程描述如下:(1)首先,根据计划部门转来的收货通知单,和已存在的物资编码文件,建立物资采购单流水账;(2)然后,根据技术部门的物资验收报告和物资采购单流水账,更新物资台账文件;(3)最后,对物资台账分类汇总,将结果存储于物资总账文件中。参考答案:2.请根据以下描述画出系统的数据流图。该子系统共有三个加工,(1)首先,根据生产计划、库存台账文件编制采购计划,建立采购计划文件;(2)其次,根据订货合同、采购计划文件,建立合同台帐文件;(3)最后,根据合同分类文件打印合同分类表。参考答案:物资验收报告建立P1收货通知单F2:物资采购单流水账更新P2F3:物资台账文件汇总P3F4:物资总账文件计划部门技术部门F1:物资编码文件图.1订货合同编制采购计划P1生产计划F2:采购计划文件建立合同台账P2F3:合同台账文件打印P3合同分类表F3:库存台账文件图23.请根据以下业务流程描述,画出某物资管理系统的数据流图。该系统的业务流程描述如下:(1)生产车间向物资部提出物资需用计划,物资部计划人员根据库存台帐,编制物资采购计划;(2)采购人员根据物资采购计划,以及供货商报价单,编制合同台帐;(3)采购的物资到货后,库存管理人员根据技术科提供的验收报告,以及合同台帐,进行物资入库处理,并更新库存台帐。参考答案:4.请根据以下描述画出某设备管理系统的数据流图。该系统的数据流程描述如下:(1)首先,根据技术科的验收报告,建立设备台帐;(2)然后,根据技术科的设备检修记录,更新设备台帐;(3)最后,对设备台帐分类汇总,打印输...

1、当您付费下载文档后,您只拥有了使用权限,并不意味着购买了版权,文档只能用于自身使用,不得用于其他商业用途(如 [转卖]进行直接盈利或[编辑后售卖]进行间接盈利)。
2、本站所有内容均由合作方或网友上传,本站不对文档的完整性、权威性及其观点立场正确性做任何保证或承诺!文档内容仅供研究参考,付费前请自行鉴别。
3、如文档内容存在违规,或者侵犯商业秘密、侵犯著作权等,请点击“违规举报”。

碎片内容

数据流程图例题

您可能关注的文档

确认删除?
VIP
微信客服
  • 扫码咨询
会员Q群
  • 会员专属群点击这里加入QQ群
客服邮箱
回到顶部