中医科医疗质量管理方案一:医疗质量管理目标医疗质量是医院发展之本,更是各个科室的生存之本,优质的医疗质量必然产生良好的社会效益和经...
工程质量管理及保障措施为强化工程实施质量管理工作,弥补质量检查管理缺失缺陷,落实工程管理体系,进一步提高公司项目工程质量,降低项目...
下载后可任意编辑科室服务质量管理方案背景医疗服务质量是医院与科室持续进展和提升的核心。科室服务质量是医院服务质量的重要组成部分,是...
北京昆泰国际中心工程技术质量策划一、工程概况:1、工程简介:北京昆泰国际中心工程位于朝阳区朝阳门外大街南侧,东临神路街,西临日 2 ...
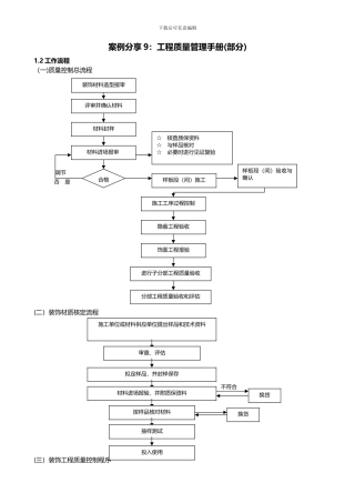
合格下载后可任意编辑案例分享 9:工程质量管理手册(部分)1.2 工作流程(一)质量控制总流程调节 否 是 (二)装饰材质核定流程(三)装...
专业整理2016 年外二科三季度医院感染管理持续改进一、工作计划(P):根据二级医院等级评审要求,进一步规范手卫生管理,提高医务人员职...
下载后可任意编辑农业保险质量管理方案背景农业保险是农民的一道保险,是保障农业生产安全的重要组成部分。随着国家农业产业的快速进展,需...
XXXX 信息科技有限公司软件系统开发立项书XXXX分析软件 软件项目负 责 人立项时间软件系统开发立项书 1 引言 1.1 编写目标 为了保...
医疗质量管理与持续改进方案及质量考核标准重症监护室一、质量管理相关目标及相关评价指标(一)质量管理相关目标1.重症监护病房布局合理,...
EPC 项目质量管理要点一、工程质量管理体系我单位将在总包项目经理部下设工程部、技术部、质量管理部和材料设备部,全面负责该工程的质量...
质量管理措施根据招标文件我们编制了一份完整、目标明确的《质量管理方案》,建立健全质量控制机构,明确各方职责。并按照工程质量目标,编...
8 个小故事讲透质量管理! 们才有可能知道自己的长处与不足 ,然后扬质量管理 是公司生产管理环节中的重要组成部分,其重要作用众所周知...
2020 年上半年眼科安全质量管理持续改进工作总结安全生产是一个科室生存发展的根本,是一个科室水平高低体现,安全生产管理是科室质量的一...
—1—1. 质量职责1.1 质量管理组织机构及质量管理职责1.1.1 质量管理组织机构(见下图)1.1.2 质量管理职责为确保工程质量目标的实现,...
下载后可任意编辑全员质量管理方案前言质量是企业的生命线,全面推动质量管理是提高企业核心竞争力和可持续进展的重要保证。为了确保我企业...
下载后可任意编辑企业质量管理方案企业质量管理方案是指企业根据自身特点和规模制定的一系列措施,以保证产品或服务达到客户和市场的要求,...
2018 质量管理提升活动实施方案一、指导思想本次活动以“提高质量管理意识,加强过程质量管控,保证公司质量信誉,认真贯彻公司质量方针”...
平昌县中医医院2018 年护理质量管理实施方案根据《三级乙等中医医院评审》标准、《四川省护理质量评价标准》和 2018 年护理工作计划及护...
医疗质量管理控制方案、考核体系及管理流程医疗质量是医院发展之本,优质的医疗质量必然产生良好的社会效益和经济效益。为提升我院的医疗质...
医疗器械经营企业 GSP 认证管理制度第 1 页 共 69 页医疗器械经营质量管理制度目录1. 质量管理机构(质量管理人员)职责2. 质量管...

