安全生产费用管理制度(试行)第一章 总 则第一条 为保障山西省长治到临汾高速公路(以下简称“长临高速”)建设项目顺利实施,保证施工...
安 全 生 产 费 用 管 理 办 法一、总则安全生产费用是指企业根据规定标准提取, 在成本中列支,专门用于完善和改进企业安全生产...
费用报销制度第一章总则 第一条:为了加强公司内部管理,法律规范公司财务报销行为,合理控制费用支出,特制定本制度。 第二条 费用报销...
绿化养护费用详细计算清单(一)基本费用: 1、浇水费用:以每平米每年有水 1t 计,水费(加排污费)2。5 元/t,则每㎡浇水费用为:1*2.5...
费用预算表拍摄时间安排: 编号:拍摄影片项目名称拍摄日期星期拍摄地点摄制组集合时间抵达时间客户方联系负责人联系电话拍摄内容:摄制组...
费用支出报销单据流程法律规范第一条 报销单据1.借支单:1)员工个人需借支,均需填写《借支单》;2)借支人必须在《借支单》详细注明借支人...
投资监理(造价咨询)方案及费用一、投控方案根据本项目情况,综合市场主流形式,拟对本项目采纳四个阶段的投资控制.即,前期阶段、工程准备...
湖南正清制药集团股份有限公司文件 签发人:吴飞驰技术开发项目及费用管理办法2024 年 4 月 21 日发布 2024 年 4 月 22 日实施...
建设工程扬尘污染防治费用预算明细表工程名称:宏瑞•宏祥园住宅小区 21#楼序号项 目 名 称费用(元)1现场封闭围挡920002场内主要施...
附表 1:建设工程施工扬尘污染防治措施费用计算表序号项目名称计算基础率费(%)备注房建(建筑、装饰、安装) 市政、轨道交通、园林1施工...
房屋维修费用明细表一、地面砖:48 平方米*105 元/平方米=5040 元;二、地面砖施工及辅料:48 平方米*38 元/平方米=1824 元;三、地面...
房地产经纪(中介)公司注册流程及费用2024 年春节刚过,上海的房价就像脱了缰的野马,一路狂奔,一觉醒来可能房价又涨了几十万,总有中介告...
销售费用类采购管理制度为维护公司权益,节约营销推广销售,贯彻执行集团的利润率战略,根据销售费用类采购的特性,集团项目管理中心销售管...
房地产公司销售费用一、房地产公司销售费用内容:销售前期费、销售推广费、合同交易费等、销售代理费和其他费用。单独设立销售机构的销售机...
成本费用类合同(一)、关于合同价款的约定:合同中需做价税分离的约定:1、合同含税总价(或暂定含税总价)为大写(人民币,下同) 圆整(...
江苏苏南重工机械科技有限公司成本(费用)管理办法(草案)一、总则1.目的为加强公司各项成本(费用)的控制,建立健全有效的成本(费用)...
成本费用预算管理制度第 1 章 总则第 1 条 目的为了编制法律规范、合理、执行性强的成本费用预算,优化成本费用预算的审核、审批程序...
号项目数量单价金额说明(计算公式、标准)一清洁卫生成本1员工工资 2工资附加费 3劳动保护费 4午餐补贴 5员工工装 6垃圾排运费7垃圾排...
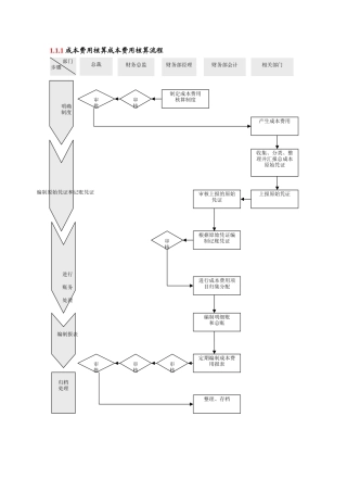
1.1.1 成本费用核算成本费用核算流程 部门步骤总裁归档处理明确制度进行账务处理相关部门财务总监制定成本费用核算制度审批财务部经理编...
1 目的及原则为了优化项目成本结构,提高成本意识,更准确客观的反映项目运营效益,便于项目成本管理,特制定本办法。2 适用范围本办法适...

