肂乙肝与丙肝 哪个危害更大螈 羇 什么是丙肝?羆 丙型病毒性肝炎,简称为丙型肝炎、丙肝,是一种由丙型肝炎病毒感染引起的病毒性肝炎,...
HIV 职业暴露的处理 首先说明,这是一个非常严肃且须深化了解的问题!一、艾滋病病毒职业暴露的分级1、发生以下情形时,确定为一级暴露:...
肂乙肝与丙肝 哪个危害更大螈 羇什么是丙肝?羆丙型病毒性肝炎,简称为丙型肝炎、丙肝,是一种由丙型肝炎病毒感染引起的病毒性肝炎,丙肝...
丙肝抗病毒治疗进展及临床应用考试返回上一级单选题(共 10 题,每题 10 分)1 . 中国 HC V感染具有多种基因型,其中哪种基因型旳...
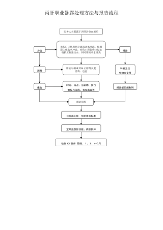
丙肝职业暴露处理方法与报告流程医务人员暴露于丙肝污染血液后无伤口皮肤用肥皂液流动水冲洗,粘膜用生理盐水冲洗,有伤口捏住伤口近心端挤...
丙型肝炎的基础知识主持人:关爱生命,关注健康。欢迎收看节目。观众朋友们,大家好,今日我们邀请到无锡市第五人民医院肝病科的张波主任、...
HIV 职业暴露的处理首先说明,这是一个非常严肃且须深入了解的问题!一、艾滋病病毒职业暴露的分级1、发生以下情形时,确定为一级暴露:(...
HIV 职业暴露的处理 首先说明,这是一个非常严肃且须深入了解的问题!一、艾滋病病毒职业暴露的分级1、发生以下情形时,确定为一级暴露:...
精品文档---下载后可任意编辑丙肝合剂联合干扰素、利巴韦林治疗丙肝肝硬化代偿期的临床观察的开题报告题目:丙肝合剂联合干扰素、利巴韦林...
精品文档---下载后可任意编辑丙肝病毒阳性病人 Notch 信号分子和相关因子在单个核细胞及血清中的水平的开题报告背景丙型肝炎是一种由丙型...
精品文档---下载后可任意编辑IL28B 单核苷酸多态性和慢性丙肝标准方案获持续病毒应答关系的荟萃分析的开题报告一、讨论背景及意义丙肝是一...
精品文档---下载后可任意编辑HCV 复制子用于抗丙肝中药的筛选及组方的开题报告题目:HCV 复制子用于抗丙肝中药的筛选及组方的开题报告背...
精品文档---下载后可任意编辑ARFGAP1 参加丙肝病毒复制的讨论的开题报告一、讨论背景和意义丙肝病毒(HCV)是一种由 RNA 组成的病毒,可...
丙肝综合防治示范点工作方案
1丙肝知识手册谷丙转氨酶正常值丙谷转氨酶高谷丙转氨酶丙型肝炎(Hepatitis C)丙肝是什么?丙肝病毒(HCV)是一种感染肝脏的病毒。肝炎(Hepati...
丙肝抗病毒DAA 介绍 中国丙肝病毒基因分型:GT1b(56.8%),GT2(24.1%),GT3(9.1%),GT6(6.3%),未见4 型和5 型,海南省以GT6a和GT...
下载后可任意编辑丙肝抗病毒治疗进展及临床应用考试返回上一级单选题(共 10 题,每题 1 0 分)1 . 中国 HCV 感染具有多种基因型,...
下载后可任意编辑抗丙肝药物_HCV-RNA 抗-HCV 和 ALT 联合检测在丙肝中诊断的应用抗丙肝药物_HCV-RNA 抗-HCV 和 ALT 联合检测在丙肝...
丙肝乙肝培训试题 科室: 姓名: 成绩: 一、选择题(每题2.5分,共 75分) 1. HBV的核酸类型为( ) A.单正链 RNA B.单负链 R...
丙肝的预防措施导读:本文是关于丙肝的预防措施,希望能帮助到您!丙肝的预防措施1. 加强对献血员和器官移植供者的抗-HCV 筛查,所有献血...

