电脑桌面
添加小米粒文库到电脑桌面
安装后可以在桌面快捷访问

丙肝职业暴露处理方法与报告流程

丙肝职业暴露处理方法与报告流程_第1页
1/1
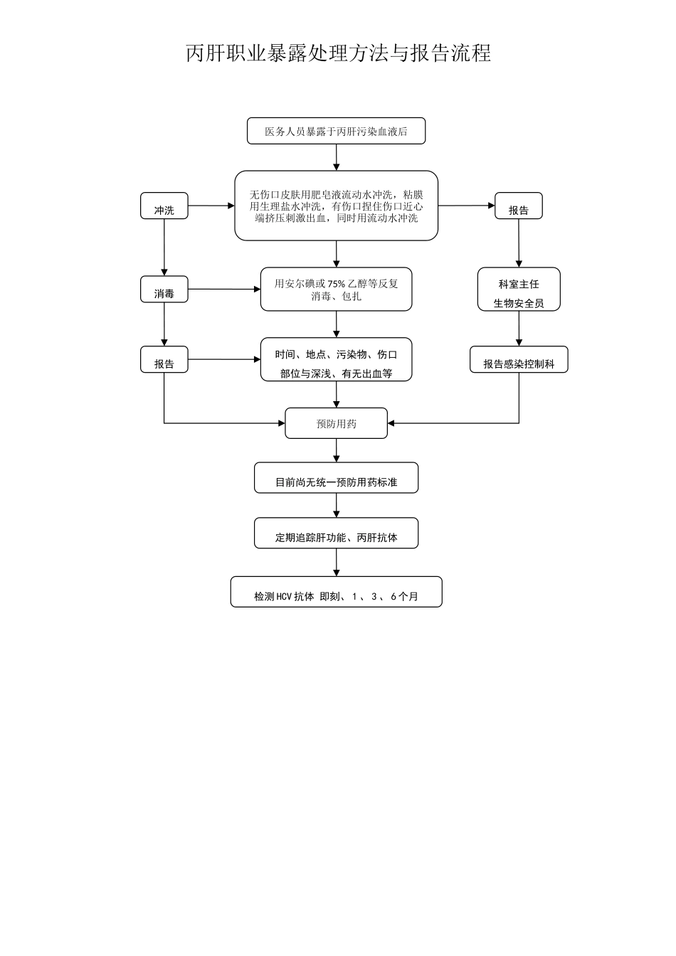
丙肝职业暴露处理方法与报告流程医务人员暴露于丙肝污染血液后无伤口皮肤用肥皂液流动水冲洗,粘膜用生理盐水冲洗,有伤口捏住伤口近心端挤压刺激出血,同时用流动水冲洗预防用药用安尔碘或 75% 乙醇等反复消毒、包扎时间、地点、污染物、伤口部位与深浅、有无出血等冲洗报告消毒科室主任生物安全员报告报告感染控制科目前尚无统一预防用药标准定期追踪肝功能、丙肝抗体检测 HCV 抗体 即刻、 1 、 3 、 6 个月

1、当您付费下载文档后,您只拥有了使用权限,并不意味着购买了版权,文档只能用于自身使用,不得用于其他商业用途(如 [转卖]进行直接盈利或[编辑后售卖]进行间接盈利)。
2、本站所有内容均由合作方或网友上传,本站不对文档的完整性、权威性及其观点立场正确性做任何保证或承诺!文档内容仅供研究参考,付费前请自行鉴别。
3、如文档内容存在违规,或者侵犯商业秘密、侵犯著作权等,请点击“违规举报”。

碎片内容

丙肝职业暴露处理方法与报告流程

您可能关注的文档

确认删除?
VIP
微信客服
  • 扫码咨询
会员Q群
  • 会员专属群点击这里加入QQ群
客服邮箱
回到顶部