下载后可任意编辑院前急救工作流程一、各急救单元(车组)所有人员必须提前 15 分钟到岗进行交接班。二、各急救单元(车组)必须服从 12...
下载后可任意编辑院前急救与院内抢救有效衔接工作制度为保障我院院前急救与院内急诊之间“绿色通道”的有效衔接,根据卫生部有关文献精神并...
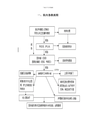
下载后可任意编辑一、院内急救流程下载后可任意编辑二、院外应急救援流程下载后可任意编辑三、群体突发事件救治流程1、大批创伤患者抢救流...
创伤患者的现场急救和护理院前急救是急诊医疗体系的重要组成部分,对突发事件现场抢救危重伤员非常重要,严重创伤患者的最佳抢救时间是在最...
下载后可任意编辑火场中烧伤的急救火灾是一种极为危险和容易引发重伤的自然灾害。在火灾发生时,人们很可能会遭受烧伤等各种严重损害。烧伤...
下载后可任意编辑有限公司分公司急救应用手册1XX 有限公司 XX 分公司急救应用手册核准: 编制: 06 月 10 日发布 06 月 15 日实...
仅供参考 [整理 ] 第 1 页 共 5 页安全管理文书盐酸灼伤急救措施日期: __________________单位: __________________仅供参考 ...
实用精品文献资料分享用药和急救导学案生 物 八年 级 下 模 板 式 导 学 案 15 学校 联中 科目 生物 课题 第二章用药和急...
word 格式整理参考资料学习帮手第二章用药和急救达标测试题 A卷一、选择题1、“是药三分毒”这句话的含义是A. 凡是药物都有一定的毒性或...
1 不全流产急救常规 不 全 流 产 指 难 免 流 产 继 续 发 展 , 部 分 妊 娠 物 排 除 体 外 。 一、诊断依据...
急救药物的作用和副作用 通用名 规格 作用 副作用 注意事项 1 尼可刹米注射液 1.5ml:0.375g 神经系统用药物。用于中枢性呼吸抑制...
71. A B C D 71.不属于短骨的是: A.钩骨 B.月骨 C.距骨 D.股骨 72. A B C D 72.脊柱的连接不包括: A.椎间盘 B.前纵韧带...
下载后可任意编辑二〇一八年七月护理安全、 急救、 应急预案、 核心制度试题科室: 姓名: 得分: 一、填空题: 每空 0.5 分, 共计 ...
下载后可任意编辑急救通则( Fist Aid) 一个需要进行抢救的病人或者可能需要抢救的患者第一步 紧急评估 : 推断患者有我危及生命的情况...
下载后可任意编辑急诊急救方案新12024 年 4 月 19 日绵阳市卫生局文件绵卫办发〔 〕749 号绵阳市卫生局关于印发《绵阳市乡镇卫生院...
现场急救试题汇编一、判断题1.心肺复苏术是对心跳、呼吸骤停所采用的最初紧急措施 。()2.当病人牙关紧闭不能张口或口腔有严重损伤者可...
DOC可编辑修改 --------为你整理各种最新最全办公范文--------双击可以删除爱心 ---用心 ---恒心现场急救试题汇编现场急救试题姓名:日...
编号: SM-ZD-27341 编制: ____________________ 审核: ____________________ 批准: ____________________ 现场急救知识培训Thr...
下载后可任意编辑常见急救技术急救技术在平常、 战时, 在病房、 手术室以及医院外的各种场合均可出现, 作为医护人员, 应掌握心跳呼吸...
下载后可任意编辑西吉县人民医院( 临床科主任) 工作记录手册科 别: 急救科 科主任: 张永田 时 间: 年下载后可任意编辑目录1.科主...

