乙肝病毒相关肝病患者肝移植后外周血单个核细胞及肝组织中乙型肝炎病毒cccDNA的检测
乙肝歧视问题心得体会不久前,作为乙肝病毒携带者的杭州青年雷闯,拿到了全国第一张从事食品行业的健康证。目前,他已正式成为上海交大化学...
乙肝免疫球蛋白管理制度一、用于乙肝母婴阻断的乙肝免疫球蛋白由财政拨专款、新生儿免费注射。二、助产机构要加强免费乙肝免疫球蛋白的管理...
乙肝、丙肝、梅毒、HIV..职业暴露后的应对方式在繁忙的医疗工作中,被针扎或接触到疑似感染者血液,是一件令人恐慌的事,接下来,我们具体...
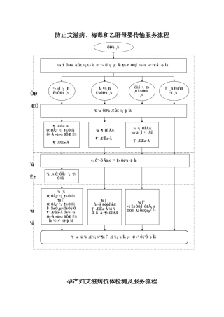
防止艾滋病、梅毒和乙肝母婴传输服务流程孕产妇艾滋病抗体检测及服务流程确认实验、CD4T淋巴细胞计数及病毒载量检测均在疾控中心进行。孕期...
乙肝的诊断标准及抗病毒治疗护理目录CONTENTS01乙肝的诊断标准乙肝病毒检测乙肝病毒标志物检测通过检测乙肝病毒标志物,如乙肝表面抗原(HB...
乙肝的中西医诊疗护理课件目录•乙肝概述•中医对乙肝认识与治疗原则•西医诊断方法与治疗进展•护理工作在乙肝诊疗中重要性•特殊人群乙肝...
ONEKEEPVIEW乙肝的母婴传播的阻断北京地坛医院课件•乙肝的母婴传播概述目录01PART乙肝的母婴传播概述乙肝母婴传播的途径010203宫内传播产...
01Chapter乙肝病毒的传播方式010203母婴传播血液传播性传播乙肝的症状和影响症状并发症乙肝的预防和治疗预防治疗乙肝治疗主要包括抗病毒药...
乙肝两半意分件•乙肝两半介•乙肝两半各指的•乙肝两半指异常的•乙肝两半与其他指的关•乙肝两半床用01乙肝两半介乙肝两对半的定义乙肝两...
乙肝健康宣传通用课件目录•乙肝基础知识•乙肝的诊断和治疗•乙肝的日常护理和保健•乙肝的社会认知和歧视问题•乙肝疫苗接种的重要性•Q&...
乙型肝炎防治知识讲座主讲人∶赵会元乙型肝炎是由乙型肝炎病毒(HBV)引起的,其传染源主要是急、慢性乙型肝炎患者和病毒携带者。急性患者...
乙肝表面抗原阳性孕产妇及其所生儿童的综合干预及管理苍溪县妇幼保健院•(一)乙型肝炎妊娠条件1、HBsAg携带者:基础检查正常,且一年内随...
乙肝两对半检查及乙型肝炎防治护理课件•乙肝两对半检查简介•乙肝两对半检查结果解读•乙型肝炎防治护理•乙肝两对半检查与乙型肝炎防治护...
乙肝防治知识乙型肝炎是由乙肝病毒(HBV)引起的、以肝脏炎性病变为主并可引起多器官损害的一种传染病。乙肝的流行情况及危害我国是世界乙肝...
乙肝的防治宣传资料什么是乙肝乙型病毒性肝炎,简称乙肝,是一种由乙型肝炎病毒(HBV)感染机体后所引起的疾病。乙型肝炎病毒是一种嗜肝病...
乙型肝炎科普知识一直想跟周围的朋友、咨询的患者好好聊一聊乙型肝炎的事。一年一度的员工体检工作即将在6月份开始,员工中谈“乙”色变。...
乙肝的传播途径和预防措施乙型肝炎是由乙型肝炎病毒(又称HBV)引起的,HBV存在于乙肝病人的血液、汗液、唾液、月经、乳汁及泪液等分泌物中...
乙肝的干扰素治疗方案荟萃分析表明,HBeAg阳性患者经普通干扰素α(普通IFNα)治疗4~6个月后,治疗组和未治疗组HBVDNA转阴率(杂交法)分别为3...
一、乙肝五项(两对半)简介及临床意义:(1)HBsAg(表面抗原)HBsAg是乙肝病毒的蛋白质外壳,HBsAg阳性是机体被HBV感染的标志,表明存在现...

