齐齐哈尔市雷昂重工机械公司厂房工程施工组织方案二 O 一 O 年七月一日齐市雷昂重工机械公司厂房工程施工组织设计目 录概述施工准备及...
物业中心副主任岗位说明书岗位名称物业中心副主任岗位编号710-4-01-03所在部门物业中心岗位定员1直接上级物业中心主任工资等级直接下级居委...
塔吊工和起重工安全技术操作规程[ 工程类精品文档 ] 本文内容极具参考价值 , 如若有用 , 请打赏支持 , 谢谢 ! 【学员问题】塔吊...
【 tips 】本文由李雪梅老师精心收编整理,同学们定要好好复习!塔吊工和起重工安全预防措施1、塔吊司机应受过专业训练,按有关部门规定...
仅供参考 [整理 ] 第 1 页 共 5 页安全管理文书塔吊工和起重工安全技术操作规程日期: __________________单位: ______________...
仅供参考 [整理 ] 第 1 页 共 6 页安全管理文书塔吊司机、起重工入场安全教育日期: __________________单位: ________________...
三一重工1机械制图新标准贯 标 培 训 三一重工2一、机械制图标准变化情况概述一、机械制图标准变化情况概述 1983∽19841983∽1984 年...
隆中重工高频脱水筛工作特性课件• 脱水筛概述• 隆中重工高频脱水筛的工作原理• 隆中重工高频脱水筛的工作特性• 隆中重工高频脱水筛...
工会文体干事岗位说明书岗位名称工会文体干事岗位编号710-01-15-03 所在部门工会办公室岗位定员1直接上级工会副主席工资等级直接下级无薪...
XXXXXXX 有限公司施 工 组 织 设 计工程名称: XXXXXXX 重工制造基地(一期)工程生产区工程 编制单位: XXXXXXX 有限公司 技...
隆中重工直线脱水筛在选煤工艺中的作用课件• 直线脱水筛概述• 隆中重工直线脱水筛介绍• 直线脱水筛在选煤工艺中的作用• 隆中重工直...
隆中重工高频振动脱水筛分类课件目录contents• 脱水筛概述• 脱水筛的分类• 脱水筛的选型与配置• 脱水筛的维护与保养01脱水筛概述01...
给我最大快乐的, 不是已懂的知识, 而是不断的学习 .zxxk ---- 高斯 昆 明 重 工 中 学Gonghanguang 你能找出常见的几何体吗...
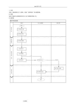
第四章管理规章制度和档案的建立与管理提要:建立专业化制度,严格管理 公众制度、内部管理岗位职责、员工考核制度及岗位工作标准、内...
重工集团煤矿与建设机械装备生产制造基地室外工程施工组织设计陕西第八建筑工程有限公司2012 年 10 月 25 日目 录第一篇 编制说明和...
机械标准件计划采购员岗位说明书岗位名称机械标准件计划采购员岗位编号710-1-11-10所在部门条件保障处岗位定员1直接上级条件保障处主管副处...
隆中重工高频脱水筛的系统组成课件目录CONTENTS•高频脱水筛概述•高频脱水筛系统组成•高频脱水筛工作原理•高频脱水筛的维护与保养•高频...
目录1概述⋯⋯⋯⋯⋯⋯⋯⋯⋯⋯⋯⋯⋯⋯⋯⋯⋯⋯⋯⋯⋯⋯⋯⋯⋯⋯⋯⋯⋯⋯⋯⋯42起重技术性能⋯⋯⋯⋯⋯⋯⋯⋯⋯⋯⋯⋯⋯⋯⋯⋯⋯⋯⋯⋯⋯...
初级安装起重工理论考试复习题一、填空题(请将正确答案填在横线空白处)1.在多人作业时,应由一人负责指挥。起重工应当熟悉各种()、()、()等...
金属材料计划采购员岗位说明书岗位名称计划采购员(金属材料)岗位编号710-1-11-03所在部门条件保障处岗位定员1直接上级条件保障处主管副处...

