产科责任护士岗位职责1. 同病区护士岗位职责。2.7:30 进病房,与夜班护士床头交接患者,全面熟悉和了解所管服务对象的情况。督促探陪人员...
产科责任护士岗位职责1. 同病区护士岗位职责。2.7:30 进病房,与夜班护士床头交接患者,全面熟悉和了解所管服务对象的情况。督促探陪人员...
产科护理交班流程为了法律规范交接班,产科制定交接班制度和相应的措施具体如下:(1)早班护士 7:40 到岗,做完分管的晨间护理,责任护士...
产科护士个人工作计划 【篇一】 2025 年下半年,一个新的起点,又一轮努力的新开始,我将结合科室的实际情况及护理部的要求,从以下的几...
产科护士培训计划第一年:目标:基本掌握基础护理,了解专科知识。 培训内容培训时间第一周第二周第三周第四周护理理论技能操作专科知识考...
产科护士各班工作流程一。早班护士工作流程:7:45—-—16:00 1。 7:45 接班,与大夜班交接在院病人情况,危重病人及特别病人、术后病人...
产科护士个人工作总结 产科护士个人〉工作总结 尊敬的各位领导: 你们好!转眼间,一年的时间又过去了,在这短短的一年时间里,我学到了...
常见急危重病人抢救流程图 病情较重 vfx¤36347 8DFB 跻 X28310 6E96 準高危孕产妇抢救流程记录(医生记录抢救病历)(护士记录抢救...
卫生学校产科技能考核标准妇产科教研组编2001 年 6 月骨盆外测量操作方法及评分标准总 分考核内容得分评分细则准备质量标准 10 分1....
常见急危重病人抢救流程图 病情较重 高危孕产妇抢救流程记录(医生记录抢救病历)(护士记录抢救项目清单)进一步抢救或收入病房抢救成功...
产科手术审批制度1、择期手术,必须经过全科病案讨论后由上级医师(本组主治医师或科主任)决定手术时间。手术前一天,经治医师按要求完成手...
产科急诊转诊绿色通道流程图急诊患者无主危重患者特急抢救患者普通急诊患者开设绿色通道询问病史根据抢救流程抢救生命体征平衡全面体格检查...
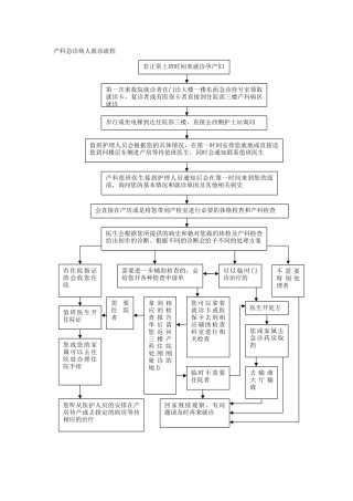
产科急诊病人就诊流程非正常上班时间来就诊孕产妇第一次来我院就诊者在门诊大楼一楼东面急诊挂号室领取就诊卡,复诊者或有医保卡者直接到住...
产科急救产后失血性休克抢救流程1.根据不同病因采纳相应措施:如子宫收缩不良应用宫缩剂、按摩子宫等.2。开放两条以上的静脉通路.3。组成抢...
产科急救演练工作小结为了提高我院产科医护人员对急危重症抢救的应急能力,结合 5.12 护士节技能操作培训,2025 年 5 月 12 日下午...
产科急救应急预案一、目的加强产科急救管理,有效控制孕产妇死亡率和婴儿死亡率,确保母婴安全。二、适用范围本预案适用于我院危重孕产妇的...
目 录1、产儿科合作制度………………………………………12、急救知识的培训制度……………………………………33、急危重症及死亡病例讨论...
目 录一、 孕产妇急救转运制度二、 高危孕产妇报告管理制度三、 急危重症孕产妇会诊合作制度四、 产儿科合作制度五、 急危重症及死亡...
产科急救中心产科技术、技能培训计划表 为了巩固产科医务人员基础理论,提高其诊疗、抢救能力,切实为孕产妇提供及时、有效的抢救措施,特...
产科急危重症的早期识别、处理一、产科急危重症的概念1、产科急危症是指健康孕妇在妊娠过程中可能发生的产科并发症,可分为产前、产时、产后...

