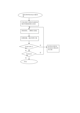
参加查房,了解病人情况收集依据,建议用药方案打电话给主管医生或者到病区咨询重症病人信息临床药师收到会诊通知单病 情 控制是回访否同...
麻醉科会诊制度普通会诊:1. 普通会诊由麻醉科总住院医师负责,于接到纸质会诊单后 24 小时内进行会诊,并详实记录会诊情况,给出会诊意...
康复科医师会诊制度为了切实贯彻医院有关会诊的管理规定,执行相关医疗制度和法规,提高医疗服务水平和质量,减少医疗纠纷,特制定康复医学...
外请专家会诊管理制度为法律规范外请专家会诊管理,更好地发挥外请专家作用,提高医疗水平,保障患者安全,根据卫生部《执业医师法》、《医...
会诊药师工作计划一、指导思想 坚持以科学进展观为指导,以病人为中心,以提高医疗服务质量为主题,把维护群众利益,保证医疗质量和医疗平...
文案大全门诊多学科会诊中心制度―、会诊对象、一般情况下,门诊病人已经就诊个专科或在一个专科就诊次以上尚未明确诊断者。、门诊病人所患...
社区卫生服务中心会诊制度 门诊疑难病会诊中心制度 1.门诊导医台凡遇疑难病例,应当及时告知患者申请会诊。 2.单病种会诊。由门诊部疑难...
精品文档---下载后可任意编辑科间会诊制度及流程1.会诊的提出: (1)涉及其他学科的诊治问题,在本学科无法解决的病例,可提出科间会诊...
护理查房制度 护理查房应充分体现“以病人为中心”的原则,按照护理程序的步骤进行,做好查房记录。 (一)护理查房各类:护理查房包括管...
护理会诊制度考题 一、判断题(7 题) 1、凡属复杂、疑难或跨科室和专业的护理问题和护理操作技术,均可申请护理会诊。(对 ) 需进行...
护理会诊制度 为了解决临床疑难护理病例,为病人落实更好的护理措施,提高护理质量,同时加强科室之间的协作与交流,特制定护理会诊制度。...
护 理 会 诊 、护 理 病例讨论制度培训考核测试题库含答案 一 、单选题(每题 5 分,共 75 分) 基本信息:[矩阵文本题] * ...
护理病例会诊要素与品质保证1可以承担护理会诊旳资质规定是:A、专科护士B、主管护师C、主任护师D、以上均是答案:D2有关护理病例会诊...
第 1 页精品文档---下载后可任意编辑会诊药师工作计划范例 一、指导思想 坚持以科学进展观为指导,以病人为中心,以提高医疗服务质量为...
第 1 页精品文档---下载后可任意编辑会诊药师个人工作计划 一、指导思想 坚持以科学进展观为指导,以病人为中心,以提高医疗服务质量为...
远 程 会 诊 流 程 与 PACS影像操作指南 更新时间: 2014.11.19 2 目 录 1 远程会诊流程 ...................................
精品文档---下载后可任意编辑 PE 会诊医院投资 在医改逐渐深化的大背景下,医疗效劳行业已经成为风险投资和私募股权投资基金的关注热点...
精品文档---下载后可任意编辑2024 年会诊药师工作计划范文 坚持以科学进展观为指导,以病人为中心,以提高医疗服务质量为主题,把维护群...
院外会诊申请书 XX 县区第三医院院外专家会诊申请书 患者姓名_________性别____年龄____科室_______床号____病案号______入院诊断:____...
精品文档---下载后可任意编辑齐鲁医院会诊管理系统的开题报告一、项目背景现如今,医疗水平不断提高,同时医疗科技的进展,使得疑难病症的...

