下载后可任意编辑印刷后加工质量检验标准一、 目的: 制定出本公司印刷后加工的质量检验企业标准, 作为生产过程质量控制依据, 提升公司...
下载后可任意编辑印刷合作合同总则本合同是由[甲方公司](以下简称甲方)与[乙方公司](以下简称乙方)共同签订的印刷合作合同,为确保双方...
下载后可任意编辑印刷制作合同本合同是由甲方(委托方)与乙方(印刷制作方)订立的,为了明确印刷制作的工作内容、质量、价格、时间等基本...
下载后可任意编辑××市××印刷有限公司员工绩效考核标准( 第 1 版) 审核: 审批: ××××印刷管理咨询项目组编制 06 月 21 日...
下载后可任意编辑 生产工艺人员绩效考核6.1 生产管理部关键绩效考核指标序号KPI 指标考核周期指标定义/公式资料来源1生产计划达成率季/...
下载后可任意编辑欢乐印员工手册目 录序言第一章 企业文化 一、 我们的信条、 原则、 追求、 精神二、 组织结构图第二章 人力资源...
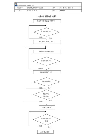
深圳市益田商业管理有限公司制度名称企划部物料制作印刷流程编号SY-ZD-QH-2008-004 页码第 1页 共1 页版本2008-1 物料印刷制作流程根...
包装盒制作印刷工艺流程包装盒制作印刷工艺流程是什么?同行的伙伴就知道包装盒制作生产是一个复杂的过程,不同行一般都会认为今天叫你制作...
国内外各大印刷奖项盘点 ppzhan讯:近日,国内外大大小小的印刷奖项频繁公布于市,如第四届金光印艺大奖、第61届美国印刷大奖等,在这印刷...
下载后可任意编辑自考印刷广告模拟试卷广告学专业自考印刷广告模拟试卷(广告学专业) 一、填空题 (每空 1 分,共 20 分) 1、中国...
一、目的 :规定了 PCB板(单、双面)锡膏印刷质量的检验管理办法。二、范围:适用于本公司所有 PCB板锡膏印刷的质量检验。三、检验方法...
印刷概论习题集一、单选题:(100 题)1.是发明印刷的前提。A.语言的产生 B.文字的产生 C.笔的产生 D.墨的发现2.是发明印刷术的物质基...
1.1 业务部关键绩效考核指标序号KPI 指标考核周期指标定义/公式资料来源1销售计划达成率月/季/年度业务部2销售增长率季/年度业务部3销售...
北京印刷学院·传播学专业·考研·110个名词解释 1.传播:传播是带有社会性、共同性的人类信息交流的行为和活动。 2.自我传播:体内传播...
包装纸品印刷企业绩效考核方案 1 业务部关键绩效考核指标 序号 KPI 指标 考核周期 指标定义/公式 资料来源 1 销售计划达成率 月...
展商名称艾默生CT艾斯捷科技有限公司安徽华天机械股份有限公司安徽嘉龙锋钢刀具厂奥伯尼国际公司邦友科技开发有限公司蚌埠市奥特纸箱机械有...
国家中长期动物疫病防治规划( -2024 年) ( 征求意见稿) 二一一年〇九月 下载后可任意编辑前言........................................
下载后可任意编辑丝网印刷技术流程及印刷要点标准分析 在标牌生产过程中, 起决定性作用是丝网印版及承印物前处理的工艺技术和印刷要点及...
下载后可任意编辑 國際要聞全球印刷市場 至 最新分佈數據全球瓦楞紙箱市場預測PRIMIR 近期發佈的《 全球印刷市場調查 》報告中, 全...
For personal use only in study and research; not for commercial use 湖 北 省 书 刊 印 刷 行 业指 导 工 价 ...

