企业财务管理调查问卷 统计及分析报告 翼启云服 2015 年 11 月 目录 一、 调查背景 .............................................
集团企业财务核算管理解决方案 1 . 集团企业财务核算管理目标 随着我国企业规模的壮大和涉及业务领域的不断扩张,跨地域经营,甚至跨国...
企业财务管理调查报告 我于2009 年8 月1 日到8 月10 日对三家企业进行了“企业财务管理”问卷调查,本次调查的目的是了解企业的岗位...
正确答案:1.A;2.D;3.A;4.B;5.D; 返回 1、盈余公积金可用于弥补亏损,也可用于转增资本金。但用于转增资本金后,剩余盈余公积金一般不低于...
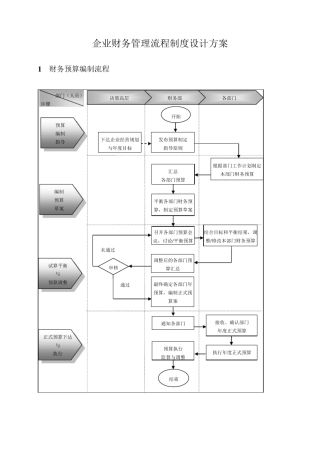
企业财务管理流程制度设计方案 1 财务预算编制流程 部门(人员) 步骤 决策高层 财务部 预算 编制 指导 各部门 试算平衡 与 ...
下载后可任意编辑市信用联社 2024 年财务管理工作总结联社紧紧围绕上级行的有关精神和《农村信用社财务管理实施办法》,本着“总量控制,...
第一章财务管理制度为进一步完善财务管理,根据国家有关法律、法规及财务制度,做到分工明确,责任到人,结合公司具体情况,制定本制度。一...
下载后可任意编辑2024 财务管理年度个人工作总结及计划范本一年来,自己在科领导和全体同事的关怀、支持和帮助下,坚持自我严格要求、加强...
下载后可任意编辑2024 财务管理实习总结范文这是我们大学四年的后一次实训,也是最为全面最为重要的一次。短短的三个星期,我几乎把我所学...
下载后可任意编辑2024 年银行财务管理个人工作总结来到工作岗位已经有四五年时间,已经是一个老员工了,虽然我失去了年轻的情况,但是热血...
下载后可任意编辑2024 年酒店财务管理本年度思想工作总结年已经过去,回顾___年的财务工作,财务部在公司领导的带领下,仔细遵守财务管理...
1 农业银行财务管理存在的问题及对策 商业银行财务管理是对商业银行信用活动中各项资金和财务收支活动进行计划、组织、调节和控制的总称...
下载后可任意编辑2024 年财务管理年终工作总结范本___年中,在领导及同事们的帮助指导下,通过自身的努力,我个人无论是在敬业精神、思想...
下载后可任意编辑2024 年财务管理人员年度工作小结___年将要过去,回顾近一年来的工作,感触良多,收获不小。近一年来,在行长的正确领导...
下载后可任意编辑2024 年财务管理人员年度工作总结报告__年将要过去,回顾近一年来的工作,感触良多,收获不小。近一年来,在行长的正确领...
下载后可任意编辑2024 年财务管理人员年终总结1.建立健全各项规章制度,奠定会计出纳工作的基矗今年我根据业务进展变化和治理的要求,对责...
下载后可任意编辑2024 年财务管理人员个人工作总结作为一名财务管理人员,我积极的投入到在全行“内控与合规”建设活动年活动中,结合本职...
下载后可任意编辑2024 年财务管理人员工作个人总结一、连锁超市商品管理软件全面升级连锁超市经过___年全年的快速进展,发现有些具体问题...
下载后可任意编辑2024 年财务管理专业成人本科毕业总结本人自__年通过成人高考,就读财务财务管理(本科)专业以来,一直以严谨的态度和积极...
下载后可任意编辑2024 年行政财务管理工作总结一、进一步加强预算管理一是进一步完善预算编制。预算编制过程中,要求各预算单位尽可能准确...

