河北宾馆燕都大酒店智能化系统设计方案新加坡新电子系统有限公司目 录 1 . 河北宾馆燕都大酒店智能化概况 1.1 河北宾馆燕都大酒店简...
目 录1.系统集成方案………….…………….….………….……………………22.综合布线系统组成………….…….……..……….……………………...
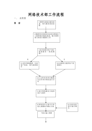
网络技术部工作流程一、 流程图售 前是 否1 销售代表提出服务请求,填写服务请求表格2 根据项目需求技术总监安排相应工程师响应服务请...
系统集成部运营工作流程项目运作严格根据: 实施前——项目实施——系统调试验收——售后服务几个阶段安排工作流程一、 流程图实施前是 ...
系统集成项目管理工程师重点考点核心资料第一章 信息系统概述1.1 信息与信息系统(了解)1.1.2 信息系统信息系统概念:信息系统是与信息...
系统集成项目管理工程师考点 20241 项目整理管理1.1 项目整理管理的主要活动1. 分析和理解范围2. 将产品需求和特定的标准明确记录在文...
给编辑的话:1、封面建议做得活跃点,比如放授课的场景,放作者的大幅肖像。请考虑是否制作勒口与腰线。2、内容排版请排得松一些,以便阅读...
XXX 公司质 量 手 册(依据 GB/T19001-2024idt ISO9001:2024 标准)文件编号:SHWJ /SC- 2024 发行版本: A/0 编 制: 质...
文 档 号MKJC-CZSJ版 本 号V2.0归档日期2009-11-08【煤矿系统集成综合监控平台】操作手册中林质环(北京)科技有限公司2024 年 11 ...
质量记录实施规程批准人岩审核人秀邦拟制人戈批准日期1999.5.12生效日期1999.5.12关联文件文件管理规程(R-05000)文件保管规程(R-05002)...
东东质量手册批准人柳玉辉审核人 岩拟制人 戈批准日期1999.5.12生效日期1999.5.12关联文件东东系统集成业务规程R-02001总页数39正文35附...
编码标准批准人岩审核人戈拟制人慧丰批准日期1999.5.12生效日期1999.5.12关联文件东东系统集成更改记录序号发行日更改对象·更改容批准...
商城智能园区方案介绍目 录第一部分智能园区系统集成概述 2第二部分智能化系统工程设计方案...........................12第一章工程方案...
系统技术方案一、总体介绍 市市级机关办公楼位于省市。总建筑面积约 7.62 万平方米。地下一层,地上为十一层,其中地下层为汽车库与设备...
精选文档系统集成项目管理工程师学习笔记一、整体管理1.项目启动1)制定项目章程输入:合同工作说明书(SOW)组织过程资产输出:项目章程2...
余姚市软件和计算机信息系统集成(销售)企业基本情况调查表填表日期: 单位:万元企业名称(盖章)企业地址成立日期注册资金邮政编码企业法人...
XXXX 体育馆工程智能化系统集成与深化设计项目设计方案2012-8-22目 录第一章工程概况 21.1 工程简介 21.2 设计容 41.3 设计依据 5...
中国娱乐网系统集成方案北京 xx 网络技术有限公司2000 年 8 月目录一、公司背景和成功案例二、系统分析概要三、硬件分析及硬件推举四...
XX 市计算机信息系统集成合同 鉴于甲方有意为其公司_________(财务、企业经营管理等)业务建立计算机信息系统,乙方同意为甲方提供所需...
1计算机信息系统集成四级的认定条件1、企业变革发展历程清晰,从事系统集成两年以上; 2、企业主业是系统集成,系统集成收入是企业收入的...

