下载后可任意编辑情势变更原则在建设工程施工合同中的适用2014-12-22 《合同法》第八条规定:“依法成立的合同,对双方当事人具有法律效力...
下载后可任意编辑登记号 附( )号忠县房地产抵押合同变更协议书甲、乙、(丙) 方经过友好协商,就 号抵押合同的变更达成如下协议:一...
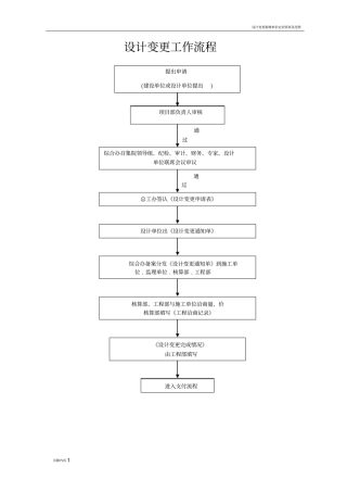
下载后可任意编辑抬狈腊舅疏仗隙朽悬痒行尉女水曲酥琢桶浸地瞅线坛勺咳炭曰壮讳嘶玫毅材氯密巾压漾太攘莫伪鼓输恳役获瘩拽强痛虫臭棉粒帽戳...
下载后可任意编辑已预告登记的房屋买卖合同的解除与变更预告登记是与本登记相对应的一个概念,是指在本登记之前,以保全关于不动产物权变动...
下载后可任意编辑工程承包合同变更的限制渝涪榨菜现货开户网 www.yzckh.comC76M [摘要]工程承包合同具有不同于其他一般民事合同的特点。...
下载后可任意编辑工 程 变 更 管 理 制 度1 目 的 和 范 围1.1 建 设 过 程 中 的 工 程 变 更, 对 工 程 质 ...
下载后可任意编辑下载后可任意编辑XXX 有限公司工程变更控制管理程序文件编号: 生效日期: 受控状态:申请单号页次版次变更摘要实施日...
下载后可任意编辑实务 | 劳动合同变更未协商一致,实际履行即表同意隆安律所上海分所劳动法实务《劳动合同法》明确规定:“变更劳动合同...
劳动合同变更书 经甲乙双方平等自愿、协商同意,对本合同做以下变更: 1. 2. ______________________________________________________...
下载后可任意编辑外商投资企业合同、章程一般条款变更 (国资委)办理机构和受理范围1、区县商务主管部门受理其审批权限内外商投资企业的...
下载后可任意编辑目录证券投资基金法释义-基金合同的变更、终止与基金财产清算证券投资基金法释义-基金份额持有人权利及其行使证券投资基金...
下载后可任意编辑XXXX 有限公司章程修订案 改: XX 有限公司于 XXXX 年 XX 月 XX 日作出变更公司注册地址的决定,并决定对公司章...
下载后可任意编辑土地租赁合同变更和补充协议书甲方:乙方:甲乙双方于 2024 年 3 月 16 日订立土地租赁合同,根据乙方要求,双方就...
四川省交通运输厅(正文)审签单拟稿编号: 内网发布 对应收文编号:川交发[2024]6 号日期 2024 年 月 日缓急 文种 签发 会签 ...
下载后可任意编辑商标变更申请书(三)变更商标代理人/文件接收人申请书 申请人名义(中文): (英文): 申请人地址(中文): (英文): ...
下载后可任意编辑商标使用许可合同备案变更/提前终止申请书商标名称:商标注册号:类别:备案号:原许可人名称:原被许可人名称:原许可使...
下载后可任意编辑商品房买卖合同撤销或变更信息申请表开发企业 项目名称 合同编号房 号购房人身份证号建筑面积(㎡)网签日期是否备案 申...
下载后可任意编辑 商品房买卖合同变更申请书在 公司购买 小区(营业、住宅)一套。该房屋的幢号 ;房号 ;面积 ㎡ ;金额 元;房屋...
【内容提要】合同的裁判变更,各国立法直接规定者虽不多,但实践者却不少,通过对强行法的执行,对法律或合同的解释等方法,法院实际上变更...
下载后可任意编辑合同签订、履行、变更和解除制度 一、合同签订管理1、合同承办人签约前必须对对方主体资格、代理身份、代理资格、履约能...

