电脑桌面
添加小米粒文库到电脑桌面
安装后可以在桌面快捷访问

设计变更流程完

设计变更流程完_第1页
1/8
设计变更流程完_第2页
2/8
设计变更流程完_第3页
3/8
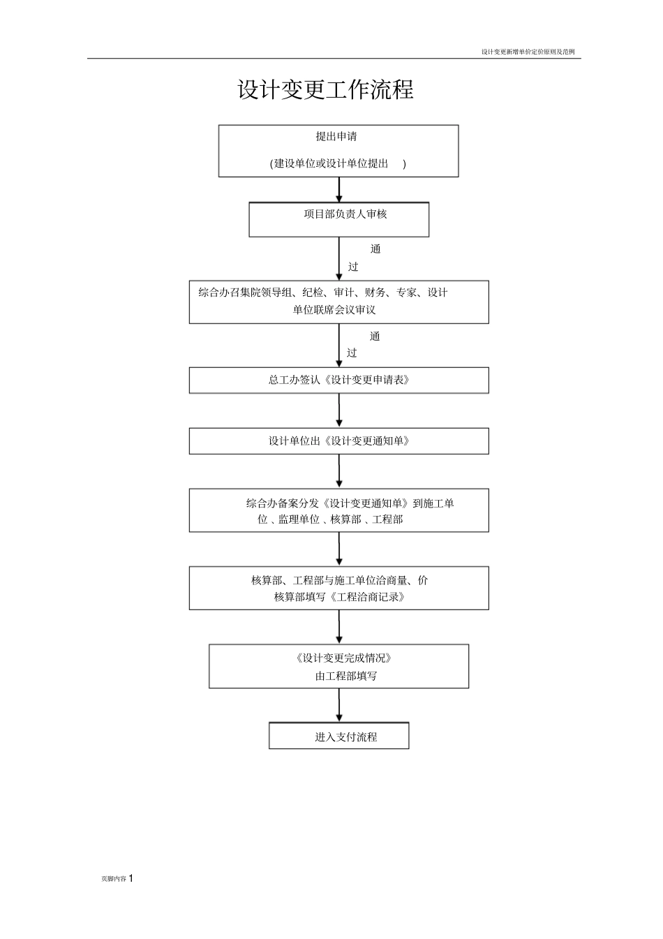
设计变更新增单价定价原则及范例页脚内容 1设计变更工作流程提出申请(建设单位或设计单位提出) 综合办召集院领导组、纪检、审计、财务、专家、设计单位联席会议审议综合办备案分发《设计变更通知单》到施工单位﹑监理单位﹑核算部﹑工程部核算部、工程部与施工单位洽商量、价核算部填写《工程洽商记录》通过进入支付流程通过总工办签认《设计变更申请表》《设计变更完成情况》由工程部填写设计单位出《设计变更通知单》项目部负责人审核设计变更新增单价定价原则及范例页脚内容 2设计变更流程说明为了加强设计变更管理, 有效地控制成本, 确保工程质量和工程进度,制定本流程。一、设计变更提出1.设计单位在提交施工图后,因设计内容自身的错、漏、碰、缺等原因,而导致做法变动、材料代换或其他变更事项,提出的建筑、结构、安装、景观、装修专业的修改要求,填写《设计变更申请表》。2.建设单位项目部根据现场实际情况提出的建筑、结构、安装、景观、装饰专业的修改或增补要求,填写《设计变更申请表》。3.经新校区项目部负责人审核,召集论证会议通过。二、设计变更的审批1.设计变更的成本测算和审批。总工办核算员负责对设计变更所带来的成本变化进行分析,为最终的审批提供参考。2.设计变更的技术核定。总工办相关经办人根据变更要求签认《设计变更申请表》,并对其经济技术性负责。3.设计变更申请需项目部负责人签字审批,报综合办备案。三、设计变更的实施1.设计单位根据《设计变更申请表》出具《设计变更通知单》填写详尽的变更内容,所附图纸等资料齐全。2.建设单位项目部负责人审批,监理单位、施工单位签字确认,综合办进行备案和分发。3.工程部将《设计变更通知单》经工程部经办人员及工程部部长签字确认后,加盖项目部印章,联同相关附件发放给相关施工单位。涉及到需设计变更新增单价定价原则及范例页脚内容 3要重新报建的,需将审批后的设计变更图纸送报批报建负责人履行报建程序后施工。4.工程部负责跟踪变更实施情况。于每月25 日之前与监理单位、施工单位核对本月设计变更的完成情况,填写《设计变更完成情况表》。5.当无法根据设计变更文件直接计算出工程量,或者相应设计变更文件的某条或某几条只完成一部分时,监理单位和工程部应直接在 《设计变更完成情况表》中确认相应的工程量,并同时告知书面核算部。6.对于造价调减的设计变更,工程部现场工程师要及时跟踪、落实、核定减少的具体数额, 并与施工单位形成书面...

1、当您付费下载文档后,您只拥有了使用权限,并不意味着购买了版权,文档只能用于自身使用,不得用于其他商业用途(如 [转卖]进行直接盈利或[编辑后售卖]进行间接盈利)。
2、本站所有内容均由合作方或网友上传,本站不对文档的完整性、权威性及其观点立场正确性做任何保证或承诺!文档内容仅供研究参考,付费前请自行鉴别。
3、如文档内容存在违规,或者侵犯商业秘密、侵犯著作权等,请点击“违规举报”。

碎片内容

设计变更流程完

您可能关注的文档

确认删除?
VIP
微信客服
  • 扫码咨询
会员Q群
  • 会员专属群点击这里加入QQ群
客服邮箱
回到顶部