一 、 光 纤 熔 接 前 的 准 备 光 纤 熔 接 前 , 首 先 要 准 备 好 剥 纤 钳 、 切 刀 、 熔 接 机 、...
光缆熔接方案 第一章 一般规定 1.1 光缆的类型、制式、结构、光纤特性等应符合设计规定和敷设方式及条件的要求。 1.2 为了降低连接损...
广州宏网电讯科技有限公司光缆熔接培训教材大纲 为规范公司内部技术骨干员工地技术力量,特根据4 月下旬、5 月上旬多次召开的会议精神,拟...
目 录 序 号 名 称 页 次 1 光缆单盘检验测试记录表 2 中继段光缆配盘图 3 线路光纤衰减统记表 4 光纤接头损耗测试记录 5...
光缆测试曲线图
110kV 建云至六都、黄湾、稔塘线路工程 OPGW 光缆施工方案 批准: 审核: 编写: 广东维民电力建设有限公司 110kV 建云至六都、黄...
精品文档-可编辑 第 1 页 共 7 页 编号:_____________ 光缆架空地线改造工程施工劳务合同 甲 方:___________________________...
聚乙烯聚乙烯聚氯乙内护套护 套烯护套0.141.80.8813.80.558.511.5481、光纤:307.728.815.276.8107.649.9127.5345460.82198元/KG0.281.80....
光缆施工规范及要求 Company Docu ment nu mber:WTUT-WT88Y-W8BBGB-BWYTT-19998 光 缆 线 路 施 工 要 求 光 缆 敷 设 ...
实用标准 文案大全 光 缆 线 路 施 工 要 求 光 缆 敷 设 方 式 通 信 光 缆 的 敷 设 方 式 一 般 分 为 三...
光缆工程组织方案 一、 光缆施工方案 1.工程施工技术标准 各工程建设项目均应符合国家有关部门颁发的相关工程施工及验收规程、规范、标...
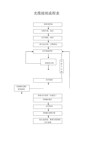
光缆接续流程表 接续前准备 光缆开剥,清洁 光纤预制,清洁 接头盒安装,光缆固定 光纤端面制作 光纤接续 热熔光纤套管(加强芯) ...
目 录 1、编制依据 .................................................................... 1 2、工程概况 ..........................
序号规格型号设备设备名称数量 单位 品牌单价(元)1Commscope六类4对非屏蔽网线8300米/箱康普 800.002Commscope六类非屏蔽信息模块300...
一、技术要求 1.1 布放光缆的牵引力应不超过光缆允许的张力的 80%.瞬间最大牵引力不得超过光缆允许张力的 100%.主要牵引应在光缆的加强...
光缆敷设工程施工方案 页脚内容1 光缆敷设工程施工方案 一.编制说明 本施工方案系我公司对光缆敷设工程的构思和部署,用来指导工程施...
光缆接续技法 前言: 技 能 的 提 高 不 能 “闭门造车”,要“走出去,请进来”,多交流,多积累,取长补短。 光 缆 接 续 ...
安徽联通2005 年本地传输网工程 光缆接头盒技术规范书 中国联合通信有限公司安徽分公司 二 O O 五 年 五 月 1 目 录 一、工...
第一章 光纤接续 第一节:光纤接续 光纤接续一般可分为两大类:光纤的固定接续(俗称死接头),活动连接(俗称活接头)。活动连接一般是...
北京歌华有线工程管理有限责任公司施工单位招标 招标编号:ZB-20170402 1 XXX 光缆布放工程 施 工 组 织 方 案 建设单位:xxx ...

