下载后可任意编辑程控电话交换系统分项工程质量验收记录表1下载后可任意编辑程控电话交换系统分项工程质量验收记录表 编号: 表 C.0.1-04...
<<热工程控保护 >>初级工题目部分一、选择题 ( 共91题) 1. 下列关于电压的描述中,( a )是正确的。(A) 衡量电场力转移电荷做功能力...
下载后可任意编辑一科及多路通 TC 系列程控电话交换机说明书 TC-208TC-208BTC-312TC-308BTC-416BTC-432B -11-1323:04 多路通 TC-208B...
下载后可任意编辑HZQT-8000 数字程控调度交换机说明书12024 年 5 月 29 日下载后可任意编辑22024 年 5 月 29 日8000 数字程控...
采购业务生管工程品保接受订单订单入系统订单评审订单状态确认交期流程控制图执行部门/配合部门输入生管评审开生产工单量产订单样品订单品...
MAX264 中文资料及其程控滤波器电路图 MAX264 的结构及性能 MAX264 的结构 MAX264 的结构主要由两个独立的滤波单元、分频单元、f0 ...
下载后可任意编辑 <<热工程控保护>>高级工理论试题库一、选择题(共64题)1(La3A2035).在下列文件的扩展名中,以( )作为扩展名的文件不能执...
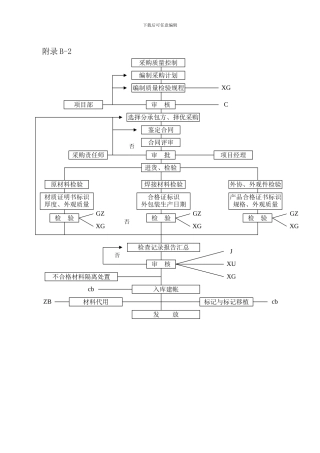
下载后可任意编辑采购责任师附录 B-2标记与标记移植cbcbZB检 验GZXGGZXG否否采购质量控制编制采购计划编制质量检验规程XG审 核C项目部选...
下载后可任意编辑<<热工程控保护>>初级工题目部分一、选择题(共91题)1.下列关于电压的描述中,( a )是正确的。(A) 衡量电场力转移电荷做...
作 业 第二章: 2-6 某水槽如题图2-1 所示。其中A1 为槽的截面积,R1、R2 均为线性水阻,Qi 为流入量,Q1 和 Q2 为流出量要求:...
输煤程控系统软件升级方案 批准: 审核: 初审: 编写: 平凉发电公司燃运部 二 O O 五年六月 平凉发电公司输煤 程控系统软件升...
输煤程控系统及电气知识简介 袁巍 一、输煤程控系统 1、程控系统概述 输煤程控系统主要由 PLC系统、上位机监控管理系统、输煤就地检测...
热 工 仪 表 及 自 动 装 置 专 业 -热 工 程 控 保 护 ( 高 级 工 ) 题 库 及 参 考 答 案 一 、 选 ...
1 <<热工程控保护>>初级工 题目部分 一、选择题(共91题) 1.下列关于电压的描述中,( a )是正确的。 (A) 衡量电场力转移电荷做功能...
下载后可任意编辑程控电话交换机安装销售合同合同编号:户单位(以下简称甲方) :索通进展有限公司 供货单位(以下简称乙方):济南士兰电子...
任务书毕业论文(设计)题目 低频数字程控信号源的设计 一、毕业论文(设计)题目的来源信号源发展到今天,它的涵盖范围已非常广。可以按...
低频数字程控信号源的设计摘 要本文选定了一种基于 DDS 芯片 AD9850 的方案,从而设计出了一款低频数字程控信号源。直接数字频率合成...
液压数控程控切纸机使用说明书
中联JSY2000数字程控电话交换机使用说明书
第一章 绪论 1.1 机械手设计的目的工业机械手设计是机械制造、机械设计和机械电子工程等专业的一个重要学习环节,是学完技术基础课及有...

