电脑桌面
添加小米粒文库到电脑桌面
安装后可以在桌面快捷访问

施工过程控制图VIP免费

施工过程控制图_第1页
1/9
施工过程控制图_第2页
2/9
施工过程控制图_第3页
3/9
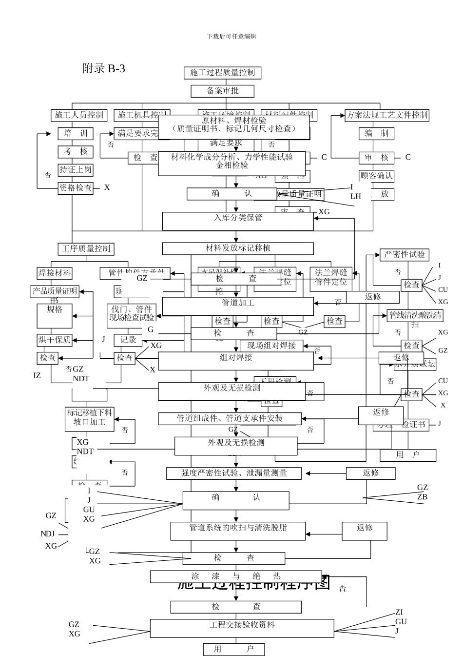
下载后可任意编辑采购责任师附录 B-2标记与标记移植cbcbZB检 验GZXGGZXG否否采购质量控制编制采购计划编制质量检验规程XG审 核C项目部选择分承包方、择优采购鉴定合同合同评审审 批项目经理否进货、检验原材料检验焊接材料检验外协、外观件检验材质证明书标识厚度、外观质量合格证标识外包装生产日期产品合格证书标识规格、外观质量检 验检 验GZXG检查记录报告汇总审 核JXUXG不合格材料隔离处置入库建帐发 放材料代用下载后可任意编辑检查J检查附录 B-3施工过程质量控制备案审批施工人员控制施工机具控制施工环境控制材料配件控制方案法规工艺文件控制培 训考 核持证上岗资格检查否满足要求完好检 查否SD施工现场条件满足要求检 查否XXG编 制计 划审 核否C审 核C领 料规格数量质量证明顾客确认发 放审 查XGX工序质量控制焊接材料 管件构件支承件产品质量证明书规格烘干保质IZ否现场防护伐门、管件现场检查试验记录检查XXG预 料标记移植下料坡口加工检 查组对点焊否检 查否焊缝质量检查无损检测检查GZNDJXG现场安装支吊架补偿定位管沟开挖法兰焊缝管件定位法兰焊缝管件定位检查检查检查否否否GZGZ现场组对焊接检查HZ否无损检测静电接地测试检查NDJ否检查否GZXGCU严密性试验检查否IJCUXG管线清洗酸洗清扫否XGGZ水介质联坛检查否CUXGXZB办理 检证书J用 户施工过程控制程序图ILH检 查原材料、焊材检验(质量证明书、标记几何尺寸检查)材料化学成分分析、力学性能试验金相检验确 认入库分类保管材料发放标记移植GZ管道加工检 查返修G组对焊接外观及无损检测返修GZNDT管道组成件、管道支承件安装外观及无损检测返修强度严密性试验、泄漏量测量确 认返修GZZB管道系统的吹扫与清洗脱脂XGNDTIJGUXG检 查返修GZXG涂 漆 与 绝 热检 查工程交接验收资料否GZXGZIGUJ用 户下载后可任意编辑下载后可任意编辑下载后可任意编辑复核附录 B-7无损检测检查 超声 磁粉 渗透 测厚制定管理标准审批否WZB检测计划、委托单否W检测人员资格W检测部位确定NDT超次返修后检测返修后检测NDT扩检NDT编号、装片审核否W检测仪器设备、检测工艺审核否W检 测底片冲洗底片质量评定焊缝质量评定检测报告审核W检测资料整理审核否WDNT资料归纳整理DNT无损检测控制程序图返检NDT返修通知单审批ZB超次返修工艺HG否GSBXGGYLR否LH否检查操作记录热处理质量控制标准、法律规范技术条件设计要求、焊接工艺安装工程计划编制热处理工艺配置热处理设备...

1、当您付费下载文档后,您只拥有了使用权限,并不意味着购买了版权,文档只能用于自身使用,不得用于其他商业用途(如 [转卖]进行直接盈利或[编辑后售卖]进行间接盈利)。
2、本站所有内容均由合作方或网友上传,本站不对文档的完整性、权威性及其观点立场正确性做任何保证或承诺!文档内容仅供研究参考,付费前请自行鉴别。
3、如文档内容存在违规,或者侵犯商业秘密、侵犯著作权等,请点击“违规举报”。

碎片内容

施工过程控制图

确认删除?
VIP
微信客服
  • 扫码咨询
会员Q群
  • 会员专属群点击这里加入QQ群
客服邮箱
回到顶部