电脑桌面
添加小米粒文库到电脑桌面
安装后可以在桌面快捷访问

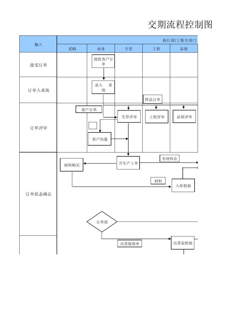
交期流程控制图

交期流程控制图_第1页
1/6
交期流程控制图_第2页
2/6
交期流程控制图_第3页
3/6
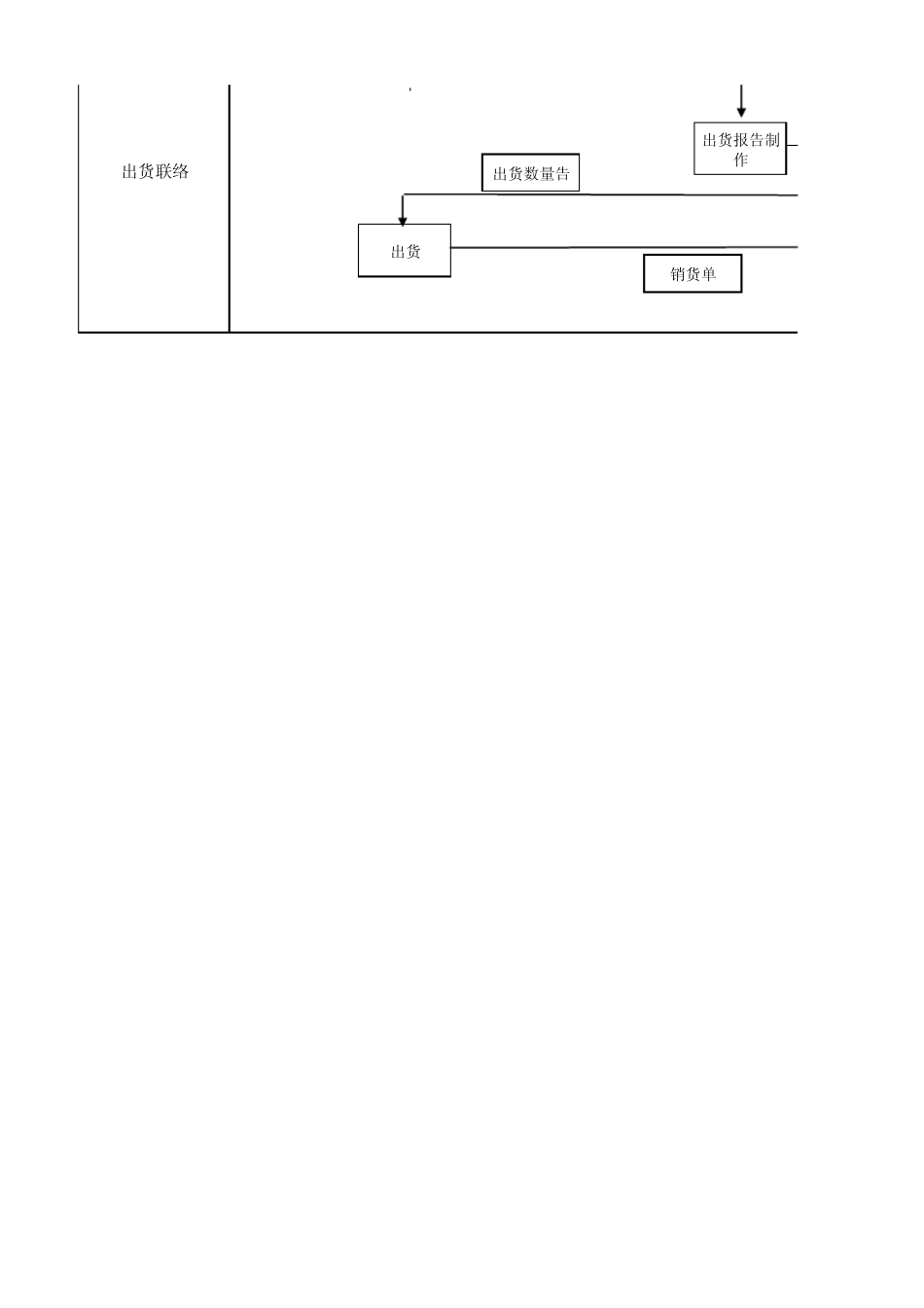
采购业务生管工程品保接受订单订单入系统订单评审订单状态确认交期流程控制图执行部门/配合部门输入生管评审开生产工单量产订单样品订单品保评审工程评审接收客户订单录入ERP系统出货联络单订单状客户沟通NG材料购买入库检验材料有材料在出货前检验出货联络出货报告制作出货销货单出货数量告生产仓库 总经办 管理部客户订单业务订单评审记录表业务订单评审记录表样品订单评审记录表生管生产品保工程ERP权责业务品保仓库管理派车申请单控制图门输出生产评审依工单生产入库出货联络单检验备货业务品保仓库管理出货联络单派车申请单司机送货派车单装车QP0701订单评审管理程序QP0701订单评审管理程序QP0701订单评审管理程序产品交付控制程序体系QP0712产品交付控制程序

1、当您付费下载文档后,您只拥有了使用权限,并不意味着购买了版权,文档只能用于自身使用,不得用于其他商业用途(如 [转卖]进行直接盈利或[编辑后售卖]进行间接盈利)。
2、本站所有内容均由合作方或网友上传,本站不对文档的完整性、权威性及其观点立场正确性做任何保证或承诺!文档内容仅供研究参考,付费前请自行鉴别。
3、如文档内容存在违规,或者侵犯商业秘密、侵犯著作权等,请点击“违规举报”。

碎片内容

交期流程控制图

确认删除?
VIP
微信客服
  • 扫码咨询
会员Q群
  • 会员专属群点击这里加入QQ群
客服邮箱
回到顶部