电脑桌面
添加小米粒文库到电脑桌面
安装后可以在桌面快捷访问

测绘项目费用表VIP免费

测绘项目费用表_第1页
1/23
测绘项目费用表_第2页
2/23
测绘项目费用表_第3页
3/23
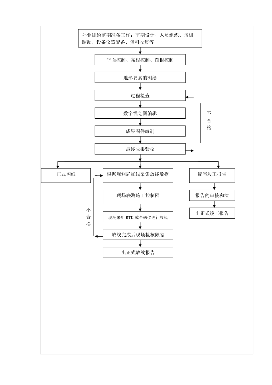
一 、投标报价明细表 大 项 分 项 原 价 格 ( 元 ) 下 浮 10%后 价格 ( 元 ) 建 筑 工 程规 划 放 线 规 划 道 路 定 线 (3 类 )7005.25 6304.72 (2 类 )5775.89 5198.30 建 筑 物 放 线 3278.85 2950.96 规 划 定 桩 测 量 4371.10 3933.99 建 筑 工 程竣 工 管 线 竣 工 测 量 (3 类 )10020.09 9018.08 (2 类 )7283.03 6554.73 工 程 线 路 测 量 (3 类 )10323.84 9291.45 (2 类 )6982.65 6284.38 验 测 平 面 位 置 3150.59 2835.53 验 测 高 程 、高 度 2849.06 2564.15 规 划 面 积测 量 (3 类 )2263.69 2037.32 (2 类 )2029.55 1826.60 注:(3 类 )及(2 类 )按《测 绘生产成本费用定 额计算细则》分 类 投标人( 盖章): 法定 代表人( 签字或加盖印鉴): 2016 年 3 月 21 日 二、项目服务实施方案及技术路线 (1)准备工作:按照项目工作内容的要求,组织人员、收集前期所需资料,同时组织人员对项目进行了解,及相关学习。 (2)平面控制:利用全站仪或 GPS 建立首级控制网(四等导线控制网)。 (3)高程控制:利用自动安平水准仪建立四等水准控制网。 (4)在首级控制网的基础上建立图根控制网。 (5)在首级控制和图根控制的基础上,使用全站仪等现代先进的测绘手段全野外测绘 1:500 数字化地形要素。 (6)资料整理及成果报告编制利用数字化成图软件对调查成果进行汇总、统计,分析数据情况,编写各类报告。 (7)作业流程 外业测绘前期准备工作:前期设计、人员组织、培训、踏勘、设备仪器配备、资料收集等 平面控制、高程控制、图根控制 地形要素的测绘 过程检查 数字线划图编辑 成果图件编制 正式图纸 根据规划局红线采集放线数据 最终成果验收 编写竣工报告 不 合 格 现场联测施工控制网 报告的审核和检现场采用 RTK 或全站仪进行放线 出正式竣工报告 放线完成后现场检核限差 出正式放线报告 不 合 格 三、项目服务机构管理图 工作职能组织运行图 总经理 总工 测量外业组 测量内业组 检查组 综合部 财务室 办公室 出图 客户 董事会 董事长 总经理 总工 综合部 测量外业 组 测量内业 组 检查 组 办公室 财务室 四、项 目 服 务 团 队 的 主 要 管 理 、技术人员资格 姓 名 职 务 专业技术资格 参...

1、当您付费下载文档后,您只拥有了使用权限,并不意味着购买了版权,文档只能用于自身使用,不得用于其他商业用途(如 [转卖]进行直接盈利或[编辑后售卖]进行间接盈利)。
2、本站所有内容均由合作方或网友上传,本站不对文档的完整性、权威性及其观点立场正确性做任何保证或承诺!文档内容仅供研究参考,付费前请自行鉴别。
3、如文档内容存在违规,或者侵犯商业秘密、侵犯著作权等,请点击“违规举报”。

碎片内容

测绘项目费用表

确认删除?
VIP
微信客服
  • 扫码咨询
会员Q群
  • 会员专属群点击这里加入QQ群
客服邮箱
回到顶部