电脑桌面
添加小米粒文库到电脑桌面
安装后可以在桌面快捷访问

Tracert程序设计报告VIP专享VIP免费

Tracert程序设计报告_第1页
1/11
Tracert程序设计报告_第2页
2/11
Tracert程序设计报告_第3页
3/11
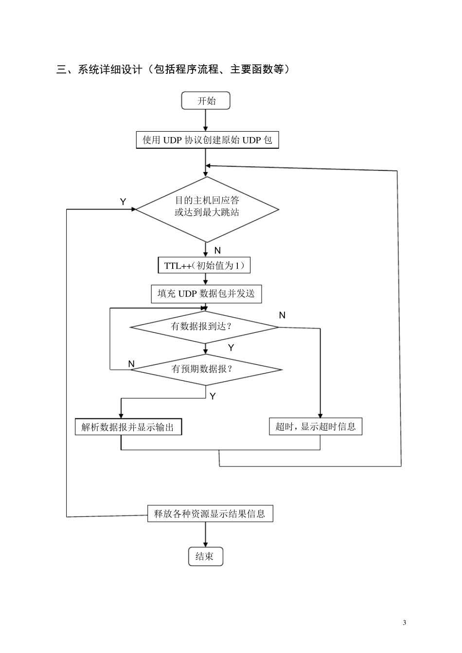
1 设计报告 课 程 计算机网络 设计名称 Tracert 程序 专业班级 计科 112 同组人学号姓名 实验日期 指导教师 成 绩 年 月 日 2 一、设计目的和要求 1、实验目的 1.熟悉原始套接字编程。 2.了解网络的结构。 3.了解网络传输底层协议。 4.熟悉掌握 ICMP 协议的工作原理和路由跟踪原理。 5.掌握vc6.0 下程序调试、运行的基本方法。 6.通过实验熟悉协议的应用。 2、实验要求 1、通过实验,可以使程序记录并显示了数据报从源端机器传送到目标机器的过程中所经过的路由器的IP 地址,并且记录了数据报到达每个路由器所需要的时间。认真观察到达每个路由器的时间有什么区别,从而熟练掌握tracert 的工作原理和ICMP 报文协议。 2、当我们不能通过网络访问目的设备时,网络管理员就需要判断是哪里出了问题。问题不仅仅会出现在最终目的设备,也可能出现在转发数据包的中间路由器。 二、设计说明(包括设计分析,系统运行环境,设计中的重点和难点,输入和输出输出条件等) 路由是把信息从源穿过网络传递到目的地的行为,在传输过程中,遇到一系列的中间节点。这些中间节点构成了路由跟踪的依据。路由跟踪是在路由的基础上提出的问题,是利用路由跟踪实用程序于确定 IP 数据报访问目标所采取的路径。当我们不能通过网络访问目的设备时,网络运行者就需要判断是哪里出了问题。问题不仅仅会出现在最终目的设备,也可能出现在转发数据包的中间路由器。解决方法是了解了IP 数据报访问目标所采取的路径,将发现网络布网简单拓扑,确定路由断点即可解决网络故 障 。操 作系统 中的tracert 或 traceroute 路由跟踪程序,通过它 可以查 看 到达目标地址所经过的路径。它 的作用与 ping 有类 似 之 处 使用 ping 可以检 查 是否 连 接,如 果 不通,一般不好 准 确判断哪一个节点出错 ,而使用 tracert 则 可以准 确判断出错 的部 分 。 系统 实现路由的跟踪,每经过一个路由,要求 得 到经过该 路由节点的地址,也就是说 输入 目标信息,可以得 到本地主 机到目标经过的所有中间节点。这些中间节点用 IP 地址标识 。并要求 对 跟踪跳 数,每一跳 等 待 时间可控 。为了让 系统 更 加 完 善 ,首 先 要测试目标的连 通性 ,系统 中也要实现目标探 测 功 能,即Ping 功 能。 当数据报从你 的计 算 机经过多 个网关 传送到目的地时,Tracert 命 ...

1、当您付费下载文档后,您只拥有了使用权限,并不意味着购买了版权,文档只能用于自身使用,不得用于其他商业用途(如 [转卖]进行直接盈利或[编辑后售卖]进行间接盈利)。
2、本站所有内容均由合作方或网友上传,本站不对文档的完整性、权威性及其观点立场正确性做任何保证或承诺!文档内容仅供研究参考,付费前请自行鉴别。
3、如文档内容存在违规,或者侵犯商业秘密、侵犯著作权等,请点击“违规举报”。

碎片内容

Tracert程序设计报告

确认删除?
VIP
微信客服
  • 扫码咨询
会员Q群
  • 会员专属群点击这里加入QQ群
客服邮箱
回到顶部