电脑桌面
添加小米粒文库到电脑桌面
安装后可以在桌面快捷访问

互换性与技术测量课后习题答案(第四章标注和改错答案)VIP免费

互换性与技术测量课后习题答案(第四章标注和改错答案)_第1页
1/15
互换性与技术测量课后习题答案(第四章标注和改错答案)_第2页
2/15
互换性与技术测量课后习题答案(第四章标注和改错答案)_第3页
3/15
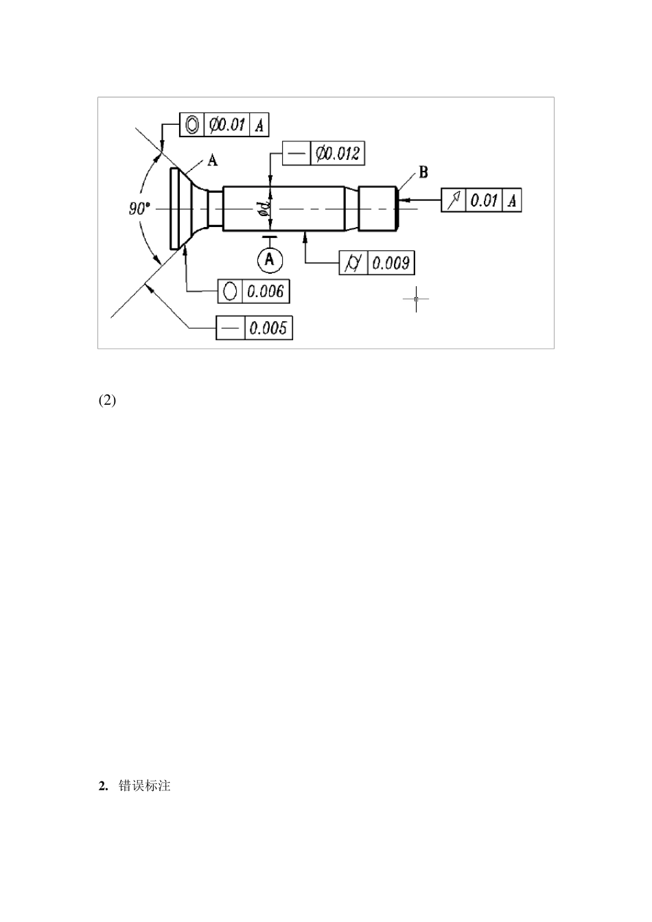
第四章 习题: 4 —1 技术要求→图样标注: 1 、 正确标注: 2 、其他正确标注和错误标注 4 —2 技术要求→图样标注: 1 、正确标注: 2 、 其他正确标注和错误标注 4 —3 技术要求→图样标注: 1 . 正确标注 (2 ) 2 . 错误标注 4 —4 技术要求→图样标注: 1 、 正确标注: 2 .其他正确标注和错误标注 4 —5 技术要求→图样标注: 1 、 正确标注: 2 、其他正确标注和错误标注 4 —6 技术要求→图样标注: 1 、正确标注: 2 .错误的标注 2 、其他正确标注和错误标注 改错题: (a )题图 (a )题图改错后的标注 (a ) 题图标注 (b ) 题图 (b ) 题图改错 (c) 题图 (c)题图改错 (d ) 题图 (d ) 题图改错 (e) (f)题图: (e) (f)题图改错 4—7 公差原则的应用: 4-9 形状误差评定: 见教材P98 平面度误差为:18.75-(-12.5)= (单位)。

1、当您付费下载文档后,您只拥有了使用权限,并不意味着购买了版权,文档只能用于自身使用,不得用于其他商业用途(如 [转卖]进行直接盈利或[编辑后售卖]进行间接盈利)。
2、本站所有内容均由合作方或网友上传,本站不对文档的完整性、权威性及其观点立场正确性做任何保证或承诺!文档内容仅供研究参考,付费前请自行鉴别。
3、如文档内容存在违规,或者侵犯商业秘密、侵犯著作权等,请点击“违规举报”。

碎片内容

互换性与技术测量课后习题答案(第四章标注和改错答案)

确认删除?
VIP
微信客服
  • 扫码咨询
会员Q群
  • 会员专属群点击这里加入QQ群
客服邮箱
回到顶部