电脑桌面
添加小米粒文库到电脑桌面
安装后可以在桌面快捷访问

招聘管理工作流程文档VIP免费

招聘管理工作流程文档_第1页
1/9
招聘管理工作流程文档_第2页
2/9
招聘管理工作流程文档_第3页
3/9
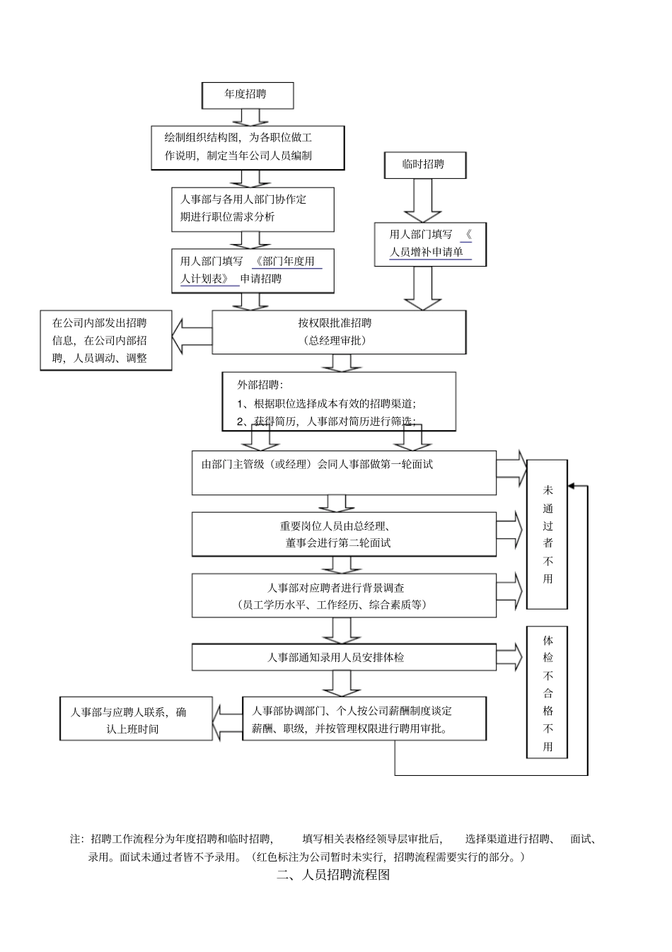
招聘管理工作流程招聘管理工作流程目录一、招聘工作流程图二、人员招聘流程图三、新员工入职流程四、新员工报到流程五、试用转正流程六、离职流程一、 招聘工作流程图注:招聘工作流程分为年度招聘和临时招聘,填写相关表格经领导层审批后,选择渠道进行招聘、面试、录用。面试未通过者皆不予录用。(红色标注为公司暂时未实行,招聘流程需要实行的部分。)二、人员招聘流程图用人部门填写 《部门年度用人计划表》 申请招聘外部招聘:1、根据职位选择成本有效的招聘渠道;2、获得简历,人事部对简历进行筛选;由部门主管级(或经理)会同人事部做第一轮面试人事部对应聘者进行背景调查(员工学历水平、工作经历、综合素质等)人事部通知录用人员安排体检按权限批准招聘(总经理审批)在公司内部发出招聘信息,在公司内部招聘,人员调动、调整人事部协调部门、个人按公司薪酬制度谈定薪酬、职级,并按管理权限进行聘用审批。未通过者不用人事部与各用人部门协作定期进行职位需求分析绘制组织结构图,为各职位做工作说明,制定当年公司人员编制重要岗位人员由总经理、董事会进行第二轮面试体检不合格不用人事部与应聘人联系,确认上班时间年度招聘临时招聘用人部门填写 《人员增补申请单注:中层人员招聘分为内部招聘和外部招聘,内部招聘由人事部负责内部竞聘,外部招聘由人事确定合适渠道进行招聘、面试、录用。招聘面试需求未通过审核的不招聘,面试不通过者不予录用。三、新员工入职流程N N Y Y Y 用人部门填写人员需求申请书人事部确定招聘方式N 人事部拟定内部竞聘公告取消招聘招聘专员对应聘人员资料进行筛选重要岗位需要总裁第二轮面试面试通过招聘专员向应聘者发《录用邀约函》人事部办理入职手续培训专员进行入职培训人事部员工信息录入人事部办社保 /财务部做工资招聘专员转交部门审核内部招聘由人事和用人部门共同初试,填写《面试评估表》退回外部招聘确定招聘渠道,发布招聘信息招聘会网站媒体猎头校园中介⋯职业素养工作经历业务技能沟通形象理论水平专业技术⋯⋯管理水平可培养潜力⋯⋯审核员工填写《内部竞聘申请表》人力资源部初步审查,筛选面试小组进行考核(笔试、面试、业务技能)确定录取人员名单,填写《内部调动审批表》原工作部门工作移交办理调动手续新部门报到注:新员工入职由人事部先行通知,确认新员工上班时间并通知相关部门,办理相关手续,参加公司的新员工入职培训,后转交相关部门,试用期限到后进行...

1、当您付费下载文档后,您只拥有了使用权限,并不意味着购买了版权,文档只能用于自身使用,不得用于其他商业用途(如 [转卖]进行直接盈利或[编辑后售卖]进行间接盈利)。
2、本站所有内容均由合作方或网友上传,本站不对文档的完整性、权威性及其观点立场正确性做任何保证或承诺!文档内容仅供研究参考,付费前请自行鉴别。
3、如文档内容存在违规,或者侵犯商业秘密、侵犯著作权等,请点击“违规举报”。

碎片内容

招聘管理工作流程文档

文库当当响+ 关注
实名认证
内容提供者

该用户很懒,什么也没介绍

确认删除?
VIP
微信客服
  • 扫码咨询
会员Q群
  • 会员专属群点击这里加入QQ群
客服邮箱
回到顶部