电脑桌面
添加小米粒文库到电脑桌面
安装后可以在桌面快捷访问

新版GMP修改文件文件管理规程VIP免费

新版GMP修改文件文件管理规程_第1页
1/30
新版GMP修改文件文件管理规程_第2页
2/30
新版GMP修改文件文件管理规程_第3页
3/30
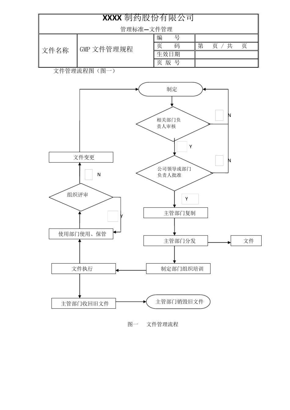
XXX 制药股份有限公司 管理标准— 文件管理 文件名称 GMP 文件管理规程 编 号 页 码 第 页 / 共 页 生效日期 页 版 号 制 定 人 质量管理部 制定日期 印数 审 核 人 质管部经理 审核日期 批 准 人 质量副总 批准日期 颁发部门 质量管理部 替代文件号 ------------------------------- 分发部门 分发数量 1 2 1 1 1 1 1 1 1 1 1 1 1 1 目 的:建立一个文件管理的操作规程,用于GMP文件系统的设计,起草、修订、审核、批准、生效、替换或撤销、复制、发放、保管和销毁、周期复核的管理办法,规范各类文件的编写模式及管理,形成具有企业特色、具有可操作性的、符合GMP要求的管理文件。 范 围:公司所有用于GMP管理的文件。 职 责: 1 质量管理部负责 GMP文件的管理和审核; 2 各有关部门对本规程的实施负责。 制订依据:《药品生产质量管理规范》2010 年版 规 程: 1 定义 文件是质量保证系统的基本要素,本规程所称的文件是指技术标准、管理标准、工作标准及各种记录、凭证、报告等。 1 .1 技术标准 技术标准是指药品生产技术活动中,由国家、地方、行政及企业颁布和制定的技术性规格、准则、规定、办法、规格标准、规程和程序等书面要求,包括:产品的质量标准、检验规程、工艺用水及环境检测 标准、生产处 方和工艺规程、工艺和清 洁 验证等。 1 .2 管理标准 XXXX 制药股份有限公司 管理标准— 文件管理 文件名称 GMP 文件管理规程 编 号 页 码 第 页 / 共 页 生效日期 页 版 号 管理标准是指由国家、地方或行政单位所颁发的有关法规、制度或规定等文件及企业行使生产计划、指挥、控制等管理职能,使之标准化、规范化而制定的规章制度、规定、标准或办法等书面要求,包括质量保证和质量控制、人员、厂房设施、设备、物料、卫生、生产、质量、验证、销售等管理规程。 1.3 工作标准 工作标准是指企业内部对每一项独立的生产作业或管理活动所制定的规定、标准程序等书面要求,或以人或人群的工作为对象,对其工作范围、职责权限以及工作内容考核所规定的标准、程序等书面要求,包括各种岗位操作规程和标准操作规程、工作职责等。 1.4 记录、凭证、报告 1.4.1 记录:岗位操作记录、批生产记录、批检验记录、质量管理记录、各种台账、工程维修记录等。 1.4.2 凭证:标示物料、仪器、设备或操作间等状态的单、证、卡、牌以及各类证...

1、当您付费下载文档后,您只拥有了使用权限,并不意味着购买了版权,文档只能用于自身使用,不得用于其他商业用途(如 [转卖]进行直接盈利或[编辑后售卖]进行间接盈利)。
2、本站所有内容均由合作方或网友上传,本站不对文档的完整性、权威性及其观点立场正确性做任何保证或承诺!文档内容仅供研究参考,付费前请自行鉴别。
3、如文档内容存在违规,或者侵犯商业秘密、侵犯著作权等,请点击“违规举报”。

碎片内容

新版GMP修改文件文件管理规程

您可能关注的文档

确认删除?
VIP
微信客服
  • 扫码咨询
会员Q群
  • 会员专属群点击这里加入QQ群
客服邮箱
回到顶部