电脑桌面
添加小米粒文库到电脑桌面
安装后可以在桌面快捷访问

路基填筑施工工艺框图VIP免费

路基填筑施工工艺框图_第1页
1/13
路基填筑施工工艺框图_第2页
2/13
路基填筑施工工艺框图_第3页
3/13
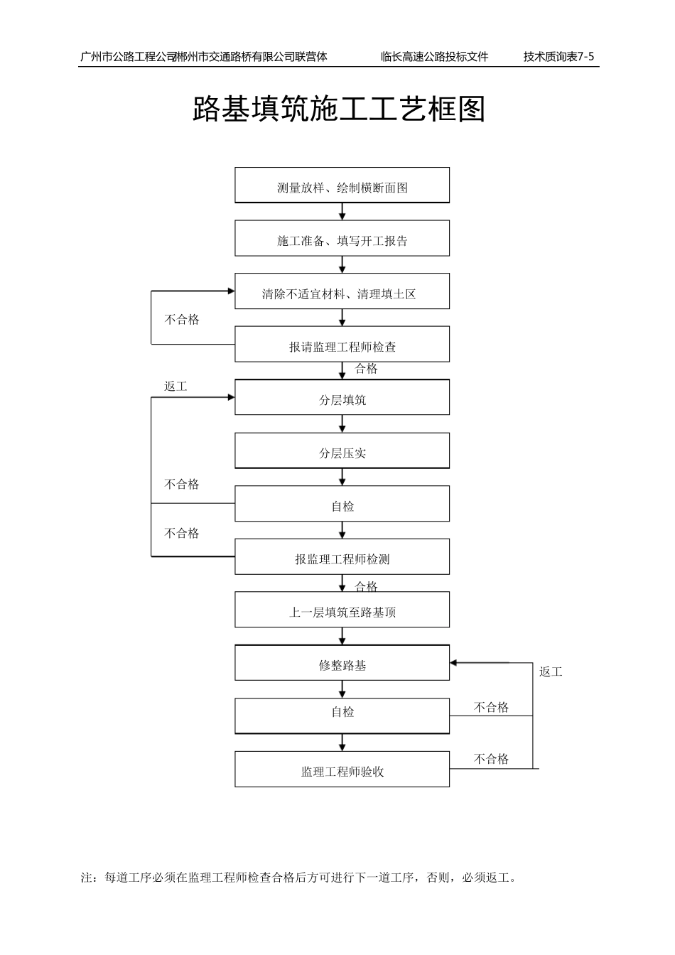
广 州 市 公 路 工 程 公 司/郴 州 市 交 通 路 桥 有 限 公 司 联 营 体 临长高速公 路 投标文件 技术质询表7-5 路基填筑施工工艺框图 不合格 合格 返工 不合格 不合格 合格 返工 不合格 不合格 注:每道工序必须在监理工程师检查合格后方可进行下一道工序,否则,必须返工。 测量放样、绘制横断面图 施工准备、填写开工报告 清除不适宜材料、清理填土区 报请监理工程师检查 分层填筑 自检 报监理工程师检测 上一层填筑至路基顶 修整路基 自检 分层压实 监理工程师验收 广 州 市 公 路 工 程 公 司/郴 州 市 交 通 路 桥 有 限 公 司 联 营 体 临长高速公 路 投标文件 技术质询表7-5 深路堑施工工艺框图 施工准备 测量放样 砍树、清表 修便道或挖平台 分级开挖 分级防护 路基修整 人工修整边坡 广 州 市 公 路 工 程 公 司/郴 州 市 交 通 路 桥 有 限 公 司 联 营 体 临长高速公 路 投标文件 技术质询表7-5 水泥砼路面面层施工工艺框图 不 合 格 汽车运输 不合格 下承层准备 检测 测量、放样、挂线 进料 摊铺机摊铺 局部整修 检测 养生 材料配比实验 备料 混合料拌合 局部修补或返工 拌和场建设 机械调试 广 州 市 公 路 工 程 公 司/郴 州 市 交 通 路 桥 有 限 公 司 联 营 体 临长高速公 路 投标文件 技术质询表7-5 圆管涵施工工艺框图 不合格 合格 清理场地 测量放样 开挖基坑基底检平测量标高 检测基底承载力 铺设砂砾垫层及基底砼 铺设管节 接缝嵌缝 施工单位自检 监理工程师验收 回填土 洞口砌筑 报请工程师验收 签发中间交工证书 夯实 广 州 市 公 路 工 程 公 司/郴 州 市 交 通 路 桥 有 限 公 司 联 营 体 临长高速公 路 投标文件 技术质询表7-5 级配碎石基层施工工艺框图 不 合 格 砼运输车运输 合格 合格 下基层准备 材料配合比实验 检测下承层 测量、放样 摊铺机摊铺格 碾压成形 检测 交通控制 备料 拌和 局部返修或返工 广 州 市 公 路 工 程 公 司/郴 州 市 交 通 路 桥 有 限 公 司 联 营 体 临长高速公 路 投标文件 技术质询表7-5 帽梁施工工艺图 安装牛腿 吊装工字棚 安装底模 修凿接头砼 测量放样 调整底模板 绑扎钢筋 安装侧模板 浇注砼 养生 钢筋制...

1、当您付费下载文档后,您只拥有了使用权限,并不意味着购买了版权,文档只能用于自身使用,不得用于其他商业用途(如 [转卖]进行直接盈利或[编辑后售卖]进行间接盈利)。
2、本站所有内容均由合作方或网友上传,本站不对文档的完整性、权威性及其观点立场正确性做任何保证或承诺!文档内容仅供研究参考,付费前请自行鉴别。
3、如文档内容存在违规,或者侵犯商业秘密、侵犯著作权等,请点击“违规举报”。

碎片内容

路基填筑施工工艺框图

确认删除?
VIP
微信客服
  • 扫码咨询
会员Q群
  • 会员专属群点击这里加入QQ群
客服邮箱
回到顶部