电脑桌面
添加小米粒文库到电脑桌面
安装后可以在桌面快捷访问

通信设备故障处理程序VIP免费

通信设备故障处理程序_第1页
1/12
通信设备故障处理程序_第2页
2/12
通信设备故障处理程序_第3页
3/12
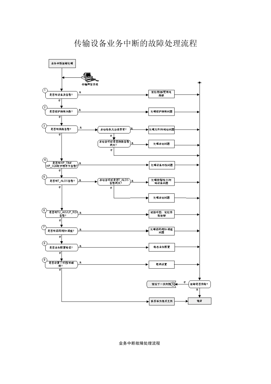
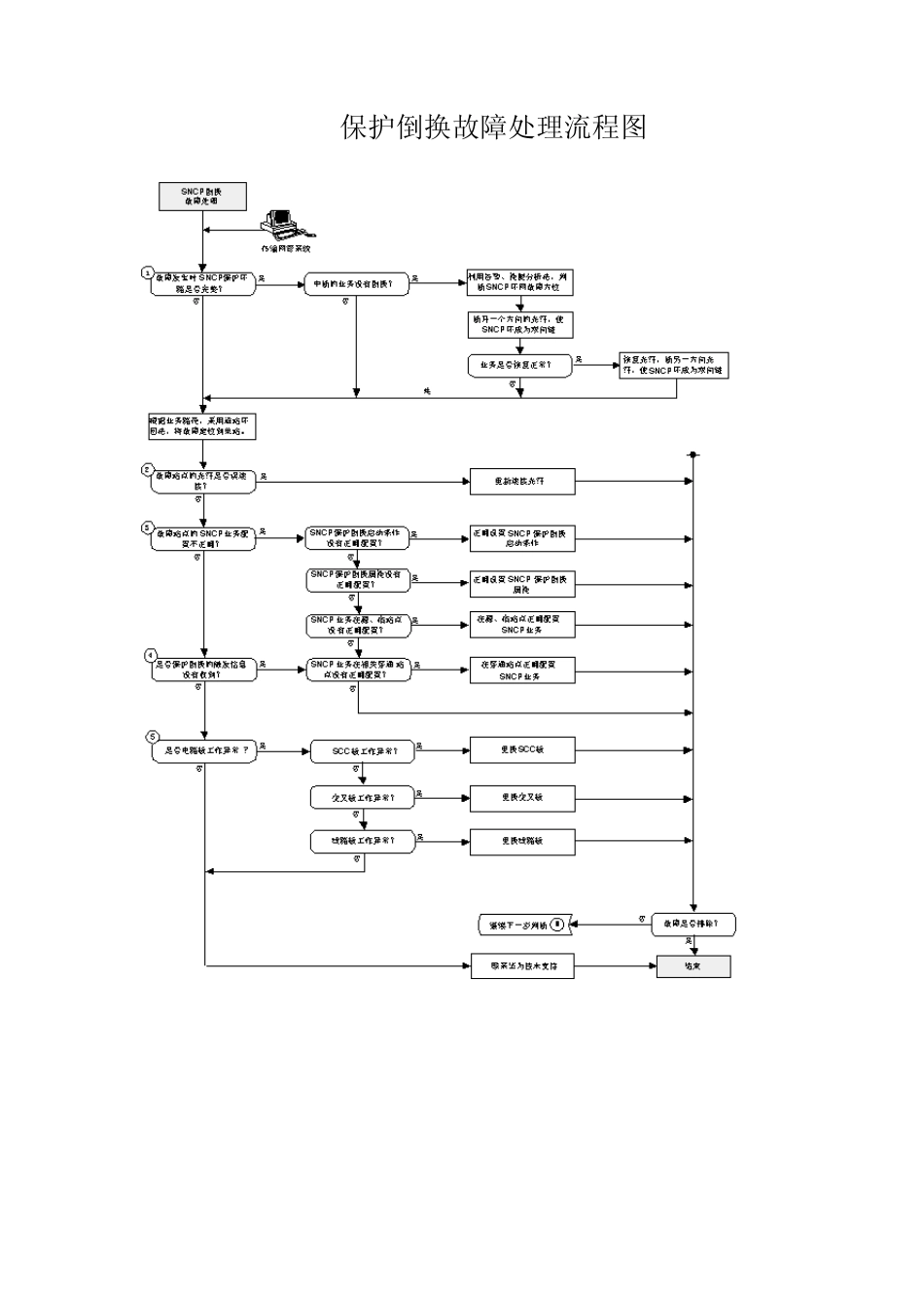
传输设备业务中断的故障处理流程 业务中断故障处理流程 传输设备误码故障的处理流程 SNCP保护倒换故障处理流程图 时钟保护倒换故障处理流程图 传输设备重大故障处理流程 重大故障是指用户业务中断的故障。需要得到及时、有效的处理。为此制定了重大故障处理流程。 流程图说明 1、进行故障记录时,做到对故障发生的全过程进行真实、详细的记录。对于像故障发生的时间,在故障出现前后曾经做过哪些操作等重要信息都要进行详实地记录,同时对于网管中的告警信息,性能事件等重要数据也要进行保存并注意观察。 当发现故障是由于明显的外部原因造成时,如光缆问题,终端设备(交换机等)的问题,应及时进入相应的其他处理流程,确保故障尽快解决。 2、处理故障时,以尽快恢复业务为原则。 3、在解决问题时,对设备的操作应该严格按照操作规范进行,如必须佩戴防静电手带等。 4、在解决问题的过程中,尽量通过故障分析解决问题,不要盲目地进行掉电、拔板、换板等操作,避免因为维护操作不当而导致问题扩大化。 5、在自身无法解决问题的情况下,尽快联系华为技术有限公司驻当地办事处或拨打热线电话:800-8302-118,以获取技术支援。在最短的时间内,将由您和华为技术有限公司的维护工程师共同对故障进行分析和定位,并制定解决方案。 自 动电话故障处理流程图 故障受理登记故障发生时间,报告人,问清故障现象综合分析。普通故障在中配架断开用户端试验/正常?通知网管,配合处理NOYES处理恢复在用户端试验话机是否良好?修理/更换话机处理恢复YESNO检查线路检查地插连接是否良好/是否地气?检查各处配线是否良好?采用逐段排除法缩短故障范围,最终定位故障并排除处理恢复试验良好、交付使用,做好登记,正常结束。 调度业务故障处理流程图 故障受理登记故障发生时间,报告人,问清故障现象综合分析。软件故障通知网管检查数据配合试验处理恢复试验良好、交付使用,做好登记,正常结束 。试验—判断故障性质硬件故障本地故障站点故障通知所属单位并配合处理线路故障前台故障更换或修复损坏部件 分别检查2B+D和电源线,找出故障点 程控交换设备应急预案 一、 应急终端的安装(在WINDOWS 98操作系统下的典型安装): 1、 将原来终端上的data、CC08文件夹备份出来。 2、 将cc08程控交换机安装软件复制到需安装的电脑上。 3、 运行disk\setup.exe文件,进入安装对话框。 4、 按安装提示进行下一步。 5、 在出现“输入序列...

1、当您付费下载文档后,您只拥有了使用权限,并不意味着购买了版权,文档只能用于自身使用,不得用于其他商业用途(如 [转卖]进行直接盈利或[编辑后售卖]进行间接盈利)。
2、本站所有内容均由合作方或网友上传,本站不对文档的完整性、权威性及其观点立场正确性做任何保证或承诺!文档内容仅供研究参考,付费前请自行鉴别。
3、如文档内容存在违规,或者侵犯商业秘密、侵犯著作权等,请点击“违规举报”。

碎片内容

通信设备故障处理程序

确认删除?
VIP
微信客服
  • 扫码咨询
会员Q群
  • 会员专属群点击这里加入QQ群
客服邮箱
回到顶部