电脑桌面
添加小米粒文库到电脑桌面
安装后可以在桌面快捷访问

测绘本科毕业论文设计内容要求VIP免费

测绘本科毕业论文设计内容要求_第1页
1/6
测绘本科毕业论文设计内容要求_第2页
2/6
测绘本科毕业论文设计内容要求_第3页
3/6
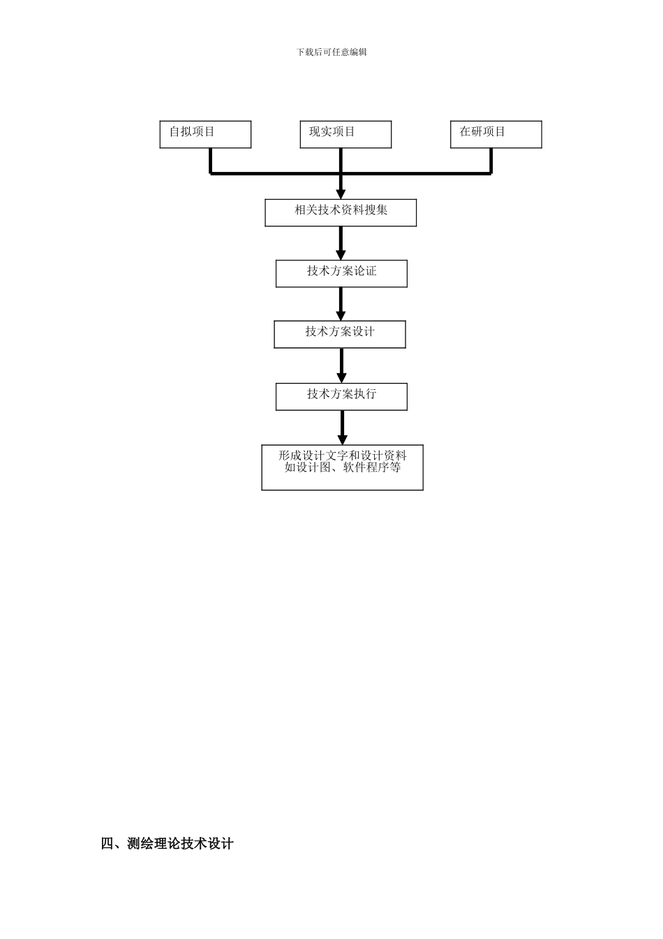
下载后可任意编辑测绘本科毕业论文设计内容要求测绘本科毕业设计和毕业论文是本科生培育方案中的重要环节,旨在培育学生综合运用所学的基础理论、基本知识和技能,独立分析与解决实际问题的能力,巩固和加强学生所学的基础课与专业课的知识,弥补教学过程中默写薄弱环节,提高学僧实际操作的技能以及分析思维能力和综合运用知识的能力,是学生能够掌握专业文献检索、调查讨论统计分析的基本方法,提高学生进行科学讨论的初步能力。毕业设计侧重于技术运用方面,而毕业论文侧重于学术讨论方面,基于我系测绘专业毕业学生的客观情况及我校的情况,今后我系测绘毕业生统一进行毕业设计,尽量不进行毕业论文撰写,其毕业设计法律规范应符合商丘师范学院毕业设计法律规范要求。测绘毕业设计应测量项目纲要为指导,以资料数据为基础,应用所学测量技术理论进行项目工程测量方案设计或某项测量方案技术理论在项目工程中应用步骤内容及注意事项和优化方法,一般可分为测绘工程项目技术方案设计和测绘理论技术设计。一、目的(1)培育学生综合运用所学知识,结合实际独立完成课题的工作能力。 (2)对学生的知识面,掌握知识的深度,运用理论结合实际去处理问题的能力,实验能力,外语水平,计算机运用水平,书面及口头表达能力进行考核二、要求(1)要求一定要有结合实际的某项具体项目的设计或对某具体课题进行有独立见解的论证,并要求技术含量较高; (2)设计或论文应该在教学计划所规定的时限内完成; (3)书面材料:框架及字数应符合规定。三、项目方案设计下载后可任意编辑四、测绘理论技术设计现实项目自拟项目在研项目相关技术资料搜集技术方案论证技术执行形成设计文字和设计资料如设计图纸、软件程序等技术方案论证技术方案执行形成设计文字和设计资料如设计图、软件程序等技术方案设计下载后可任意编辑五、毕业设计参考题目 主要包括大地测量、遥感及地心方面,如: 1. 某特大桥专项施工测量方案2. 大型巷道贯穿测量毕业设计3. XX 隧道监控量测毕业设计4. 地形图测绘毕业设计5. 测绘监理在大面积数字化测图中的应用6. 面对对象的遥感影像分割方法讨论7. 遥感在城市规划中的应用8. 谈施工前如何测量恢复定线现实理论设计自拟理论设计相关技术资料搜集理论分析讨论理论技术设计并形成方案如公式、方法步骤、程序设计等原数据采集并验证理论技术方案可行性在研理论设计结论分析及项目中应用的可行性形成设计文字论文集相关资料如设...

1、当您付费下载文档后,您只拥有了使用权限,并不意味着购买了版权,文档只能用于自身使用,不得用于其他商业用途(如 [转卖]进行直接盈利或[编辑后售卖]进行间接盈利)。
2、本站所有内容均由合作方或网友上传,本站不对文档的完整性、权威性及其观点立场正确性做任何保证或承诺!文档内容仅供研究参考,付费前请自行鉴别。
3、如文档内容存在违规,或者侵犯商业秘密、侵犯著作权等,请点击“违规举报”。

碎片内容

测绘本科毕业论文设计内容要求

您可能关注的文档

确认删除?
VIP
微信客服
  • 扫码咨询
会员Q群
  • 会员专属群点击这里加入QQ群
客服邮箱
回到顶部