电脑桌面
添加小米粒文库到电脑桌面
安装后可以在桌面快捷访问

2015一建《水利》真题及参考答案VIP免费

2015一建《水利》真题及参考答案_第1页
1/23
2015一建《水利》真题及参考答案_第2页
2/23
2015一建《水利》真题及参考答案_第3页
3/23
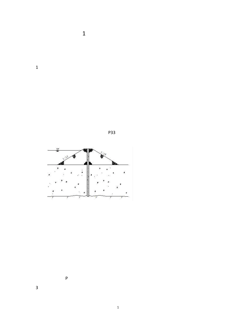
12015年一级建造师考试真题及参考答案《水利水电管理与实务》一、单项选择题1.反映水泥砂浆保水性的技术指标是( )。A.沉入度B.泌水度C.分层度D.坍落度【解析】本题考查的是建筑材料的应用条件。工程上采用分层度这一指标来表示水泥砂浆的流动性。参见教材 P 3 3 。2.如图所示土围堰的防渗形式属于()。A.斜墙式B.斜墙带水平铺盖式C.垂直防渗墙式D.灌浆帷幕式【解析】本题考查的是围堰的基本形式及构造。土石围堰的防渗结构形式有斜墙式、斜墙带水平铺盖式、垂直防渗墙式及灌浆帷幕式等。本题为垂直防渗墙式。参见教材 P 55。3 .形状如图所示的高压喷射灌浆凝结体,其喷射形式属于( )。2A.旋喷B.摆喷C.定喷D.提喷【解析】本题考查的是高压喷射灌浆。高压喷射灌浆的喷射形式有旋喷、摆喷、定喷三种。本题为定喷。参见教材P69。4.自航耙吸式挖泥船处理疏浚泥土的方法属于()。A.吹填法B.边抛法C.水上抛泥法D.水下抛泥法【解析】本题考查的是泥土的处理。自航耙吸式挖泥船在疏浚作业中,一边挖泥,一边将泥浆排入水中,随水流带走。属于边抛法。参见教材P120。5.根据《水电水利工程锚喷支护施工规范》(DL/T5181—2003),边坡工程采用非张拉型锚杆支护,其中任意一根锚杆的抗拔力不得低于设计值的()。A.80%B.85%C.90%D.95%【解析】本题考查的是水力发电工程混凝土面板坝、灌浆与锚固施工的内容。非张拉型锚杆的质量检查的有关规定:(1)同组锚杆的抗拔力平均值应符合设计要求;(2)任意一根锚杆的抗拔力不得低于设计值的90%。参见教材P443。6.根据《水利水电工程钢闸门制造安装及验收规范》(DL/T5018-2004) ,下列关于闸门验收的说法,错误的是()。3A.闸门安装好后,应在无水情况下作全行程启闭试验B.闸门试验时,应在橡胶水封处浇水润滑C.有条件时,工作闸门应作动水启闭试验D.有条件时,事故闸门应作动水启闭试验【解析】本题考查的是水力发电工程金属结构与水轮发电机组安装的内容。有条件时,工作闸门应作动水启闭试验,事故闸门应作动水关闭试验。参见教材P445。7.按生产规模划分,生产能力为150m³/h 的混凝土拌合系统,属于()拌合设备。A.大(1)型B.大(2)型C.中型D.小型【解析】本题考查的是拌合设备生产能力的确定。拌和系统小时生产能力在50~200m3/h 之间的,属于中型规模。参见教材P97。8.明挖爆破工程发出的信号为鸣10s、停、鸣10s、停、鸣10s,该信号属于()。A.预告信号B.准备信号C.起爆信号D.解除信号...

1、当您付费下载文档后,您只拥有了使用权限,并不意味着购买了版权,文档只能用于自身使用,不得用于其他商业用途(如 [转卖]进行直接盈利或[编辑后售卖]进行间接盈利)。
2、本站所有内容均由合作方或网友上传,本站不对文档的完整性、权威性及其观点立场正确性做任何保证或承诺!文档内容仅供研究参考,付费前请自行鉴别。
3、如文档内容存在违规,或者侵犯商业秘密、侵犯著作权等,请点击“违规举报”。

碎片内容

2015一建《水利》真题及参考答案

确认删除?
VIP
微信客服
  • 扫码咨询
会员Q群
  • 会员专属群点击这里加入QQ群
客服邮箱
回到顶部