电脑桌面
添加小米粒文库到电脑桌面
安装后可以在桌面快捷访问

隧道施工工艺流程图VIP免费

隧道施工工艺流程图_第1页
1/12
隧道施工工艺流程图_第2页
2/12
隧道施工工艺流程图_第3页
3/12
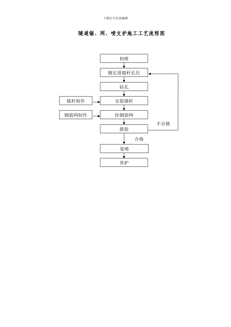
下载后可任意编辑 精品文档下载 最新资料,word 文档,可以自由编辑!!下载后可任意编辑【本页是封面,下载后可以删除!】下载后可任意编辑隧道锚、网、喷支护施工工艺流程图初喷测定放锚杆孔位钻孔安装锚杆挂钢筋网报验养护复喷锚杆制作钢筋网制作合格不合格下载后可任意编辑左侧上部开挖、出碴CRD 法施工工序工艺流程图拆除底部临时横撑,底部开挖、出碴,接长临时钢架基底加固仰拱初期支护拆除临时钢架、仰拱衬砌仰拱填充施工下一工序围岩监控量测围岩监控量测测量放线左侧拱部超前支护左侧上部、上部中隔壁初期支护、横支撑施工同时进行左侧下部开挖、出碴右侧拱部超前支护右侧上部开挖、出碴超前地质预报围岩监控量测右侧下部初期支护 , 必要时架设底部横撑右侧上部、上部中隔壁初期支护、横支撑施工同时进行右侧下部开挖、出碴左侧下部初期支护 , 必要时架设底部横撑下载后可任意编辑台阶法施工工序工艺流程图围岩监控量测仰拱填充施工下一工序仰拱下导坑开挖、出碴下部初期支护围岩监控量测围岩监控量测围岩稳定性评判、修正施工方案,确定二次衬砌施作时间测量放线拱部超前支护上导坑开挖、出碴上部初期支护超前地质预报下载后可任意编辑弧形导坑预留核心土施工工序工艺流程图测量放线拱部超前支护上部环行开挖、出碴核心土及中部开挖、出碴中部初期支护下部开挖、出碴下部初期支护底部开挖超前地质预报仰拱填充施工下一工序上部初期支护底部初期支护仰拱围岩监控量测围岩监控量测围岩监控量测围岩监控量测上中下部进行四个循环围岩稳定性评判、修正施工方案,确定二次衬砌施作时间下载后可任意编辑湿喷混凝土施工工艺流程图前期准备施喷面的清理计量配料拌 合砂、石、水泥、水、外加剂、纤维素混凝土搅拌站装运喷料现场喷射砼综合检查结束加速凝剂不合格混凝土喷射机补喷混凝土合格下载后可任意编辑二次衬砌混凝土施工工艺流程图布设轨道台车移位中线控制、顶模中心高及边模净空检测台车就位模板整修涂脱模剂止水带安装预埋件基仓清理台车加固输送管道安装挡头板安装砼浇筑拆模养护标养 , 同养取样做砼试件砼生产、运输轨道标高测量控制轨距输送泵台车拼装定制台车衬砌背后压浆仰拱、填充超前,提前一板衬砌完成钢筋绑扎下载后可任意编辑平导揭煤防突作业流程图 物 探 超前钻孔 煤系地层实施 煤系地层实施 探测孔 预测孔 每层煤实施 每层煤实施 揭 煤 煤与瓦斯突出性预测 编制实施性防突设计 有突出危险 实施防...

1、当您付费下载文档后,您只拥有了使用权限,并不意味着购买了版权,文档只能用于自身使用,不得用于其他商业用途(如 [转卖]进行直接盈利或[编辑后售卖]进行间接盈利)。
2、本站所有内容均由合作方或网友上传,本站不对文档的完整性、权威性及其观点立场正确性做任何保证或承诺!文档内容仅供研究参考,付费前请自行鉴别。
3、如文档内容存在违规,或者侵犯商业秘密、侵犯著作权等,请点击“违规举报”。

碎片内容

隧道施工工艺流程图

您可能关注的文档

确认删除?
VIP
微信客服
  • 扫码咨询
会员Q群
  • 会员专属群点击这里加入QQ群
客服邮箱
回到顶部