电脑桌面
添加小米粒文库到电脑桌面
安装后可以在桌面快捷访问

动物产地检疫流程图

动物产地检疫流程图_第1页
1/6
动物产地检疫流程图_第2页
2/6
动物产地检疫流程图_第3页
3/6
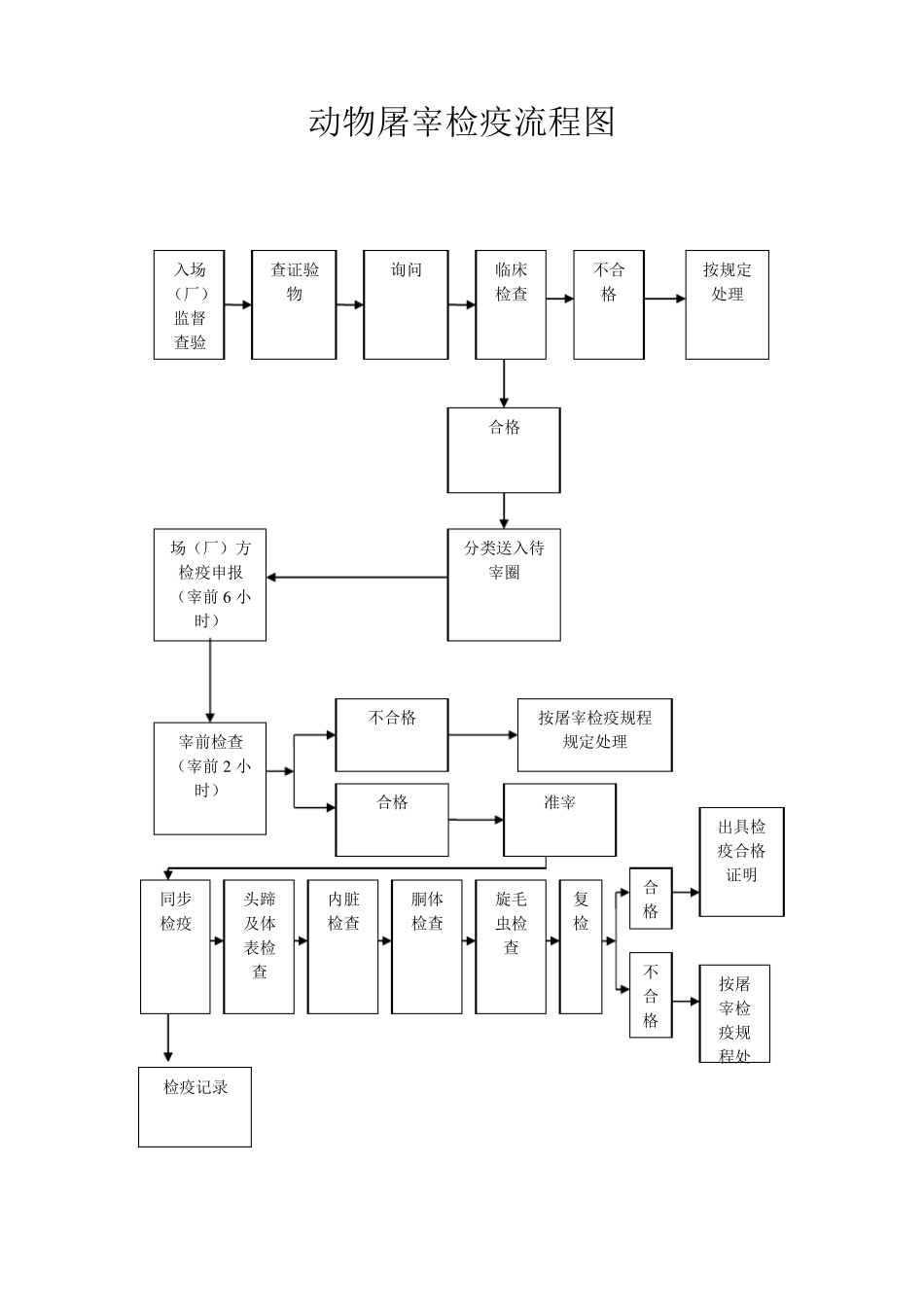
动物产地检疫流程图 检疫申报 不受理 受理 说明理由 派出官方兽医到场或指定地点 查验资料及畜禽标识 《动物防疫条件合格证》养殖档案 查验畜禽标识加施情况 临床检查 群体检查 个体检查 实验室检测 出具检疫合格证明 按规定处理 合格 不合格 临床检查 检疫记录 动物屠宰检疫流程图 入场(厂)监督查验 查证验物 询问 临床检查 不合格 按规定处理 合格 分类送入待宰圈 场(厂)方检疫申报(宰前 6 小时) 宰前检查(宰前 2 小时) 不合格 合格 按屠宰检疫规程规定处理 准宰 同步检疫 头蹄及体表检查 内脏检查 胴体检查 旋毛虫检查 复检 合格 不合格 出具检疫合格证明 按屠宰检疫规程处检疫记录 动物检疫管理办法(全文) 中华人民共和国农业部令 2010 年 第6 号 《动物检疫管理办法》已经2010 年1 月4 日农业部第一次常务会议审议通过,现予发布,自2010 年3 月1 日起施行。2002 年5 月24 日农业部发布的《动物检疫管理办法》(农业部令第14 号)同时废止。 部长 韩长赋 二〇一〇年一月二十一日 动物检疫管理办法 第一章 总则 第一条 为加强动物检疫活动管理,预防、控制和扑灭动物疫病,保障动物及动物产品安全,保护人体健康,维护公共卫生安全,根据《中华人民共和国动物防疫法》(以下简称《动物防疫法》),制定本办法。 第二条 本办法适用于中华人民共和国领域内的动物检疫活动。 第三条 农业部主管全国动物检疫工作。 县级以上地方人民政府兽医主管部门主管本行政区域内的动物检疫工作。 县级以上地方人民政府设立的动物卫生监督机构负责本行政区域内动物、动物产品的检疫及其监督管理工作。 第四条 动物检疫的范围、对象和规程由农业部制定、调整并公布。 第五条 动物卫生监督机构指派官方兽医按照《动物防疫法》和本办法的规定对动物、动物产品实施检疫,出具检疫证明,加施检疫标志。 动物卫生监督机构可以根据检疫工作需要,指定兽医专业人员协助 官方兽医实施动物检疫。 第六 条 动物检疫遵 循 过程监管、风 险 控制、区域化 和可追 溯 管理相 结 合 的原 则。 第二章检疫申 报 第七条 国家实行动物检疫申报制度。 动物卫生监督机构应当根据检疫工作需要,合理设置动物检疫申报点,并向社会公布动物检疫申报点、检疫范围和检疫对象。 县级以上人民政府兽医主管部门应当加强动物检疫申报点的建设和管理。 第八条 下列动物、...

1、当您付费下载文档后,您只拥有了使用权限,并不意味着购买了版权,文档只能用于自身使用,不得用于其他商业用途(如 [转卖]进行直接盈利或[编辑后售卖]进行间接盈利)。
2、本站所有内容均由合作方或网友上传,本站不对文档的完整性、权威性及其观点立场正确性做任何保证或承诺!文档内容仅供研究参考,付费前请自行鉴别。
3、如文档内容存在违规,或者侵犯商业秘密、侵犯著作权等,请点击“违规举报”。

碎片内容

动物产地检疫流程图

您可能关注的文档

确认删除?
VIP
微信客服
  • 扫码咨询
会员Q群
  • 会员专属群点击这里加入QQ群
客服邮箱
回到顶部