电脑桌面
添加小米粒文库到电脑桌面
安装后可以在桌面快捷访问

物资采购管理措施VIP专享

物资采购管理措施_第1页
1/11
物资采购管理措施_第2页
2/11
物资采购管理措施_第3页
3/11
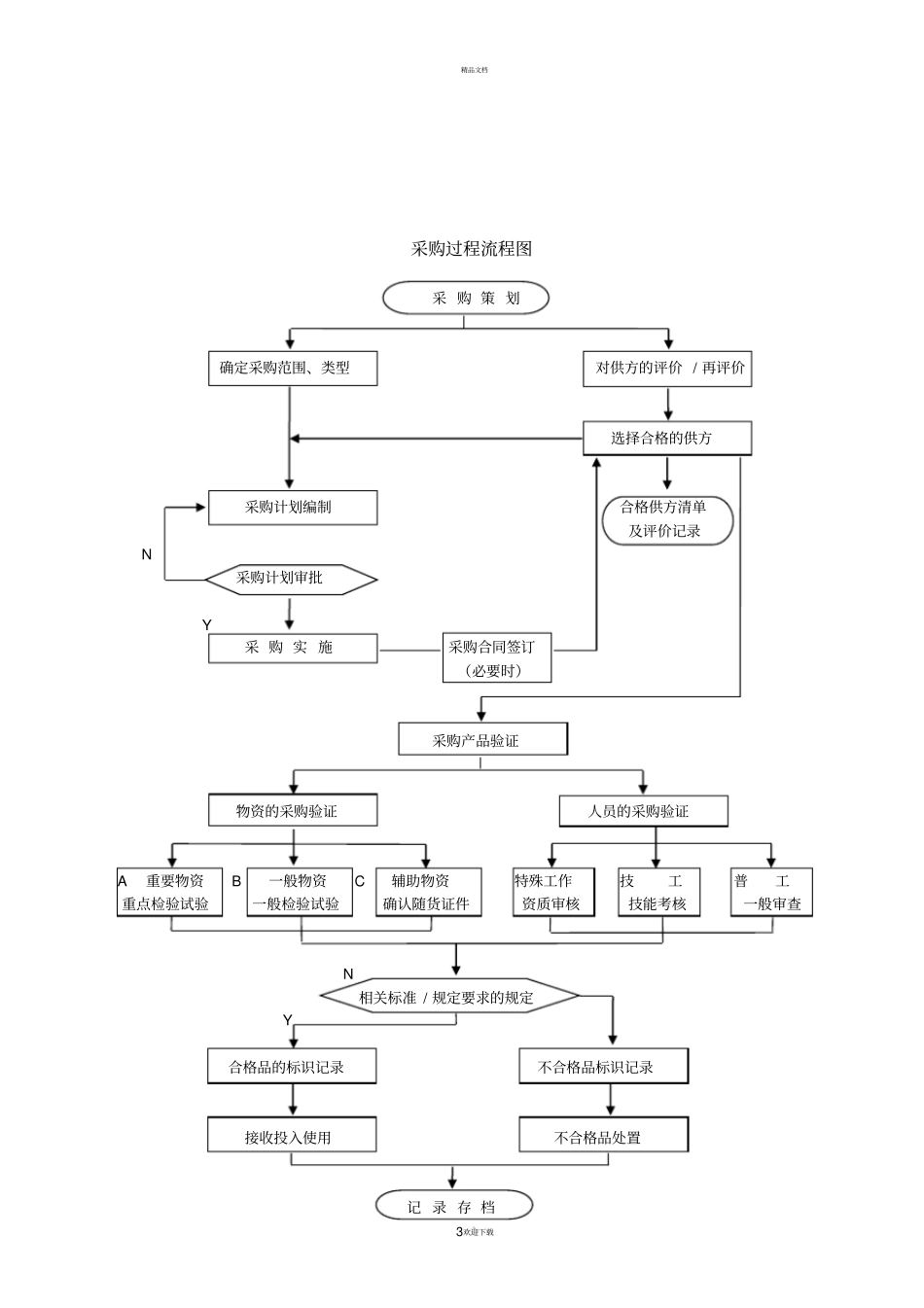
精品文档。1欢迎下载水电三局安装公司柴家峡项目部物资采购管理措施1目的为了保证水电三局安装公司柴家峡项目部采购产品的质量,对采购过程、采购信息、采购产品的验证等环节进行控制,对供方进行评价、再评价,确保采购的产品符合规定的采购要求,防止使用不合格采购产品影响工程质量,特制定本程序。2范围本程序适用于水电三局安装公司柴家峡项目部所需材料、成品、半成品、工程设施、施工设备的采购控制及管理。3相关文件中国水利水电第三工程局企业标准。4 职责4.1 本措施以项目经理为第一责任人。4.2 本措施由项目副经理进行总体控制和督促实施。4.3 本措施由项目部物资设备管理人员和采购人员具体执行。5 内容5.1 采购过程 ( 见采购过程流程图 ) 5.1.1 对供方的评价 / 再评价5.1.1.1 项目部必须对供方进行评价/ 再评价,建立对供方评价/ 再评价质量记录及合格供方名录、合格供方业绩档案,从中选择合格供方,避免采购工作的盲目性和随意性,保证质量、降低成本;5.1.1.2 项目部对于重要物资、大批量物资、新型材料及对工程质量有直接影响的物资,对供方进行定期评价,确保采购物资质量。精品文档。2欢迎下载5.1.1.3 项目部对工程用主要材料及大型施工设备,必须按《材料采购工作规程》、《施工设备采购工作规程》对供方进行控制,对供方质量保证能力进行评价和审查、评价可用以下两种方法: a)评价供方以往证实能力和业绩的记录; b)对供方的供货能力及质量保证体系进行现场评价。5.1.1.4 采购必须在列入合格供方名录范围内进行,应急情况下的临时采购,原则上仍按规定程序执行,如确因时间紧迫,必须经主管领导批准,作一次性采购。5.1.1.5 其它材料或一般施工设备的采购,通过对提供样品进行鉴定、比价、议价、评估等方式来确定供方,其必须是得到国家承认的有资质和信誉的供方。必要时也需对供方进行评价,建立合格供方名录。5.1.1.6 项目部对合格供方进行监控,并保存相应记录,定期分析评价,每年一次。5.1.1.7 项目部应严格按工程局《材料供方评价办法》及《施工设备供方评价办法》对供方进行评价 / 再评价,可遵循以下原则: a)供方产品供应表现状况,包括产品质量、交货期、履约能力等; b)供方质量管理体系对于按要求如期提供产品的保证能力; c)供方的顾客满意程度,例如本组织或其它单位对该供方的评价; d)供方交付产品之后的服务和支持能力,如零件供应、配套服务等; e)其它如价格、供方履约的...

1、当您付费下载文档后,您只拥有了使用权限,并不意味着购买了版权,文档只能用于自身使用,不得用于其他商业用途(如 [转卖]进行直接盈利或[编辑后售卖]进行间接盈利)。
2、本站所有内容均由合作方或网友上传,本站不对文档的完整性、权威性及其观点立场正确性做任何保证或承诺!文档内容仅供研究参考,付费前请自行鉴别。
3、如文档内容存在违规,或者侵犯商业秘密、侵犯著作权等,请点击“违规举报”。

碎片内容

物资采购管理措施

确认删除?
VIP
微信客服
  • 扫码咨询
会员Q群
  • 会员专属群点击这里加入QQ群
客服邮箱
回到顶部