电脑桌面
添加小米粒文库到电脑桌面
安装后可以在桌面快捷访问

系统影响性评价

系统影响性评价_第1页
1/4
系统影响性评价_第2页
2/4
系统影响性评价_第3页
3/4
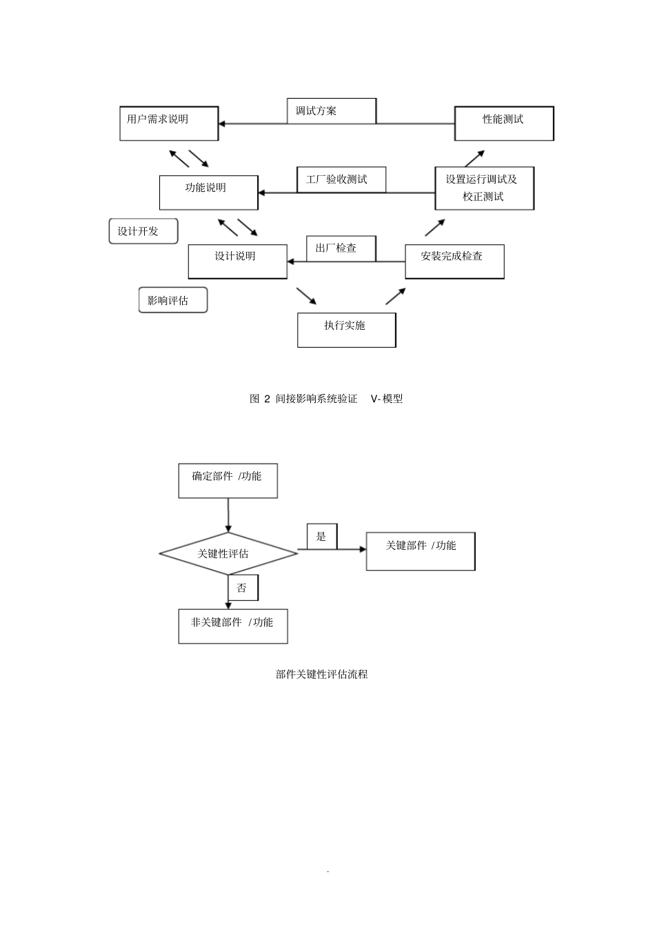
.系统影响性评估流程图确定系统:系统是具有特定功能的一组工程组件〔例如,设施、设备、管道、仪表、计算机硬件和计算机软件〕 。系统影响评估分为三类——直接影响系统、间接影响系统和无影响系统序号问题设施 /设备1 系统是否直接影响关键工艺参数或关键质量属性?2 系统是否与产品或工艺流直接接触,并对最终产品质量有潜在影响或给患者带来风险?3 系统是否提供辅料或用于某一成分或溶剂,而这些物质的质量〔或其缺失〕可能对最终产品质量有潜在影响或给患者带来风险?4 系统是否用于清洁、消毒或灭菌,并且系统故障可能导致清洁、消毒或灭菌的失败,从而给患者带来风险?5 系统是否提供一个适宜的环境〔如氮气保护,温湿度的维护,且这些参数为 CPP的一局部时〕 来控制与患者相关的风险?6 系统是否产生,处理货存储用于产品放行或拒收的数据,关键工艺参数, 或 21CFR Part 11 和 EU GMP Vol.4,Annex 11 中相关的电子记录?7 系统是否提供容器密封或产品保护,如失败将会给患者带来风险或导致产品质量下降?确定系统系统范围界定系统是否对产品质量具有直接影响?系统是否与直接影响系统相关联?无影响系统支持判定的依据直接影响系统间接影响系统是否否.8 系统是否提供产品识别信息〔如批号、有效期、防伪标志〕?9 系统是否对产品质量没有直接影响,但是支持直接影响系统?所列 1~8 个问题中任何一个的答案为“是〞,系统即必须被评估为具有直接影响,直接影响系统按照下列图1 进行验证活动所列 1~8 个问题中任何一个的答案为“否〞,第9 个问题为“是〞那么系统被评估为间接影响系统,间接影响系统按照下列图2 进行验证活动所列所有问题的答案均为“否〞那么系统呗评估为无影响系统。可能影响产品质量方面图 1 直接影响系统验证V-模型用户需求功能设计详细设计执行安装确认运行确认性能确认PQ 测试方案OQ 测试方案IQ 测试方案包括工厂测试包括工厂检查设计开发影响评估.图 2 间接影响系统验证V-模型部件关键性评估流程用户需求说明功能说明设计说明执行实施安装完成检查设置运行调试及校正测试性能测试调试方案工厂验收测试出厂检查设计开发影响评估确定部件 /功能关键性评估非关键部件 /功能关键部件 /功能是否.序号问题实施 /设备1 部件是否用于证明符合所注册工艺的规定?2 功能 /部件是否用于控制一个关键工艺参数?3 功能 /部件的正常操作或控制对产品质量或成效是够具有直接影响...

1、当您付费下载文档后,您只拥有了使用权限,并不意味着购买了版权,文档只能用于自身使用,不得用于其他商业用途(如 [转卖]进行直接盈利或[编辑后售卖]进行间接盈利)。
2、本站所有内容均由合作方或网友上传,本站不对文档的完整性、权威性及其观点立场正确性做任何保证或承诺!文档内容仅供研究参考,付费前请自行鉴别。
3、如文档内容存在违规,或者侵犯商业秘密、侵犯著作权等,请点击“违规举报”。

碎片内容

系统影响性评价

您可能关注的文档

确认删除?
VIP
微信客服
  • 扫码咨询
会员Q群
  • 会员专属群点击这里加入QQ群
客服邮箱
回到顶部