电脑桌面
添加小米粒文库到电脑桌面
安装后可以在桌面快捷访问

旋挖钻孔灌注桩作业指导书

旋挖钻孔灌注桩作业指导书_第1页
1/25
旋挖钻孔灌注桩作业指导书_第2页
2/25
旋挖钻孔灌注桩作业指导书_第3页
3/25
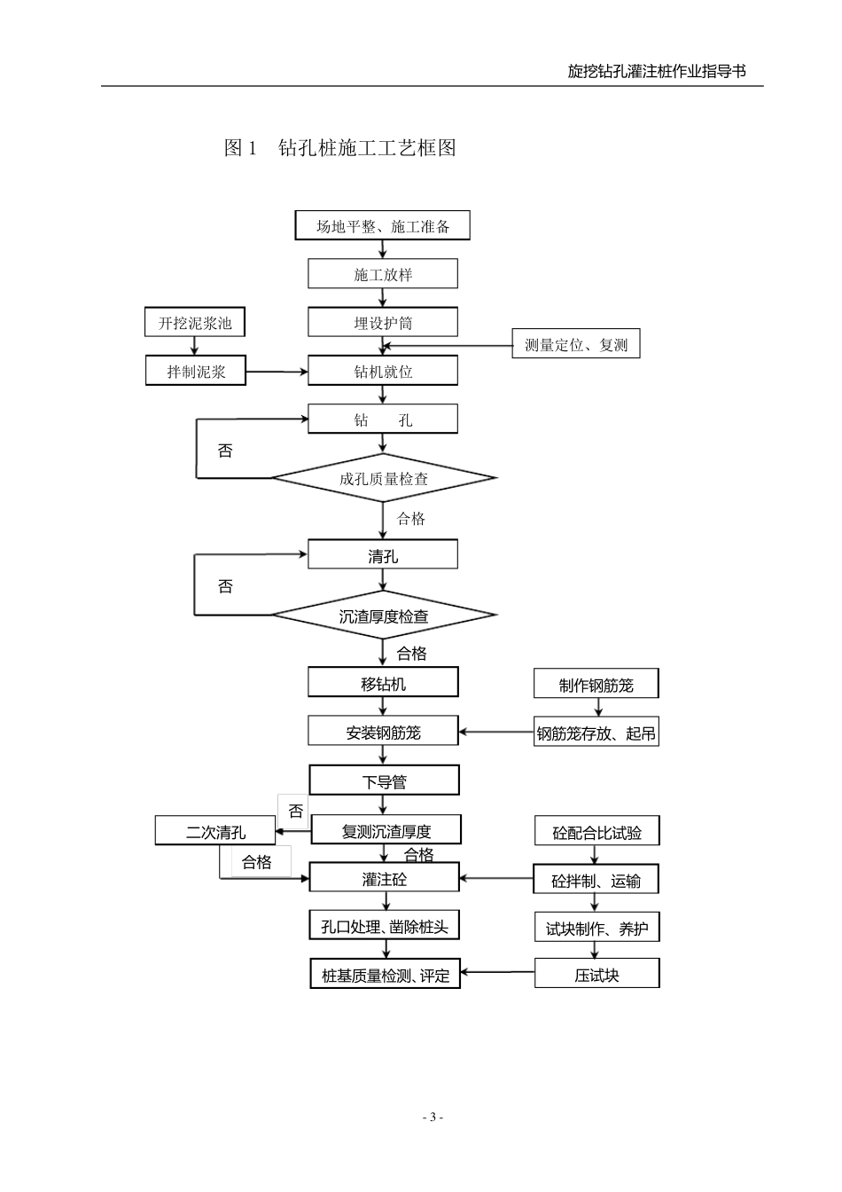
旋 挖 钻 孔 灌 注 桩 作 业指导书 - 1 - 旋挖钻孔灌注桩作业指导书 1 目的 明确桥梁桩基旋挖钻灌注桩作业的工艺流程、操作要点和相应的工艺标准,指导、规范桩基作业施工。 2 编制依据 《客运专线铁路桥涵工程施工质量验收暂行标准》 《客运专线铁路桥涵工程施工技术指南》 《XX 铁路客运专线施工图设计文件》 3 适用范围 适用于砂类土、碎(卵)石土或中等以下基岩的桥墩桩基施工。施工前应根据不同的地质采用不等的钻头。目前国内常用的德国产BG系列、意大利的R系列旋挖钻机和国产的“三·一”系列。 4 机械设备 旋挖钻机、泥浆泵、混凝土搅拌运输车、装载机(钻渣外运) 、自卸汽车(钻渣外运)、吊车、电焊机、导管、护筒、下料斗等。 4.1 钻机的选用 钻孔桩主要采用意大利R-625 和SY-250、 SY-220C、“三·一”等旋挖钻机施工,旋挖钻机具备以下优势: 4.1 成孔速度快。与传统的循环钻机相比优势明显,这样就有效地保证了工程的进度。 4.2 环保特点突出 。与传统的循环钻机相比,旋挖钻机区 别 在 于可 以循环使 用泥浆,而 传统循环钻机是 不断 地产生 泥浆。旋挖钻机更 可 适用于干 成孔作业。 4.3 行走 移 位 方 便 。旋挖钻机的履 带 机构 可 将 钻机方 便 地移 动 到 所 要到 达的位 置 ,而 不像 传统循环钻机移 位 那 么 繁 琐 。 4.4 桩孔对 位 方 便 准确。这是 传统循环钻机根本 达 不到 的,在 对 位 过 程中操作手 在 驾 驶 室 内利用先 进的电子 设备就可 以精 确地实 现 对 位 ,使 钻机达 到最 佳 钻进状 态 。 旋 挖 钻 孔 灌 注 桩 作 业指导书 - 2 - 5 工艺流程及计术要求 5.1 钻孔顺序 由于旋挖钻行走移位方便,在桩孔的施工顺序安排上采用相邻墩台的桩孔交替施工,以便减少钻孔作业和混凝土灌注作业的相互干扰。钻孔桩施工顺序可采用《钻孔桩施工顺序示意图》的顺序,桩孔的施工顺序为1→1’→2→2’→3→3’→4→4’→5→5’→6→6’→7→7’→8→8’。实际施工时可按现场实际情况临时调整,但要以减少作业干扰为原则。 5.2 施工工艺框图 钻孔桩工程施工工艺框图如下: 5.3 施工准备 5.3.1 资料准备 1)开工前应具备场地工程的地质资料和必要的水文地质资料,桩基工程施工图及图纸会审纪要。 2) 施工现场环境和邻近区域内的地上地下管线(高压线、管道、电缆)、地下构筑...

1、当您付费下载文档后,您只拥有了使用权限,并不意味着购买了版权,文档只能用于自身使用,不得用于其他商业用途(如 [转卖]进行直接盈利或[编辑后售卖]进行间接盈利)。
2、本站所有内容均由合作方或网友上传,本站不对文档的完整性、权威性及其观点立场正确性做任何保证或承诺!文档内容仅供研究参考,付费前请自行鉴别。
3、如文档内容存在违规,或者侵犯商业秘密、侵犯著作权等,请点击“违规举报”。

碎片内容

旋挖钻孔灌注桩作业指导书

小辰5+ 关注
实名认证
内容提供者

出售各种资料和文档

确认删除?
VIP
微信客服
  • 扫码咨询
会员Q群
  • 会员专属群点击这里加入QQ群
客服邮箱
回到顶部