电脑桌面
添加小米粒文库到电脑桌面
安装后可以在桌面快捷访问

进度计划及工期保证

进度计划及工期保证_第1页
1/11
进度计划及工期保证_第2页
2/11
进度计划及工期保证_第3页
3/11
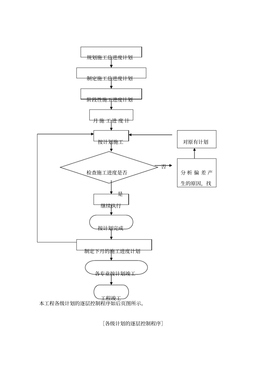
进度计划及工期保证一、施工总进度计划计划工期: 90-300 日历天,详见施工合同我公司保证在规定工期内完工,如不能在规定期限内完工我公司愿付全部责任,每延迟一天完工按合同总价的2%处罚。提前不受奖。本工程采用以下计划模式:(1)由总进度计划编制相应的施工计划。根据总进度计划制订阶段性施工计划和月计划,由阶段性施工计划和月计划制订周计划,再由周计划制订日计划,做到层层分解,逐层落实。(2)由各类计划保证总进度计划的实现,形成以日计划保证周计划,周计划保证月计划,月计划保证阶段性计划,阶段性计划保证总进度计划的计划保证体系。(3)计划实施过程中进行动态消项管理,检查和发现计划中的偏差,并及时调整和纠正,避免影响月计划、阶段性计划,进而影响总进度计划。(4)切实落实与水电配套计划的实施,从而保证施工计划的进展和实现。周计划日计划总进度计划阶段性计划月 计 划配套保证计划(5)对各专业进行计划协调,避免因工序、技术、作业面等矛盾而影响计划的实施。(6)对计划进行严格管理,建立相应的奖惩制度,切实保证计划的实施效果。(7)在施工过程中随时听取业主、监理对工程进度的意见和建议,并及时做出调整。(8)为保证总进度计划的实施,应制定以下配套计划:材料、设备的送审、订货、进场计划;施工机具使用计划;劳动力使用计划;加工件的加工计划;设备调试计划;验收计划;培训计划等。本工程各级计划的逐层控制程序如后页图所示。[各级计划的逐层控制程序]是否规划施工总进度计划制定施工总进度计划阶段性施工进度计划月 施 工 进 度 计按计划施工检查施工进度是否继续执行制定下月的施工进度计划按计划完成分 析 偏 差 产生的原因,找对原有计划各专业按计划竣工工程竣工编制施工进度计划将遵循以下原则(1)合同中关于各施工项目总体进度的要求;(2)国家及地方的有关法令、法规;(3)施工工艺标准规定的施工方法和施工工艺流程;(4)合同中规定的开、竣工日期;(5)设计图纸和设计说明;(6)有关设备的供货周期;(7)本工程的地理位置、交通状况及周边环境;(8)各工种之间的施工顺序和搭接关系;(9)本公司对本工程的各项承诺;(10)本公司同类工程施工管理经验。二、工期保证措施实现总工期目标的关键是控制好基础结构的施工进度,从而为内外装修、防水工程、水电安装等施工跟进创造条件。为保证施工进度,拟采取以下措施:⒈组织落实⑴为确保工程高速、优质施工,...

1、当您付费下载文档后,您只拥有了使用权限,并不意味着购买了版权,文档只能用于自身使用,不得用于其他商业用途(如 [转卖]进行直接盈利或[编辑后售卖]进行间接盈利)。
2、本站所有内容均由合作方或网友上传,本站不对文档的完整性、权威性及其观点立场正确性做任何保证或承诺!文档内容仅供研究参考,付费前请自行鉴别。
3、如文档内容存在违规,或者侵犯商业秘密、侵犯著作权等,请点击“违规举报”。

碎片内容

进度计划及工期保证

您可能关注的文档

确认删除?
VIP
微信客服
  • 扫码咨询
会员Q群
  • 会员专属群点击这里加入QQ群
客服邮箱
回到顶部