电脑桌面
添加小米粒文库到电脑桌面
安装后可以在桌面快捷访问

基于PLC机械手设计

基于PLC机械手设计_第1页
1/9
基于PLC机械手设计_第2页
2/9
基于PLC机械手设计_第3页
3/9
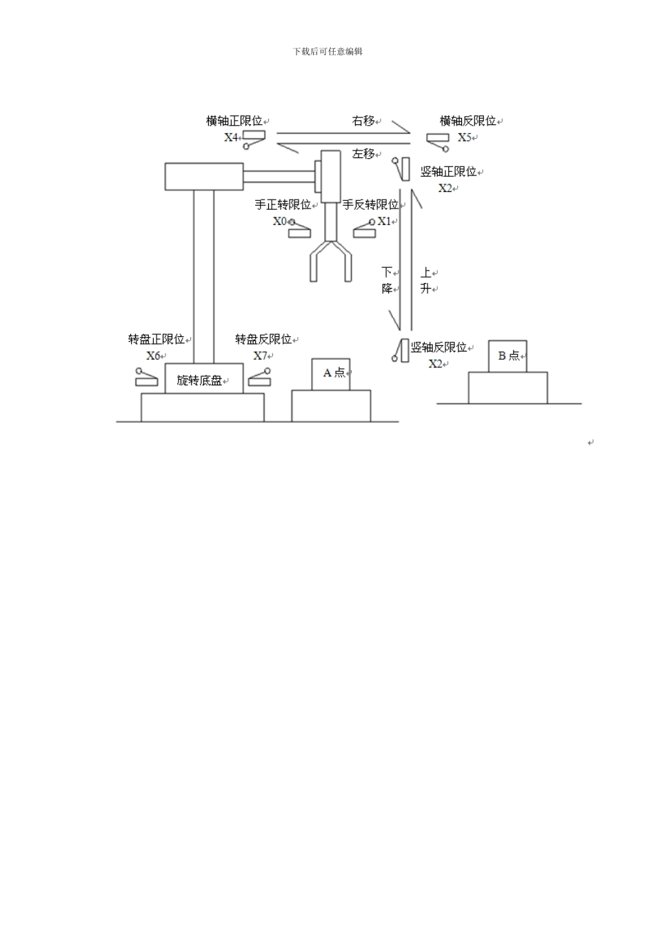
下载后可任意编辑基于 PLC 机械手设计一 绪论 1.课题背景…………………………………………………… 2.本次毕业设计的主要内容……………………………………二 可编程控制器 1. 进展历史…………………………………………………… 2. 定义…………………………………………………………… 3. 特点…………………………………………………… 4. 基本结构…………………………………………三 机械手的硬件电路设计 1.硬件接线图………………………………………… 2.PLC 选型………………………………………四 机械手控制系统软件程序设计 1.软件程序流程图……………………………………… 2.I/O 地址,编程………………………………………五 机械手控制系统的调试六 总结参考文献附录本次毕业设计的主要目的及内容:目的: 机械手是一种模拟人的手臂的部分动作,按预定的程序、轨迹及其他要求,实现抓取搬运工件或操纵工具的自动化装置。它可以代替人的繁重劳动以实现生产的机械化和自动化。本次毕业设计的目的是为了进一步加强自己对机械手和 PLC 的认识,是对课知识的综合集合,培育 PLC 的设计能力,扩展 PLC 的知识机构,加强了个人的动手能力,是综合能力运用。主要内容:下载后可任意编辑1.正确选用 PLC 类型 2.绘制 I/O 分配 3.绘制硬件接线图 4.设计软件梯形图编程 6.流程图的设计 7.指令语句 8.模拟调试下载后可任意编辑下载后可任意编辑PLCX手正转限位X手反转限位X竖轴正限位X竖轴反限位X横轴正限位X横轴反限位X转盘正限位X装盘反限位XX00X11X2XX3XX4XX5XX6XX7XCOMXY0XY1XY2XY3XY4XY5XY6XY7XCOMXCP0A+0A-0B+0B-0DIRX24--X24+XCP0DIRX24--X24+XA+0A-0B+0B-0下载后可任意编辑步进电机驱动器下载后可任意编辑S0 S21 M8002 SET Y2 M1 Y4 S22 M1 M1 M1 M1 M1 M1 M1 SQ X0 下载后可任意编辑S21 M8002 SET M1 下载后可任意编辑下载后可任意编辑

1、当您付费下载文档后,您只拥有了使用权限,并不意味着购买了版权,文档只能用于自身使用,不得用于其他商业用途(如 [转卖]进行直接盈利或[编辑后售卖]进行间接盈利)。
2、本站所有内容均由合作方或网友上传,本站不对文档的完整性、权威性及其观点立场正确性做任何保证或承诺!文档内容仅供研究参考,付费前请自行鉴别。
3、如文档内容存在违规,或者侵犯商业秘密、侵犯著作权等,请点击“违规举报”。

碎片内容

基于PLC机械手设计

确认删除?
VIP
微信客服
  • 扫码咨询
会员Q群
  • 会员专属群点击这里加入QQ群
客服邮箱
回到顶部