电脑桌面
添加小米粒文库到电脑桌面
安装后可以在桌面快捷访问

单片机实验程序及流程图

单片机实验程序及流程图_第1页
1/33
单片机实验程序及流程图_第2页
2/33
单片机实验程序及流程图_第3页
3/33
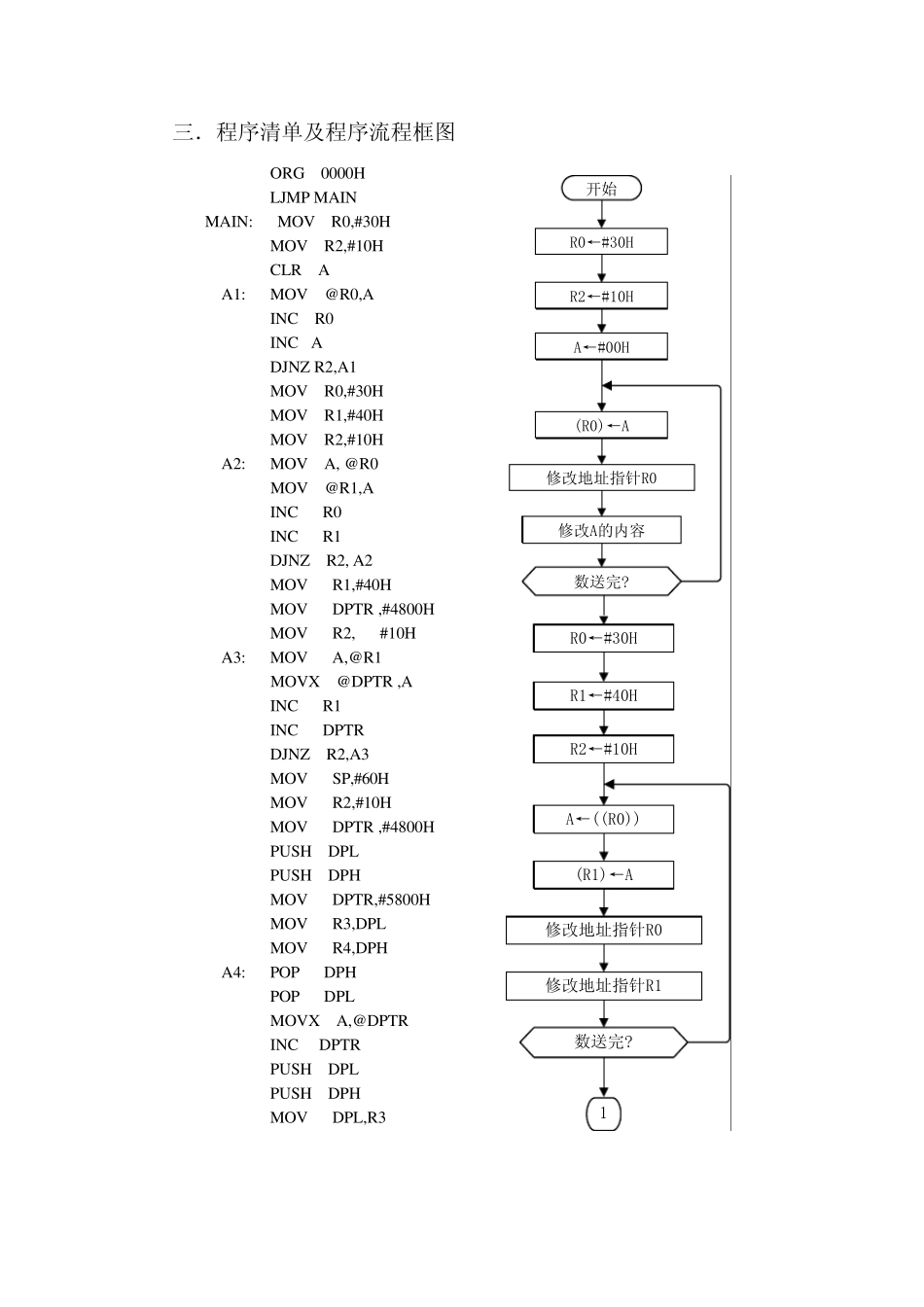
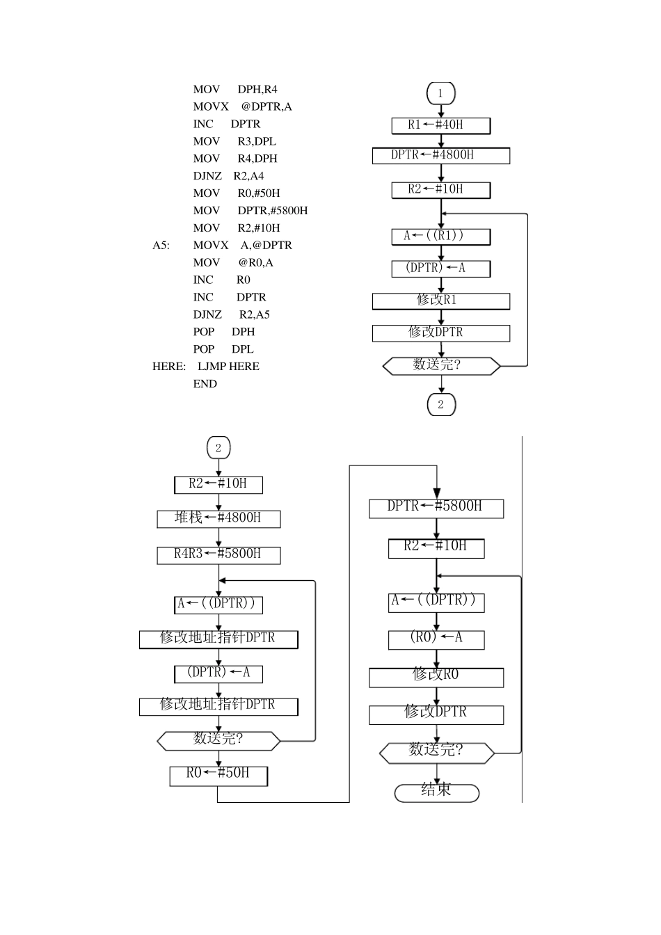
《单片机技术》实验多媒体讲义数据传送实验一、实验目的1、掌握单片机的汇编指令系统及汇编语言程序设计方法。2、掌握单片机的存储器体系结构。3、熟悉Keil软件的功能和使用方法。4、掌握单片机应用程序的调试方法。二、实验内容或原理1、实现单片机内部RAM之间,外部RAM之间以及内部RAM与外部RAM之间的数据传送。2、利用Keil软件编辑、汇编、调试、运行实验程序并记录实验数据。 《单片机技术》实验多媒体讲义三、设计要求1、编写程序将00H~0FH 16个数据分别送到单片机内部RAM 30H~3FH单元中。2、编写程序将片内RAM 30H~3FH的内容传送至片内RAM40~4FH单元中。3、编写程序将片内RAM 40H~4FH单元中的内容传送到外部RAM 4800H~480FH单元中。4、编写程序将4800H~480FH单元内容送到外部RAM 5800H~580FH单元中。5、编写程序将片外RAM 5800H~580FH单元内容传送回片内RAM 50H~5FH单元中。 《单片机技术》实验多媒体讲义四、实验报告要求1、实验目的和要求。2、设计要求。3、实验程序流程框图和程序清单。4、实验总结。5、思考题。五、思考题1、说明MCS-51系列单片机对片内RAM和片外RAM存贮器各有哪些寻址方式?2、说明指令MOV A,20H和MOV C,20H中的20H含义有什么不同?传送指令中的助记符 MOV,MOVX,MOVC各适用于访问哪个存储器空间? 三.程序清单及程序流程框图 ORG 0000H LJMP MAIN MAIN: MOV R0,#30H MOV R2,#10H CLR A A1: MOV @R0,A INC R0 INC A DJNZ R2,A1 MOV R0,#30H MOV R1,#40H MOV R2,#10H A2: MOV A, @R0 MOV @R1,A INC R0 INC R1 DJNZ R2, A2 MOV R1,#40H MOV DPTR ,#4800H MOV R2, #10H A3: MOV A,@R1 MOVX @DPTR ,A INC R1 INC DPTR DJNZ R2,A3 MOV SP,#60H MOV R2,#10H MOV DPTR ,#4800H PUSH DPL PUSH DPH MOV DPTR,#5800H MOV R3,DPL MOV R4,DPH A4: POP DPH POP DPL MOVX A,@DPTR INC DPTR PUSH DPL PUSH DPH MOV DPL,R3 开始R0←#30H数送完?NY(R0)←A修改地址指针R0R2←#10HA←#00H修改A的内容R0←#30H数送完?NY(R1)←A修改地址指针R0R1←#40HR2←#10H修改地址指针R1A←((R0))1 MOV DPH,R4 MOVX @DPTR,A INC DPTR MOV R3,DPL MOV R4,DPH DJNZ R2,A4 MOV R0,#50H MOV DPTR,#5800H MOV R2,#10H A5: MOVX A,@DPTR MOV @R0,A INC R0 INC DPTR DJNZ R2,A5 POP DPH POP DPL ...

1、当您付费下载文档后,您只拥有了使用权限,并不意味着购买了版权,文档只能用于自身使用,不得用于其他商业用途(如 [转卖]进行直接盈利或[编辑后售卖]进行间接盈利)。
2、本站所有内容均由合作方或网友上传,本站不对文档的完整性、权威性及其观点立场正确性做任何保证或承诺!文档内容仅供研究参考,付费前请自行鉴别。
3、如文档内容存在违规,或者侵犯商业秘密、侵犯著作权等,请点击“违规举报”。

碎片内容

单片机实验程序及流程图

确认删除?
VIP
微信客服
  • 扫码咨询
会员Q群
  • 会员专属群点击这里加入QQ群
客服邮箱
回到顶部