电脑桌面
添加小米粒文库到电脑桌面
安装后可以在桌面快捷访问

新产品开发工作流程[1]VIP免费

新产品开发工作流程[1]_第1页
1/6
新产品开发工作流程[1]_第2页
2/6
新产品开发工作流程[1]_第3页
3/6
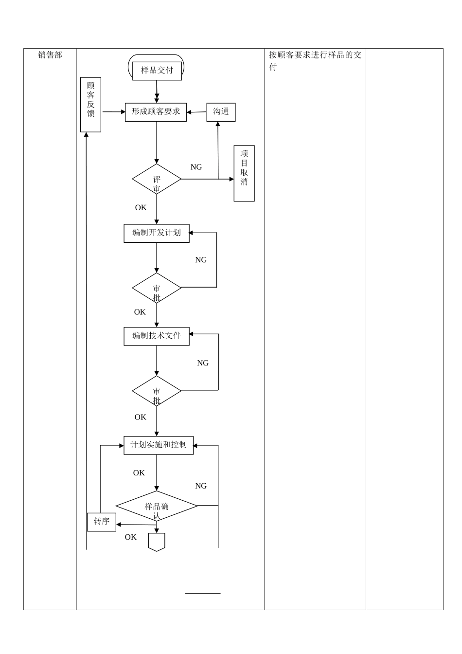
新产品开发工作流程1.流程工作内容责任单位流程图流程说明相关表单顾客根据顾客样品、图纸等提出项目开发销售部销售部根据涉及到产品开发的外部信息形成顾客要求《顾客要求评审表》,《产品变更通知单》,《质量问题反馈单》,《新产品开发样品顾客确认通知单》销售部/技术部/供应部/生产部/相关部门技术部组织新产品开发顾客要求评审(合同评审)。根据评审结论确定下步工作《顾客要求评审表》,《产品开发项目评审记录表》,《项目开发评审策划书》技术部根据评审要求编制新产品开发计划,评审模式的不同,开发计划的编制方式不同,确定项目负责人《新产品开发计划》技术部经理开发计划经技术部经理或其代理人审批通过后下发责任单位《新产品开发计划》技术部新产品开发试制用的技术文件采用“一张图”流转模式。项目负责人根据相关输入信息进行“一张图”的编制《试制作业指导书》(一张图),(材料清单—若有新的材料,工装模具图纸--复杂)技术部主管/经理技术部主管、经理进行技术文件的审核、批准,确保文件能够指导试制工作《试制作业指导书》技术部/生产部/责任车间根据开发计划、试制技术文件、样品等试制的依据进行计划的实施,按时间节点保质保量的完成。如果不能按计划实施,提前上报,责任部门分析原因制定措施。《新产品开发计划》,《试制作业指导书》技术部/车间试制人员按工序流程分阶段进行确认,确认合格才能转序。最终产品(样品)进行首件确《新产品开发样品确认记录表》,《检验记录》认、全检或抽检。技术部负责跟踪项目进度技术部/质保部在样品入库前对样品进行全检(20套或200米以下)或抽检(20套或200米以上),完成样品交付前的出厂验收成品库/责任车间凭样品验收合格的凭据办理入库,凭据上须有技术部和质保部验收人员的签字。《入库单》,《周转单》入库样品验收OKNGNG销售部按顾客要求进行样品的交付项目提出形成顾客要求顾客反馈评审项目取消编制开发计划审批编制技术文件审批计划实施和控制样品确认沟通转序OKOKOKOKOKNGNGNGNG样品交付顾客顾客对样品进行验收、试装和确认。将结果及时通过销售部进行反馈。《产品变更通知单》,《质量问题反馈单》,《新产品开发样品顾客确认通知单》技术部/生产部技术部进行技术文件的完善和转换,生产部根据订单按生产程序进行作业安排。在第一次试生产时,技术部进行必要的跟踪。《作业指导书》《工序卡》2.流程具体实施要求新产品的开发流程根据以下几个阶段来考虑完善(顾客有明确要求的汽车主机厂整车付新产品开发执行APQP程序):2.1顾客要求评审(合同评审)2.1.1顾客要求评审的输入有三种:1)顾客新要求,评审依据:《顾客要求评审表》;2)产品变更要求,评审依据:《产品变更通知单》;3)顾客确认不合格,评审依据:《新产品开发样品顾客确认通知单》。2.1.2顾客要求评审的输出有三种:1)顾客要求明确,公司有能力达到,纳入开发计划;2)顾客要求不明确,需进一步沟通后纳入开发计划;3)顾客要求明确,但公司没有能力达到,暂不纳入开发计划。2.1.3技术部是新产品开发顾客要求评审(合同评审)的组织者。评审的模式及时间节点:销售部将《顾客要求评审表》或《产品变更通知单》《新产品开发样品顾客确认通知单》传递给技术部1)简单产品(比如单口型挤出、单件产品、不涉及外协加工等),技术部根据以往经验和当前公司能力初步判定能否满足顾客要求;如无法独自判定,则组织生产、供应和相关人员进行评审确定。能够开发的项目,技术部进行产品工艺分析,确定原材料、工艺流程和技术文件完成时间并编制《新产品开发计划》交生产部及责任车间评审开发各阶段的完成时间。技术部根据开发计划的评审时间确定产品交付时间,填写完成《顾客要求评审表》或《产品变更通知单》最终将单据交回销售部。销售部将经过审批的单据分发到相关部门。如果进行开发,技术部据此组织开发计划实施。时间节点,技术部自接单时刻计算,两个工作日完成(当日下班前一小时的接单计入次日)特殊情况,技术部在接到销售部单据两个工作小时内销售部提出延长评审时间的要求,销售部同意或请示上级领导同意后,按同意的时间节...

1、当您付费下载文档后,您只拥有了使用权限,并不意味着购买了版权,文档只能用于自身使用,不得用于其他商业用途(如 [转卖]进行直接盈利或[编辑后售卖]进行间接盈利)。
2、本站所有内容均由合作方或网友上传,本站不对文档的完整性、权威性及其观点立场正确性做任何保证或承诺!文档内容仅供研究参考,付费前请自行鉴别。
3、如文档内容存在违规,或者侵犯商业秘密、侵犯著作权等,请点击“违规举报”。

碎片内容

新产品开发工作流程[1]

确认删除?
VIP
微信客服
  • 扫码咨询
会员Q群
  • 会员专属群点击这里加入QQ群
客服邮箱
回到顶部