电脑桌面
添加小米粒文库到电脑桌面
安装后可以在桌面快捷访问

房地产会计核算流程

房地产会计核算流程_第1页
1/6
房地产会计核算流程_第2页
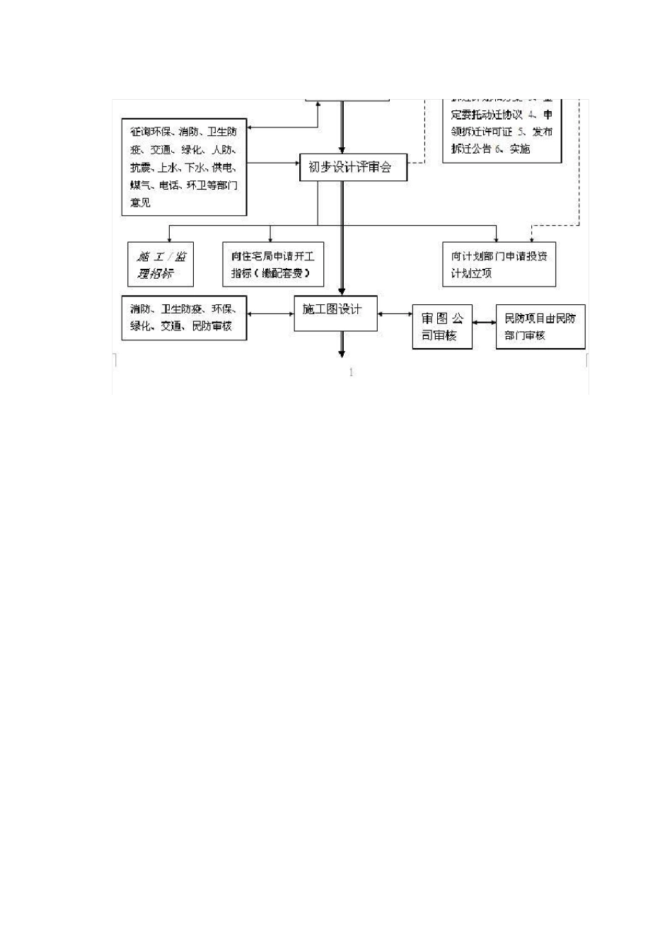
2/6
房地产会计核算流程_第3页
3/6
房地产开发工作流程图各阶段涉及的主要税种及征税方法 2014-2-21 房地产开发工作流程图 招投标管理流程 房地产行业会计核算不向商业企业那么琐碎,但是涉及的税种很多,需要采取一定手段合理规避,它所涵盖的税种除生产销售及修理修配行业缴纳的流转税增值税外,基本包括了国家税法规定的所有税种。房地产开发公司从取得土地使用权起至开发销售完毕期间各阶段应纳各税种及各税种应纳税额如何进行核算做详细阐述。 一、土地使用权取得阶段:需缴纳契税、印花税(还有政府相关部门收取的交易费等),但有时土地转让方转让时会要求拿净值,而把按照税法规定应由转让方承担的营业税及附加、土地增值税等也要求对方承担。 (1)契税:是对在中华人民共和国境内转移土地、房屋权属时向承受土地使用权、房屋所有权的单位和个人征收的一种税。契税按土地使用权、房屋所有权转移时的成交价格为计税依据,基本税率为3%。 应纳税额=房地产成交价格或评估价格×税率 (2)印花税:是对在经济活动和经济交往中书立、领受印花税暂行条例所列举的各种凭证所征收的一种兼有行为性质的凭证税。分为从价计税和从量计税两种。 应纳税额=合同金额×0.05% 注:印花税的缴纳贯穿房地产行业的各阶段,公司成立缴纳注册资本金的印花税,立账时账本印花税、土地取得时缴纳土地转让合同印花税,开发阶段缴纳各工程承包合同、广告合同的印花税,以及销售阶缴纳产权转移凭证的印花税等。 二、取得土地使用权后至房屋销售并交付使用之日止,每年缴纳土地使用税。 土地使用税:城镇土地使用税是在城市、县城、建制镇和工矿区范围内,对拥有土地使用权的单位和个人以实际占用的土地面积为计税依据,按规定税额征收的一种税。 年应纳税额=土地使用面积×单位税额 三、预售阶段:需缴纳营业税及附加,预缴土地增值税、企业所得税。 (1)营业税:在中华人民共和国境内提供营业税条例规定的劳务、转让无形资产或者销售不动产的单位和个人,为营业税的纳税人。 销售不动产应纳税额=纳税人销售不动产向对方收取的全部价款和价外费用×5% (2)营业税附加税:城市维护建设税=营业税额×7% 教育费附加= 营业税额×3% (3)土地增值税:是对转让国有土地使用权、地上的建筑物及其附着物并取得收入的单位和个人征收的一种税。土地增值税按照纳税人转让房地产所取得的增值额和规定的适用税率计算征收,纳税人转让房地产所取得的收入减除 《条例》规定的扣除项目金额后的...

1、当您付费下载文档后,您只拥有了使用权限,并不意味着购买了版权,文档只能用于自身使用,不得用于其他商业用途(如 [转卖]进行直接盈利或[编辑后售卖]进行间接盈利)。
2、本站所有内容均由合作方或网友上传,本站不对文档的完整性、权威性及其观点立场正确性做任何保证或承诺!文档内容仅供研究参考,付费前请自行鉴别。
3、如文档内容存在违规,或者侵犯商业秘密、侵犯著作权等,请点击“违规举报”。

碎片内容

房地产会计核算流程

您可能关注的文档

确认删除?
VIP
微信客服
  • 扫码咨询
会员Q群
  • 会员专属群点击这里加入QQ群
客服邮箱
回到顶部