电脑桌面
添加小米粒文库到电脑桌面
安装后可以在桌面快捷访问

拉链基础知识培训教材

拉链基础知识培训教材_第1页
1/49
拉链基础知识培训教材_第2页
2/49
拉链基础知识培训教材_第3页
3/49
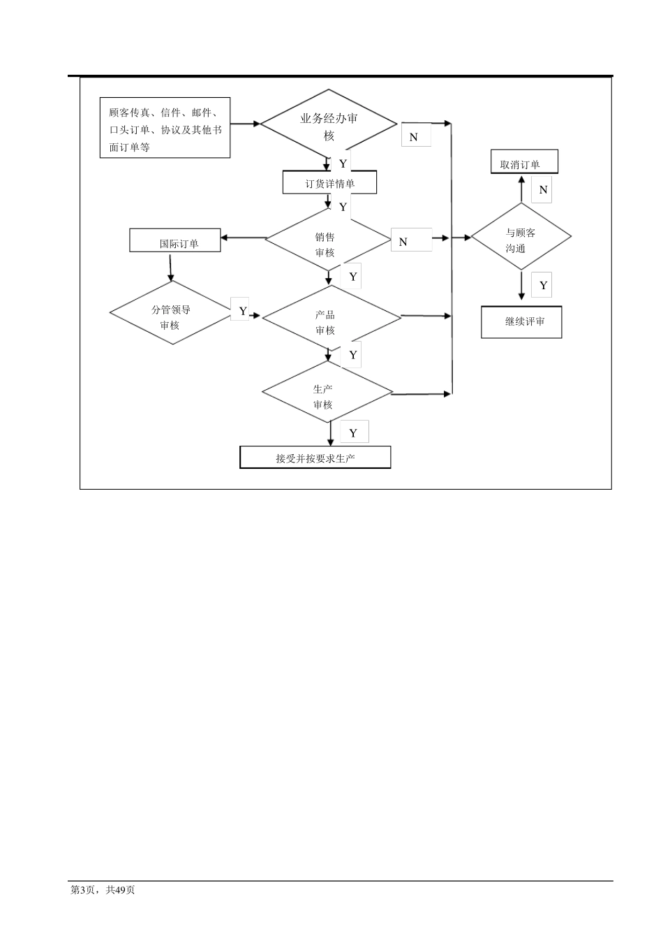
第1 页,共4 9 页 目 录 第一章 营销模式、流程及品牌客户 ………………………………………………………第3 页 第二章 拉链入门 ……………………………………………………………………………第5 页 第三章 拉头及其配件 …………………………………………………………………… 第12 页 第四章 电镀 ……………………………………………………………………………… 第17 页 第五章 尼龙部产品(尼龙白胚、布带、中心线/缝线、单丝) ………………………第22 页 第六章 染色 ………………………………………………………………………………第27 页 第七章 成品部产品(3#尼龙闭口定牌、隐形产品) ………………………………… 第30 页 第八章 金属部产品(金属布带、金属条码装、5#尼龙、非注塑类) …………………第33 页 第九章 塑钢部产品(塑钢条码装、尼龙注塑拉链、注塑滴塑拉片) ………………第36 页 附录: 附录1:拉链标准简介 ……………………………………………………………………第39 页 附录2:检测设备与检测手段简介 ………………………………………………………第41 页 附录3:品质控制流程图 …………………………………………………………………第42 页 附录4:质量管理体系简介 ………………………………………………………………第47 页 第2页,共49页 三 大 类 产 品 金属(原材质:铜、铝) 型号:2# 3# 3.5# 4# 5# 8# 10# 牙形:普通牙(六角牙、圆牙)、细牙、方牙(Y 牙) 牙色:亮白金、亮黄金、镀黄金、镀无镍白金、哑白铜、白铜、无镍白铜、白铜镀黑镍、 白铝、黄铜、无镍白枪、红铜、无镍黑古铜、黑古、无镍古铜、古铜、红古铜、 无镍青古铜、青古铜、白枪 塑钢(原材质:共聚甲醛) 型号:3# 4# 5# 6# 7# 8# 10# 20# 30# 牙形:三连环牙 细牙 足球牙 子弹牙 花牙 鱼形牙 牙色:间色牙 透明牙 夜光牙 仿古铜牙 银牙…… 尼龙(原材质:聚脂切片、涤纶丝) 型号:3# 4# 5# 7# 8# 9# 10# 牙色:镀金 镀银 镀七彩 彩线拉链 第一节花纹 订单运作流程: 第3页,共49页 与顾客 沟通 继续评审 取消订单 销售 审核 产品 审核 订货详情单 N 生产 审核 接受并按要求生产 国际订单 分管领导 审核 业务经办审核 顾客传真、信件、邮件、口头订单、协议及其他书面订单等 N Y Y Y N Y ...

1、当您付费下载文档后,您只拥有了使用权限,并不意味着购买了版权,文档只能用于自身使用,不得用于其他商业用途(如 [转卖]进行直接盈利或[编辑后售卖]进行间接盈利)。
2、本站所有内容均由合作方或网友上传,本站不对文档的完整性、权威性及其观点立场正确性做任何保证或承诺!文档内容仅供研究参考,付费前请自行鉴别。
3、如文档内容存在违规,或者侵犯商业秘密、侵犯著作权等,请点击“违规举报”。

碎片内容

拉链基础知识培训教材

您可能关注的文档

小辰4+ 关注
实名认证
内容提供者

出售各种资料和文档

确认删除?
VIP
微信客服
  • 扫码咨询
会员Q群
  • 会员专属群点击这里加入QQ群
客服邮箱
回到顶部