电脑桌面
添加小米粒文库到电脑桌面
安装后可以在桌面快捷访问

水资源论证报告

水资源论证报告_第1页
1/22
水资源论证报告_第2页
2/22
水资源论证报告_第3页
3/22
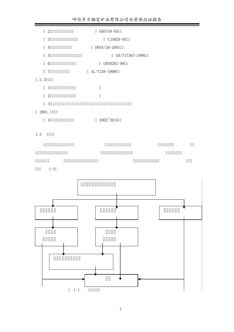
呼伦贝尔驰宏矿业有限公司水资源论证报告 1 1 总论 1.1 编制论证报告书的目的 某某位于某某市南城区水濂山水库西、南侧,因某某在市南效区,市政水网配套未达预期,因此,某某市某某商品住宅建造有限公司决定从水濂山水库取水,处理净化后供业主使用,取水量为1 万 m3/d。 根据 《中华人民共和国水法》、《取水许可制度实施办法》、《取水许可水质管理规定》和《建设项目水资源论证管理办法》等有关法规及文件规定,建设项目业主单位应当按照《建设项目水资源论证管理办法》的规定进行建设项目水资源论证,并向水行政主管部门报审建设项目水资源论证报告书。某某商品住宅建造有限公司及某某水濂山水库商品住宅建造有限公司委托珠江流域水环境监测中心开展承担某某水厂水资源论证报告的水资源论证工作。 对于供水工程的水资源论证工作,水源区水量与水质及对其它取水户的影响程度是论证的关键。本项论证工作将根据水濂山水库的水文水质资料,采取数理统计等评价方法进行水量水质分析论证,并评价工程取水后是否对其它取水户产生影响,为取水许可审批提供决策的科学依据。 1.2 编制依据 1.2.1法律、法规 ( 1)《中华人民共和国水法》( 2002.9); ( 2)《中华人民共和国水污染防治法》( 1996.5); ( 3)《中华人民共和国防洪法》( 1997.8); ( 4)国务院《取水许可制度实施办法》( 1993.8); ( 5)国家计委《水利产业政策》( 1997.10); ( 6)水利部《取水许可申请审批程序规定》( 1994.6); ( 7)水利部《取水许可水质管理规定》( 1995.12); ( 8)水利部《取水许可监督管理办法》( 1996.7); ( 9)水利部、国家计委《建设项目水资源论证管理办法》( 2002.5); ( 10)广东省水利厅、广东省发展计划委员会“关于贯彻水利部、国家计委《建设项目水资源论证管理办法》(第十五号令)的实施意见(2002.9)。 ( 11)《广东省珠江三角洲水质保护条例》( 1998.11); ( 12)《广东省地表水环境功能区划(试行方案)》(粤府函[1999]553 号) ( 13)《广东省政府关于加强水污染防治工作的通知》(粤府[1999]74 号) 1.2.2标准及规范 ( 1)《地面水环境质量标准》( GB3838-2002); 呼伦贝尔驰宏矿业有限公司水资源论证报告 2 ( 2)《生活饮用水卫生标准》( GB5749-85); ( 3)《生活饮用水水源水质标准》( CJ3020-93); ( 4)《水污染物排放限...

1、当您付费下载文档后,您只拥有了使用权限,并不意味着购买了版权,文档只能用于自身使用,不得用于其他商业用途(如 [转卖]进行直接盈利或[编辑后售卖]进行间接盈利)。
2、本站所有内容均由合作方或网友上传,本站不对文档的完整性、权威性及其观点立场正确性做任何保证或承诺!文档内容仅供研究参考,付费前请自行鉴别。
3、如文档内容存在违规,或者侵犯商业秘密、侵犯著作权等,请点击“违规举报”。

碎片内容

水资源论证报告

您可能关注的文档

确认删除?
VIP
微信客服
  • 扫码咨询
会员Q群
  • 会员专属群点击这里加入QQ群
客服邮箱
回到顶部