电脑桌面
添加小米粒文库到电脑桌面
安装后可以在桌面快捷访问

电子招投标流程

电子招投标流程_第1页
1/6
电子招投标流程_第2页
2/6
电子招投标流程_第3页
3/6
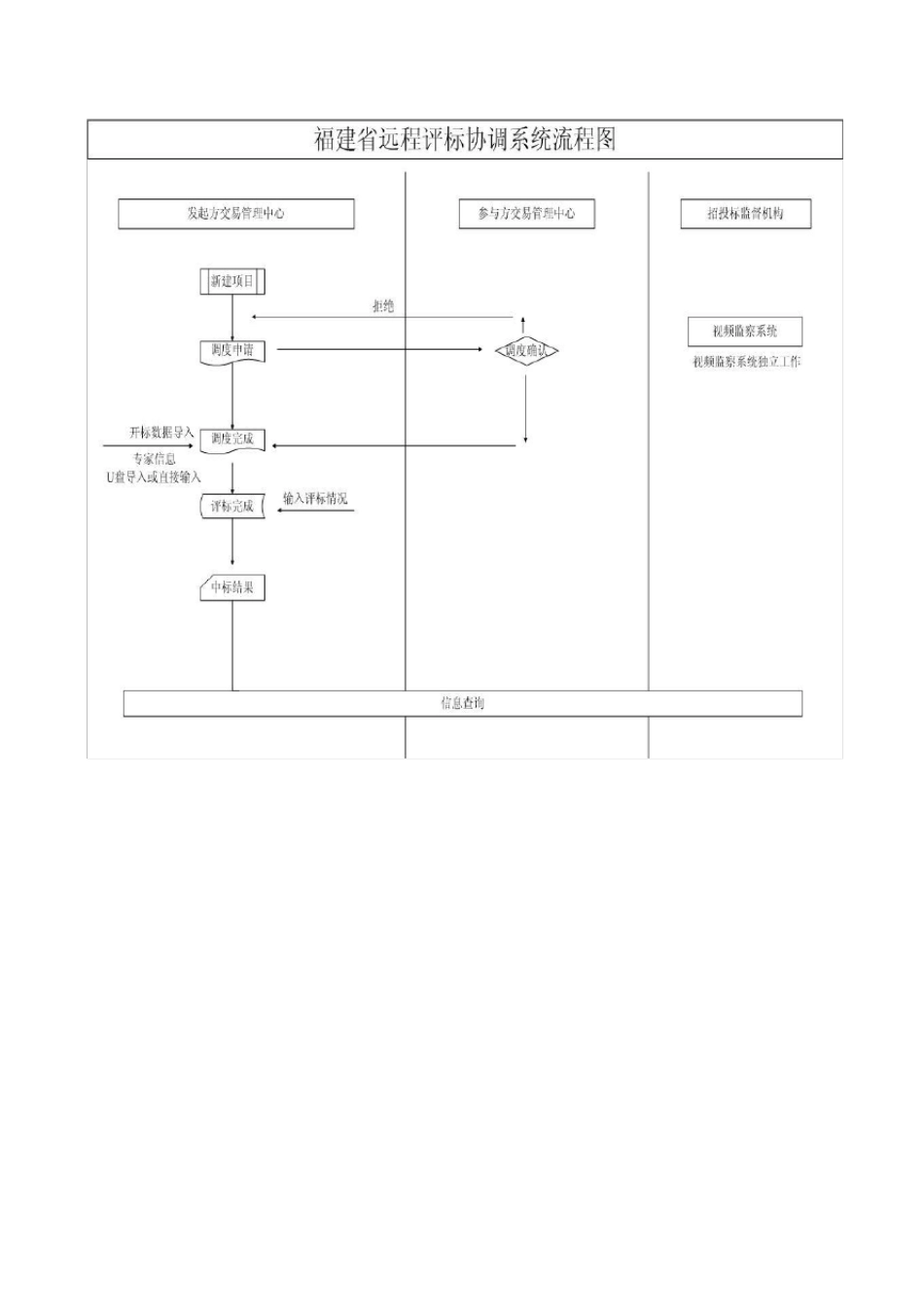
省管项目电子招投标流程 发布招标公告 招标文件备案 招标人或招标代理公司用电子标书生成器制作电子招标文件 招标答疑纪要及补充通知 受理交易登记,安排评标室 开标 投标人在开标现场递交含有电子投标文件两张光盘和一个U 盘;另递交由电子投标文件打印盖章生成的纸质标书。 评标专家抽取 统一由省发改委专家抽取系统抽取评标专家、语音通知 远程或本地评标 评标专家登录评标系统评标,生成评标报告 中标公示 签订合同 招投标人须办理金润电子标书生成器(福建)、福建 CA 数字证书、金润电子印章 生成完整的电子招标文件,于截标前三个日历天以光盘形式提交省建设工程交易中心 综合评估法评标流程 合理造价区间随机抽取中标人办法评标流程 经评审的最低投标价中标法评标流程

1、当您付费下载文档后,您只拥有了使用权限,并不意味着购买了版权,文档只能用于自身使用,不得用于其他商业用途(如 [转卖]进行直接盈利或[编辑后售卖]进行间接盈利)。
2、本站所有内容均由合作方或网友上传,本站不对文档的完整性、权威性及其观点立场正确性做任何保证或承诺!文档内容仅供研究参考,付费前请自行鉴别。
3、如文档内容存在违规,或者侵犯商业秘密、侵犯著作权等,请点击“违规举报”。

碎片内容

电子招投标流程

您可能关注的文档

确认删除?
VIP
微信客服
  • 扫码咨询
会员Q群
  • 会员专属群点击这里加入QQ群
客服邮箱
回到顶部