电脑桌面
添加小米粒文库到电脑桌面
安装后可以在桌面快捷访问

盾构施工流程

盾构施工流程_第1页
1/8
盾构施工流程_第2页
2/8
盾构施工流程_第3页
3/8
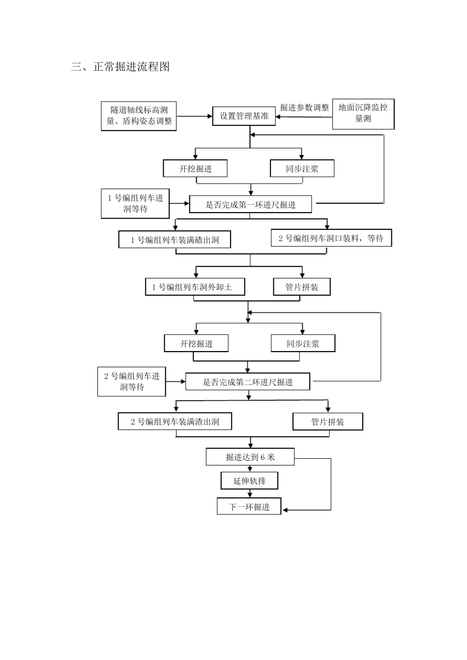
一、盾构始发端头加固 1 、旋喷桩工艺流程 2、二重管双液水平注浆加固 喷钻机就位、调整角度,使钻机的垂直精度控制在 1%的范围内 将旋喷喷口用封箱带包扎后,钻杆下至导孔底部 开启压缩空气 开启高压水泵 浆液拌制 开启浆泵 按照给定的技参数旋转提升至桩顶标高 废浆处理 关闭气、水、浆 成桩完毕、移动钻机到下一桩位 钻机就位 钻孔 配浆 凿除围护桩混凝土 测量定出孔位 注浆 注浆结束 移至下一孔位 回拔一节 二、盾构始发流程 洞口土体加固基座安装反力架安装铺设临时轨道盾构机下井洞门凿除洞门橡胶帘布安装盾构机前移台车及皮带机下井电瓶车及平板车下井地面浆液系统的安装盾构机与台车相连台车间的管路连接盾构机调试整环负环拼装管片运输参数设定盾构推进监控量测初始掘进推进100米,初始结束 进入正式掘进 三、正常掘进流程图 设置管理基准 开挖掘进 同步注浆 是否完成第一环进尺掘进 2 号编组列车装满渣出洞 管片拼装 下一环掘进 掘进达到 6 米 延伸轨排 隧道轴线标高测量、盾构姿态调整 地面沉降监控量测 掘进参数调整 1 号编组列车装满碴出洞 1 号编组列车洞外卸土 管片拼装 是否完成第二环进尺掘进 2 号编组列车洞口装料,等待 1 号编组列车进洞等待 开挖掘进 同步注浆 2 号编组列车进洞等待 四、同步注浆工艺流程图 不合格 注浆系统准备 参数设计 设定控制方式 注浆效果检查 浆液运输 不满足要求 试验检测 采取补充注浆措施 浆液配制 注浆完毕 继续注浆 信息反馈 清洗设备和管路 下一环注浆 注浆工况分析 调整控制方式与参数 数据采集与管理、计划图表 综合评价 注浆 合格 正常 不正常 合格 五、管片拼装工艺流程图 管片止水条及衬垫粘贴 管片吊机卸车、倒运管片 管片选型、下井和运输组织 管片安装区的清理 管片安装与连接 盾构掘进 1.2m 管片环成型整圆 管片就位 推进油缸顶紧就位管片 缩回安装部位油缸 管片预制 管片脱离盾尾后的二次紧固 六、盾构到达流程图 盾构距离盾构井端头 100m 距离 50m 接受托架加固距离 50m 接受托架固定定位 慢速匀速掘进并注浆 联测并调整盾构姿态 盾构到达洞门破除洞门 盾构到达洞门破除洞门 安装出洞导轨 盾构步入接受托架 最后几环管片的安装 拉紧最后 15 环 在出洞环上焊接钢加工制作接受托架并拼装紧固 开始破除洞门 加强地面监测 最后几环注浆及二次补浆 七、盾构调头...

1、当您付费下载文档后,您只拥有了使用权限,并不意味着购买了版权,文档只能用于自身使用,不得用于其他商业用途(如 [转卖]进行直接盈利或[编辑后售卖]进行间接盈利)。
2、本站所有内容均由合作方或网友上传,本站不对文档的完整性、权威性及其观点立场正确性做任何保证或承诺!文档内容仅供研究参考,付费前请自行鉴别。
3、如文档内容存在违规,或者侵犯商业秘密、侵犯著作权等,请点击“违规举报”。

碎片内容

盾构施工流程

您可能关注的文档

确认删除?
VIP
微信客服
  • 扫码咨询
会员Q群
  • 会员专属群点击这里加入QQ群
客服邮箱
回到顶部