电脑桌面
添加小米粒文库到电脑桌面
安装后可以在桌面快捷访问

设备故障应急处理预案

设备故障应急处理预案_第1页
1/10
设备故障应急处理预案_第2页
2/10
设备故障应急处理预案_第3页
3/10
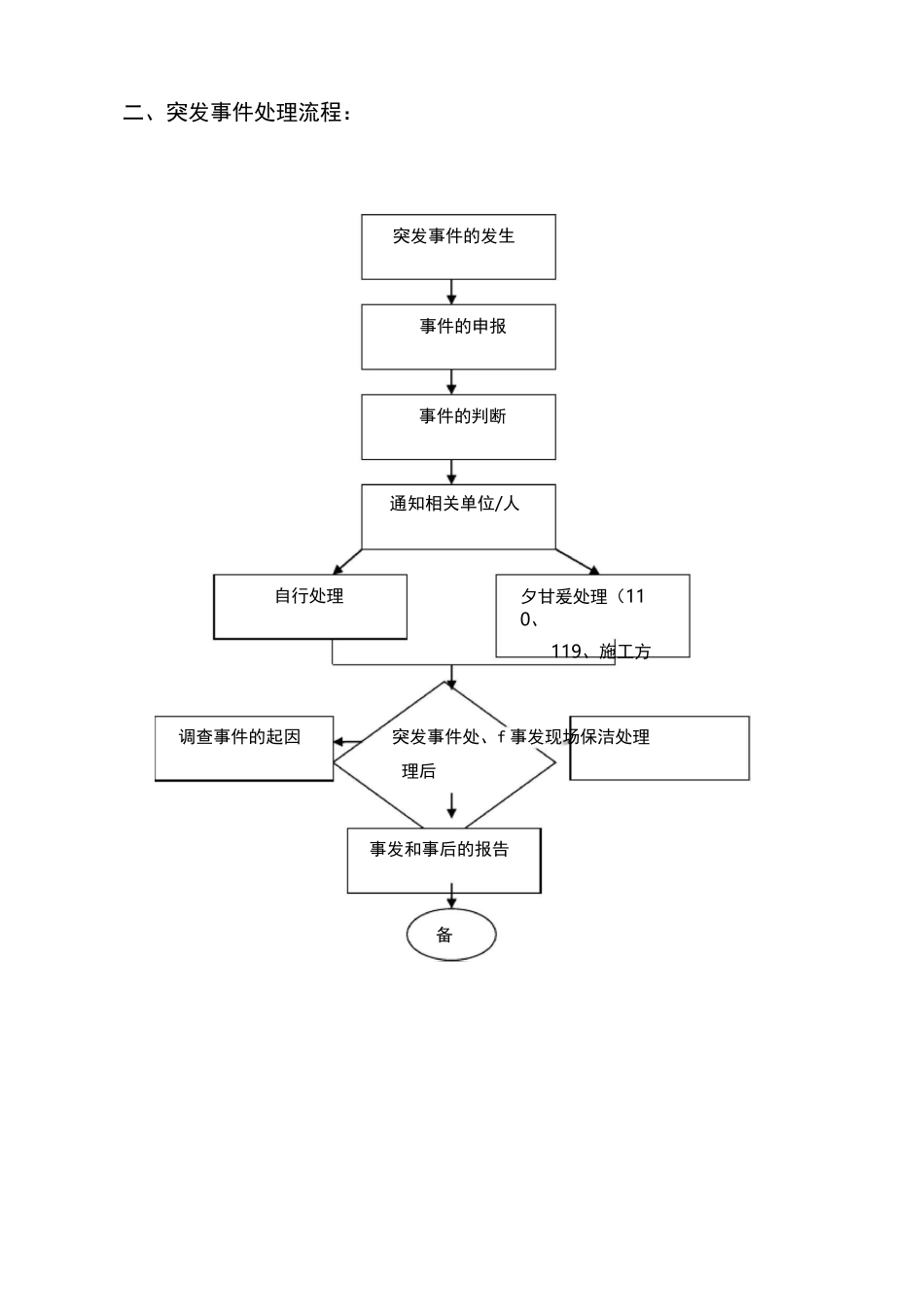
设备故障应急处理预案一、应急服务通知顺序表突发事件类型通知顺序和联络电话备注火警物业经理、119、安保部主管、工程部主管、保洁部主管、相关领导、业主委员会、居民委员会重大治安事件物业经理、110(或辖区派出所)、安保部主管、居民委员会、业主委员会电梯困人物业经理、工程部、保修单位、电梯工供配电故障物业经理、供电局、工程部值班室、强电工程师、电工给排水故障物业经理、工程部、水电工、市政或自来水公司、管道值班室、丄程师、管道工煤气泄漏物业经理、工程部、煤气公司、总调值班室、管道工突发卫生事件总经理、物业经理、防疫站、疾病预防控制中心、派出所、业主委员会、居民委员会意外伤亡事件总经理、物业经理、社保部门、派出所、业主委员会、居民委员会二、突发事件处理流程:理后备夕甘爰处理(110、119、施工方通知相关单位/人事件的判断事发和事后的报告事件的申报突发事件的发生自行处理调查事件的起因突发事件处、f 事发现场保洁处理设备故障应急处理预案一、供电突发性事故的应急措施(一)外线故障1、根据小区设计要求:主供停电、备供自动投入。当外线故障导致小区主供电源停电时,值班人员要检查真空开关的指示牌是否分闸,再检查电压和指示灯,当明确失压断电后,将主供电源进线柜真空开关退出,挂“有人工作,禁止合闸”指示牌.2、备用电源处于非自动位置,故主供电源断电时不能自动合闸,检查备供电源进线柜之电表和指示灯、真空开关应处准备合闸位置,合上备供电源进线柜开关。3、检查变压器出线柜,是否正常。4、检查低压受电柜,并合上低压总开关。5、向供电局调度室报告并了解外线故障情况。(二)内部故障当高压柜真空开关、高压电缆或变压器出现故障时(短路或接地),非误操作引起,除该高压柜停电,甚至会引起主供电或备用电源的受电柜停电,此时值班人员应遵守下列程序:1、将故障柜的真空开关退出(若引起火警,一人用手提式 1211 灭火器灭火,一人向消防中心报告)。2、将故障柜的低压总开关退出,挂“有人工作,禁止合闸"指示牌。3、将低压母联合闸,保证小区设施用电.4、向工程部主管报告故障经过和处理情况。5、召开事故分析会,邀请供电局、厂商及有关方面参加,分析事故发生原因和处理措施,并书面总结报告有关部门.(三)市电全停1、当主供、备用两路市电全停,启动发电机。2、退出市电联系开关,合上发电机联系开关,向应急负荷供电,并每隔 15 分钟检查一次发电机运行状况,如燃油量、水温...

1、当您付费下载文档后,您只拥有了使用权限,并不意味着购买了版权,文档只能用于自身使用,不得用于其他商业用途(如 [转卖]进行直接盈利或[编辑后售卖]进行间接盈利)。
2、本站所有内容均由合作方或网友上传,本站不对文档的完整性、权威性及其观点立场正确性做任何保证或承诺!文档内容仅供研究参考,付费前请自行鉴别。
3、如文档内容存在违规,或者侵犯商业秘密、侵犯著作权等,请点击“违规举报”。

碎片内容

设备故障应急处理预案

wxg+ 关注
实名认证
内容提供者

该用户很懒,什么也没介绍

确认删除?
VIP
微信客服
  • 扫码咨询
会员Q群
  • 会员专属群点击这里加入QQ群
客服邮箱
回到顶部