电脑桌面
添加小米粒文库到电脑桌面
安装后可以在桌面快捷访问

一汽大众售后服务核心流程作业指导书

一汽大众售后服务核心流程作业指导书_第1页
1/14
一汽大众售后服务核心流程作业指导书_第2页
2/14
一汽大众售后服务核心流程作业指导书_第3页
3/14
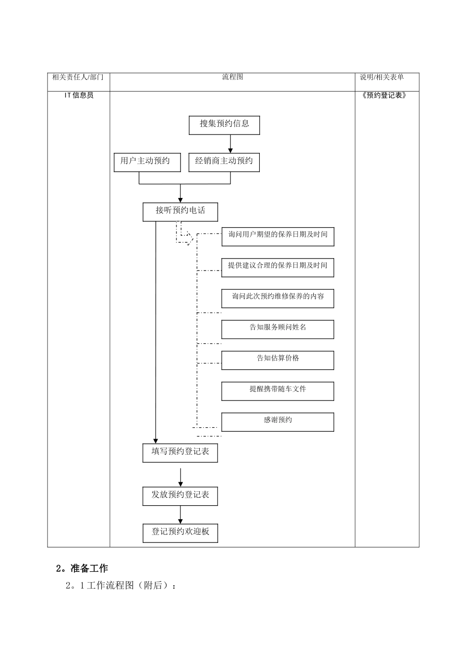
售后服务核心流程作业指导书本作业指导书依据《售后服务管理条例》的《售后服务核心流程》(VAJXS-14)制订。对经销商法律规范的服务过程进行规定,适用于服务站开展标准服务的管理。适用于本公司对一汽—大众大众品牌系列轿车维修服务全过程的管理和控制.售后服务核心流程:是将经销商为用户服务的关键工作过程分为七个环节,即预约、准备工作、接车/制单、修理/进行工作、质检/内部交车、交车/结算、电话回访七个环节,对每个过程提出标准的工作内容及要求。 1.预约1。1 工作流程图(附后)1。2 工作内容:1.2。1 用户主动预约1.2。1.1 IT 信息员/服务顾问在电话铃响三声之内接听,使用标准服务用语:“您好,一汽—大众 XXXXXXXX,请问您有什么需要帮助。”1。2.1。2 如客户预约维修,根据《服务顾问/车间维修能力预约任务计划表》,IT 信息员/服务顾问按以下顺序主动询问用户信息并给予用户合理建议:a)询问用户期望的保养日期及时间;b)提供建议合理的保养日期及时间,并征得用户同意;c)询问此次预约维修保养的相关内容:您以前是否来维修站进行保养或维修、用户姓名、电话、车牌号(底盘号)、车型、希望做什么保养、除保养之外还有什么其它额外维修工作、行驶里程、上次保养或维修时间、上次保养或维修类型、是否重复维修.d)告诉将负责接待用户的服务顾问的姓名;e)假如用户明确维修项目,告知用户此次维修保养的价格;f)如是新用户,提醒用户携带保养手册、产品合格证、行车证、防盗密码、防盗螺栓钥匙;如是老用户,提醒其携带保养手册等随车文件。g)电话结束时,向用户道谢。1.2。1.3 IT 信息员接到预约电话后,填写《预约登记表》,一式三联,自留一份,发放服务顾问、备件部各一份。在《服务顾问/车间维修能力预约任务计划表》中登记预约此车预约信息。在小 R3“预约登记”窗口将预约用户基本信息及维修信息进行登记,即草拟预约任务委托书。1。2。1.4 IT 信息员负责在当天下班前将第二天预约客户信息登记在预约欢迎板上.1。2。2 经销商主动预约1。2.2。1 信息来源:a)IT 信息员/服务顾问通过小 R3 查看顾客档案,看其每次保养里程及时间间隔,估计其车辆保养日期;b)提醒记录:每天查看 outlook 软件中自动提醒的录入的《附加项目检查单》中提醒建议维修项目;小 R3 中建议维修项目.1.2.2。2 在合理的打电话时间范围内:早 9:00-11:00,下午 15:-17:30,由 IT信息员/服务顾问致电顾客,进行经销商主动预约,电...

1、当您付费下载文档后,您只拥有了使用权限,并不意味着购买了版权,文档只能用于自身使用,不得用于其他商业用途(如 [转卖]进行直接盈利或[编辑后售卖]进行间接盈利)。
2、本站所有内容均由合作方或网友上传,本站不对文档的完整性、权威性及其观点立场正确性做任何保证或承诺!文档内容仅供研究参考,付费前请自行鉴别。
3、如文档内容存在违规,或者侵犯商业秘密、侵犯著作权等,请点击“违规举报”。

碎片内容

一汽大众售后服务核心流程作业指导书

您可能关注的文档

确认删除?
VIP
微信客服
  • 扫码咨询
会员Q群
  • 会员专属群点击这里加入QQ群
客服邮箱
回到顶部