电脑桌面
添加小米粒文库到电脑桌面
安装后可以在桌面快捷访问

三设立中小学生社会实践基地审批流程-洛江教育VIP专享

三设立中小学生社会实践基地审批流程-洛江教育_第1页
1/9
三设立中小学生社会实践基地审批流程-洛江教育_第2页
2/9
三设立中小学生社会实践基地审批流程-洛江教育_第3页
3/9
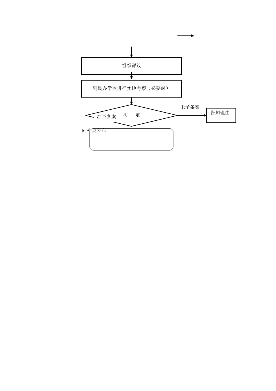
泉州市洛江区教育局公共服务事项流程图一、公共服务1、民办学校年检流程图民办学校年检材料申报 向社会公布2、民办学校招生简章和广告备案流程图民办学校招生简章和广告材料申报 向社会公布3、民办学校章程备案 民办学校章程材料申报向社会公布4、民办学校出资 人 要 求 取得合理回报的比例备案办学校出资人要求取得合理回报的比例材料申报材料审核不符合条件退回组织评议告知理由 到民办学校进行实地考察(必要时)决 定未予备案准予备案材料审核不符合条件退回组织评议告知理由到学校进行实地查看决 定年检不合格年检合格材料审核不符合条件退回材料审核不符合条件退回组织评议告知理由 到民办学校进行实地考察(必要时)决 定未予备案准予备案 向社会公布组织评议告知理由到民办学校进行实地考察(必要时)决 定未予备案准予备案5、泉州市洛江区中学学生休学、转学、退学办理(1)泉州市洛江区中学学生转学办理流程图 家长需提供的材料:1、户口簿(经核查后留复印件);2、转学申请表(一式四份);3、学生本人有关学籍材料(经核查后留复印件);4、高中生持原就读学校达标级别证明(原件证明);5、就学期间留级、休学证明(原件及复印件一份),经核查后留复印件;6、高中生应提供会考成绩证明(原件及复印件一份),经核查后留复印件;7、高中转学要有中考档案(原件及复印件一份),经核查后留复印件;8、进城务工随迁子女提供务工证明、居住证明,经核查后留复印件。备注:学生转学办理时间:学期结束前 15 天或开学前 15 天(2)泉州市洛江区中学学生申请休学流程 家长需提供的材料:1、书面申请;2、学生因病或其他特别原因的,应出具县级以上医疗单位证明(包括学生病历及医疗收费发票等)或其他有效证明;因出国探亲或出国(出境)留学的,出具出国签证、护照等相关证明材料;3、休学申请表(复学应提供原审核盖章的休学生、家长或监护人持材料向转入学校提出申请并审核盖章 转入学校 转出学校审核盖章 转入学校主管教育行政部门审核盖章 转出学校主管教育行政部门审核盖章 申请表一式四份分别交转入、转出学校及双方主管教育行政部门 学校审核盖章 学校主管教育行政部门审核盖章 学生、家长或监护人持材料提交申请表由班主任签注意见 申请表一式两份分别交学校及主管教育行政部门 行政部门各一份。 通过通过通过不通过不通过通过通过不通过学申请表).(3)泉州市洛江区中学学生申请退学流程 家长需提供的材料:1、书...

1、当您付费下载文档后,您只拥有了使用权限,并不意味着购买了版权,文档只能用于自身使用,不得用于其他商业用途(如 [转卖]进行直接盈利或[编辑后售卖]进行间接盈利)。
2、本站所有内容均由合作方或网友上传,本站不对文档的完整性、权威性及其观点立场正确性做任何保证或承诺!文档内容仅供研究参考,付费前请自行鉴别。
3、如文档内容存在违规,或者侵犯商业秘密、侵犯著作权等,请点击“违规举报”。

碎片内容

三设立中小学生社会实践基地审批流程-洛江教育

确认删除?
VIP
微信客服
  • 扫码咨询
会员Q群
  • 会员专属群点击这里加入QQ群
客服邮箱
回到顶部