电脑桌面
添加小米粒文库到电脑桌面
安装后可以在桌面快捷访问

中建施工组织设计管理规定

中建施工组织设计管理规定_第1页
1/6
中建施工组织设计管理规定_第2页
2/6
中建施工组织设计管理规定_第3页
3/6
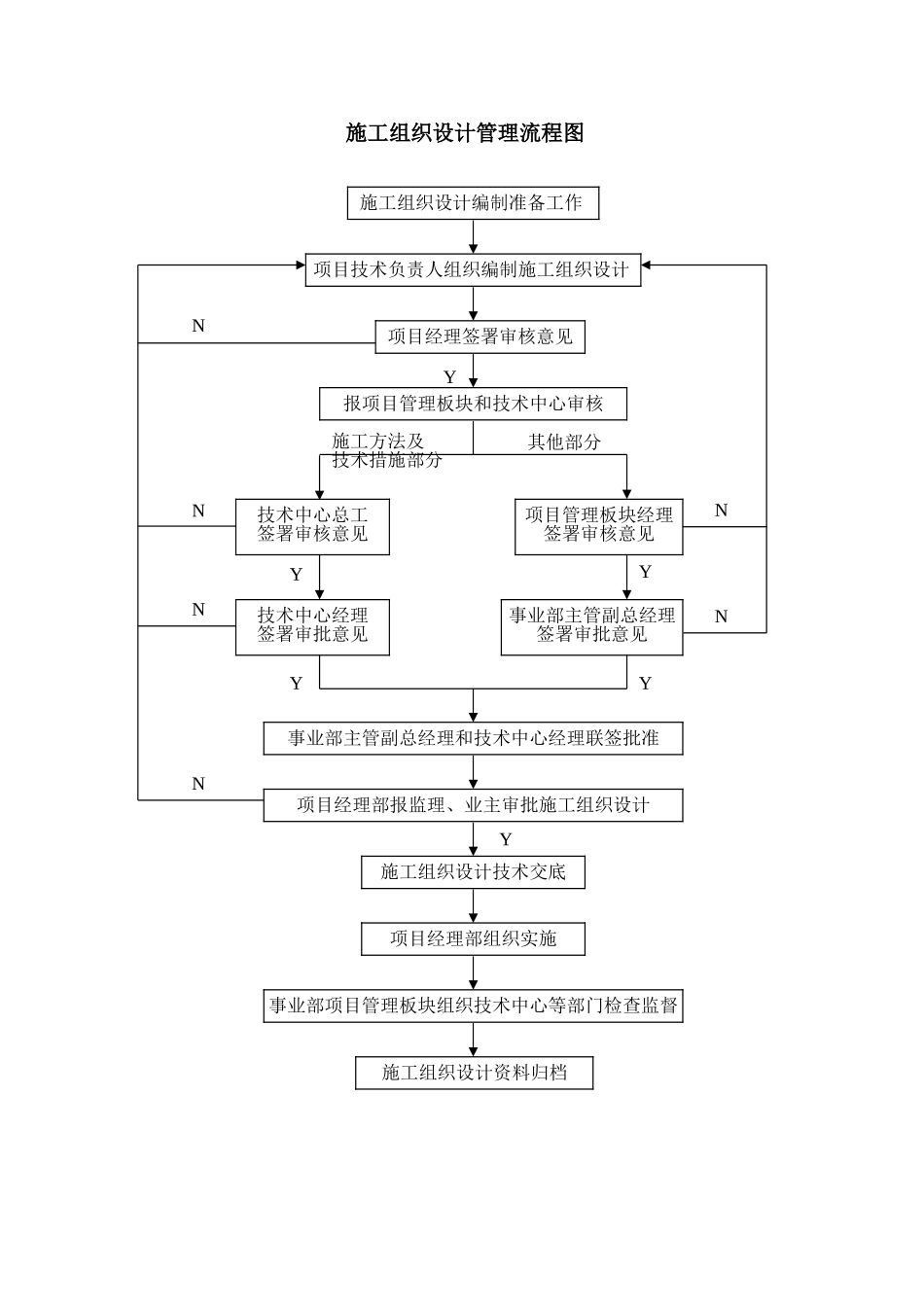
4中建国际建设公司施工组织设计(方案)管理规定4.1目的为法律规范公司施工组织设计(方案)管理工作,明确施工组织设计(方案)编制及审批程序,加强施工组织设计(方案)实施过程管理,特制定本管理规定.4.2定义4.2.1 施工组织总设计是以一个建设项目或建筑群体为编制对象,用以指导施工全过程各项活动的技术、经济的综合性文件,是整个工程建设项目施工的战略部署.4.2.2 单(项)位工程施工组织设计是以一个单一建筑项目或单体工程为编制对象,用以指导单(项)位工程各项活动的技术、经济的综合性文件,是单个工程项目施工的战略部署。4.2.3 施工方案是以一个分部或分项工程为编制对象,用以指导分部分项工程各项活动的技术、经济的综合性文件。4.3编制依据国家、建设行政主管部门及地方政府的有关法律、法规和规章;国家、行业及地方标准、法律规范、规程;公司质量、环境保护、职业健康安全管理手册及相关的管理规定.4.4适用范围主要适用于公司总部直营的国内房屋建筑工程,国外房屋建筑工程可参照本管理规定执行,同时应满足当地政府部门、业主或咨询公司的要求。基础设施项目施工组织设计的编制及审批流程按本规定执行,但其中技术中心的相关职责由基础设施事业部负责技术的相关板块承担.由于基础设施项目的特别性,基础设施项目施工组织设计的主要内容及编制格式由基础设施事业部另行发布。4.5施工组织设计(方案)管理流程图4.5.1 施工组织设计管理流程图(见第 2 页)4.5.2 施工方案管理流程图(见第 3 页)4.6施工组织设计的编制及审批4.6.1 施工组织设计编制的准备,项目经理及项目技术负责人负责项目施工组织设计编制前的组织工作,确定参加编制的人选、任务划分、完成时间以及编制要求等内容。项目技术负责人指导项目资料员具体收集编制施工组织设计所需法律规范、图集、手册等资料。其他需要准备的资料主要包括投标技术方案、投标技术方案交底、合同、施工图、地质勘察报告、设计交底及图纸会审文件等。4.6.2 施工组织设计的封面应统一格式,详见“施工组织设计封面样式”(附件1).NNNYYYYNNY其他部分施工方法及技术措施部分Y施工组织设计管理流程图施工组织设计编制准备工作项目技术负责人组织编制施工组织设计项目经理签署审核意见报项目管理板块和技术中心审核技术中心总工签署审核意见项目管理板块经理签署审核意见技术中心经理签署审批意见事业部主管副总经理签署审批意见事业部主管副总经理和技术中心经理联签批准N项目经理...

1、当您付费下载文档后,您只拥有了使用权限,并不意味着购买了版权,文档只能用于自身使用,不得用于其他商业用途(如 [转卖]进行直接盈利或[编辑后售卖]进行间接盈利)。
2、本站所有内容均由合作方或网友上传,本站不对文档的完整性、权威性及其观点立场正确性做任何保证或承诺!文档内容仅供研究参考,付费前请自行鉴别。
3、如文档内容存在违规,或者侵犯商业秘密、侵犯著作权等,请点击“违规举报”。

碎片内容

中建施工组织设计管理规定

您可能关注的文档

确认删除?
VIP
微信客服
  • 扫码咨询
会员Q群
  • 会员专属群点击这里加入QQ群
客服邮箱
回到顶部